+7 (701) 588 50 05 Телефон для связи
RU

WhatsApp

Позвонить

КОРПУСНЫЕ ДЕТАЛИ в Алматы

ЭЛЕМЕНТ МОЩНОСТИ ДЛЯ КОРПУСА

ЭЛЕМЕНТ МОЩНОСТИ ДЛЯ КОРПУСА

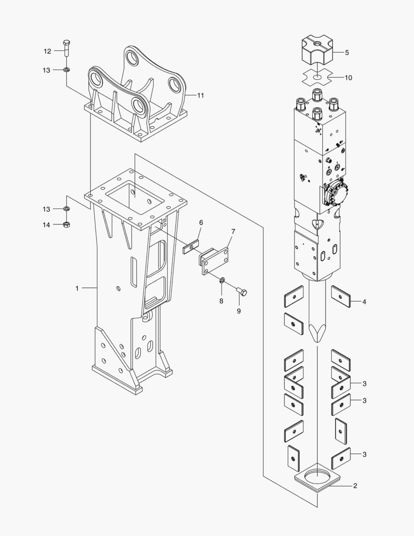
1Артикул: 230103-00109, BREAKER;POWER-CELL ASS`Y
2Артикул: 400323-00378, CYLINDER ASSY
3Артикул: 400323-00379, CYLINDER
Подробнее >
1110 HOUSING

1110 HOUSING

1Артикул: 110406-03382, BRACKET ASSY
2Артикул: 110406-03496, BRACKET
3Артикул: 180313-00253, DAMPER;LOWER
Подробнее >