+7 (701) 588 50 05 Телефон для связи
RU

WhatsApp

Позвонить

50 ОПЦИОННЫЕ ЗАПЧАСТИ в Алматы

АВАРИЙНОЕ РУЛЕВОЕ УПРАВЛЕНИЕ(ЭЛЕКТРИКА)

АВАРИЙНОЕ РУЛЕВОЕ УПРАВЛЕНИЕ(ЭЛЕКТРИКА)

1Артикул: K1001251, EMERGENCY STEERING(ELECTRIC)
2Артикул: 2549-9110, SWITCH;WASHER
3Артикул: 2190-2036D21, INSERT;EMG STEERING
Подробнее >
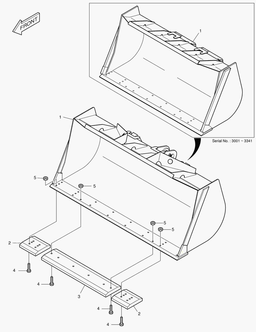
5130 BUCKET - 2.5mВі(EDGE)

5130 BUCKET - 2.5mВі(EDGE)

1Артикул: 704-00094B, BUCKET ASS`Y-FOR CUTTING EDGE
2Артикул: 704-00094C, BUCKET ASS`Y-FOR CUTTING EDGE
3Артикул: 230104-00556, BUCKET ASSY;2.5M3 CUTTING EDGE,2838MM
Подробнее >
5290 RADIATOR-TROPICAL [3290~]

5290 RADIATOR-TROPICAL [3290~]

1Артикул: 440211-00112, RADIATOR ASSY
2Артикул: 440211-00126, RADIATOR
3Артикул: 400206-00126, COOLER,HYDRAULIC OIL
Подробнее >
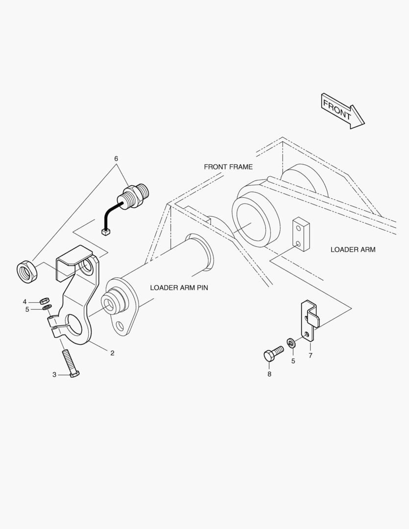
5190 EMERGENCY STEER PIPING [3001~3339]

5190 EMERGENCY STEER PIPING [3001~3339]

1Артикул: 400-01816A, EMERGENCY STEERING PIPING
2Артикул: 401-00129A, EMERGENCY DC MOTOR
3Артикул: S0512263, BOLT M10X1.5X30
Подробнее >
РУКОЯТЬ УДАРНАЯ В СБОРЕ

РУКОЯТЬ УДАРНАЯ В СБОРЕ

1Артикул: 715-00013, ARM FLOAT KICK OUT ASS`Y
2Артикул: 195-02348, BRACKET
3Артикул: S0558953, BOLT
Подробнее >
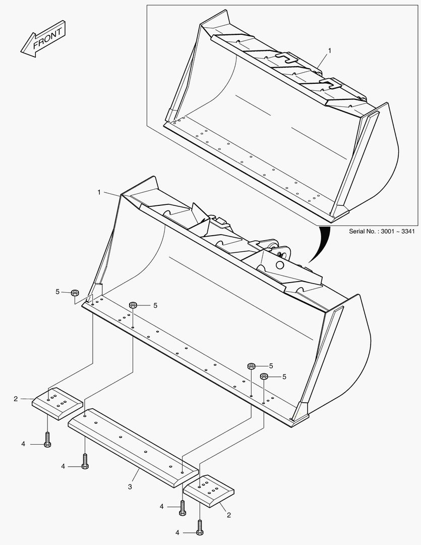
5120 BUCKET - 2.5mВі(TOOTH)

5120 BUCKET - 2.5mВі(TOOTH)

1Артикул: 704-00093B, BUCKET ASS`Y-FOR TOOTH
2Артикул: 704-00093C, BUCKET ASS`Y-FOR TOOTH
3Артикул: 230104-00555, BUCKET ASSY;2.5M3 TOOTH,2838MM
Подробнее >
5100 FUEL FILLER PUMP

5100 FUEL FILLER PUMP

1Артикул: 401-00283, FUEL PUMP ASS`Y
2Артикул: 2401-1277A, PUMP;FUEL
3Артикул: 2181-2755B, . ADAPTER
Подробнее >
5245 LOAD ISOLATION SYSTEM [3009~3016]

5245 LOAD ISOLATION SYSTEM [3009~3016]

1Артикул: K1007238, LIS PIPING
2Артикул: 460-00006A, ACCUMULATOR KIT
3Артикул: 4420-9446C, VALVE;SOLENOID
Подробнее >
5240 LOAD ISOLATION SYSTEM [3001~3016]

5240 LOAD ISOLATION SYSTEM [3001~3016]

1Артикул: 400-00659, LIS PIPING
2Артикул: 460-00006A, ACCUMULATOR KIT
3Артикул: 4420-9446C, VALVE;SOLENOID
Подробнее >
КОЛЕСА В СБОРЕ - ОПЦИЯ

КОЛЕСА В СБОРЕ - ОПЦИЯ

1Артикул: K1011720, WHEEL ASS`Y
2Артикул: K1011720A, WHEEL ASS`Y
3Артикул: 278-00106, RIM 17.0X25
Подробнее >
5110 WHEEL CHOCK

5110 WHEEL CHOCK

1Артикул: 542-00002, WHEEL CHOCK ASS`Y
2Артикул: 625-00175, LADDER(L.H)
3Артикул: 625-00176, LADDER(R.H)
Подробнее >
КОЛЕСА В СБОРЕ - ТРЕУГОЛЬНИК

КОЛЕСА В СБОРЕ - ТРЕУГОЛЬНИК

1Артикул: K1011156, WHEEL ASS`Y
2Артикул: 278-00106A, RIM;WHEEL
3Артикул: 2.422-00007, . VALVE
Подробнее >
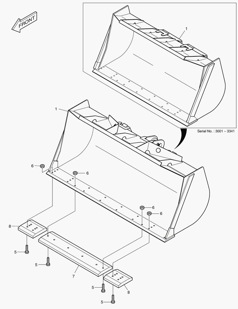
5170 BUCKET - 2.4гЋҐ(TOOTH) - REINFORCED

5170 BUCKET - 2.4гЋҐ(TOOTH) - REINFORCED

1Артикул: 704-00255A, BUCKET ASS`Y
2Артикул: 704-00255B, BUCKET ASS`Y
3Артикул: 230104-00559, BUCKET ASSY;2.4M3 TOOTH,2740MM
Подробнее >
5140 BUCKET - 2.7mВі(TOOTH)

5140 BUCKET - 2.7mВі(TOOTH)

1Артикул: 704-00103B, BUCKET ASS`Y
2Артикул: 704-00103C, BUCKET ASS`Y
3Артикул: 230104-00557, BUCKET ASSY;2.7M3 TOOTH,2838MM
Подробнее >
5180 BUCKET - 2.4гЋҐ(EDGE) - REINFORCED

5180 BUCKET - 2.4гЋҐ(EDGE) - REINFORCED

1Артикул: 704-00256A, BUCKET ASS`Y
2Артикул: 704-00256B, BUCKET ASS`Y
3Артикул: 230104-00560, BUCKET ASSY;2.4M3 CUTTING EDGE,2740MM
Подробнее >
5191 EMERGENCY STEER PIPING [3340~]

5191 EMERGENCY STEER PIPING [3340~]

1Артикул: 420212-01232, PIPING,EMERGENCY STEER
2Артикул: K1053898, PUMP ASSY,EMR STEERING
3Артикул: S0512263, BOLT M10X1.5X30
Подробнее >
5280 RADIATOR GRILL-TROPICAL [3290~]

5280 RADIATOR GRILL-TROPICAL [3290~]

1Артикул: 101524-00050, GRILL ASSY,RADIATOR
2Артикул: -, GRILL,RADIATOR
3Артикул: 195-02380, BRACKET
Подробнее >
УДАРНЫЕ (ЭЛЕКТРИКА)

УДАРНЫЕ (ЭЛЕКТРИКА)

1Артикул: 500-00046B, FLOAT KICK-OUT ASS`Y-OPT.
2Артикул: 2549-9098, SWITCH;ROCKER
3Артикул: K9000353, . LAMP;PILOT
Подробнее >
КОЛЕСА В СБОРЕ - ТРЕУГОЛЬНИК

КОЛЕСА В СБОРЕ - ТРЕУГОЛЬНИК

1Артикул: K1036605, WHEEL ASS`Y
2Артикул: 278-00106A, RIM;WHEEL
3Артикул: 2.422-00007, . VALVE
Подробнее >
5250 LIS ASS`Y(ELECTRIC) [3001~3016]

5250 LIS ASS`Y(ELECTRIC) [3001~3016]

1Артикул: 500-00270, LIS ASS`Y-ELECTRIC
2Артикул: 2549-9098, SWITCH;ROCKER
3Артикул: K9000353, . LAMP;PILOT
Подробнее >
5230 ROTATING BEACON

5230 ROTATING BEACON

1Артикул: 534-00118, ROTATING BEACON ASS`Y
2Артикул: 2549-9098, SWITCH;ROCKER
3Артикул: K9000353, . LAMP;PILOT
Подробнее >
5150 BUCKET - 2.7mВі(EDGE)

5150 BUCKET - 2.7mВі(EDGE)

1Артикул: 704-00104B, BUCKET ASS`Y
2Артикул: 704-00104C, BUCKET ASS`Y
3Артикул: 230104-00558, BUCKET ASSY;2.7M3 CUTTING EDGE,2838MM
Подробнее >
5160 BUCKET - 2.4гЋҐ(EDGE)

5160 BUCKET - 2.4гЋҐ(EDGE)

1Артикул: 4704-1418F2A, BUCKET ASS`Y
2Артикул: 4704-1418F2B, BUCKET ASS`Y
3Артикул: 230104-00554, BUCKET ASSY;2.4M3 CUTTING EDGE,2740MM
Подробнее >