+7 (701) 588 50 05 Телефон для связи
RU

WhatsApp

Позвонить

АКСЕСCУАРЫ И ОПЦИИ в Алматы

КОМПЛЕКТ СИГНАЛИЗАТОРА ДВИЖЕНИЯ

КОМПЛЕКТ СИГНАЛИЗАТОРА ДВИЖЕНИЯ

1Артикул: 7133271, KIT, ALARM MOTION W/Ref. 2-11
2Артикул: 6610510, TIE
3Артикул: 6691111, ALARM
Подробнее >
ПРЕДУПРЕЖДАЮЩИЕ ТАБЛИЧКИ (ESA БЕЗ ТЕКСТА)

ПРЕДУПРЕЖДАЮЩИЕ ТАБЛИЧКИ (ESA БЕЗ ТЕКСТА)

1Артикул: 6713507, DECAL stay clear
2Артикул: 7158256, DECAL SERVICE Was 7151798 - A
3Артикул: 7117748, DECAL sound power
Подробнее >
ОБОГРЕВАТЕЛЬ (КОМПЛЕКТ ОБОГРЕВАТЕЛЯ)

ОБОГРЕВАТЕЛЬ (КОМПЛЕКТ ОБОГРЕВАТЕЛЯ)

1Артикул: 7136653, HEATER KIT Ref. 2-31
2Артикул: 6675176, SWITCH blower
3Артикул: 6675177, KNOB
Подробнее >
КОМПЛЕКТ ВСПОМ. СОЕДИНИТЕЛЬНЫХ МУФТ

КОМПЛЕКТ ВСПОМ. СОЕДИНИТЕЛЬНЫХ МУФТ

1Артикул: 7126596, KIT, AUX COUPLER Ref. 2-4 & 6
2Артикул: 7246777, COUPLER, FF MALE See BTI433exc - straight - Was 6674688 - A
3Артикул: 7246790, COUPLER, FF FEMALE See BTI433exc - straight - Was 6672960 - A
Подробнее >
ГУСЕНИЦЫ (ИЗ СТАЛИ)

ГУСЕНИЦЫ (ИЗ СТАЛИ)

1Артикул: TRACK, TRACK NLA - Berco - cast steel link track assy - Order track 7009150 - W/Ref. 2-4 - P/N is for 1 track - Was 6684245 - A
2Артикул: 6693493, TRACK, STEEL welded steel link track assy - W/Ref. 2-4 - P/N is for 1 track
3Артикул: 6677821, PAD for cast steel link track assy - quantity shown for 1 track
Подробнее >
КОМПЛЕКТ СТРОБОСКОПОВ

КОМПЛЕКТ СТРОБОСКОПОВ

1Артикул: 7105013, KIT W/Ref. 2-9
2Артикул: 6665317, SWITCH
3Артикул: 7241140, LIGHT, STROBE 4200 Series Light - Was 7219903 - A
Подробнее >
СМЕННЫЙ (КОНТАКТ ВХОДА)

СМЕННЫЙ (КОНТАКТ ВХОДА)

1Артикул: 7105177, KIT See Illustration BUCKET LINK & X-CHANGE/ PE3572 - Was SALES - D
2Артикул: 7130247, PIN
3Артикул: 6560382, PIN, LOCK
Подробнее >
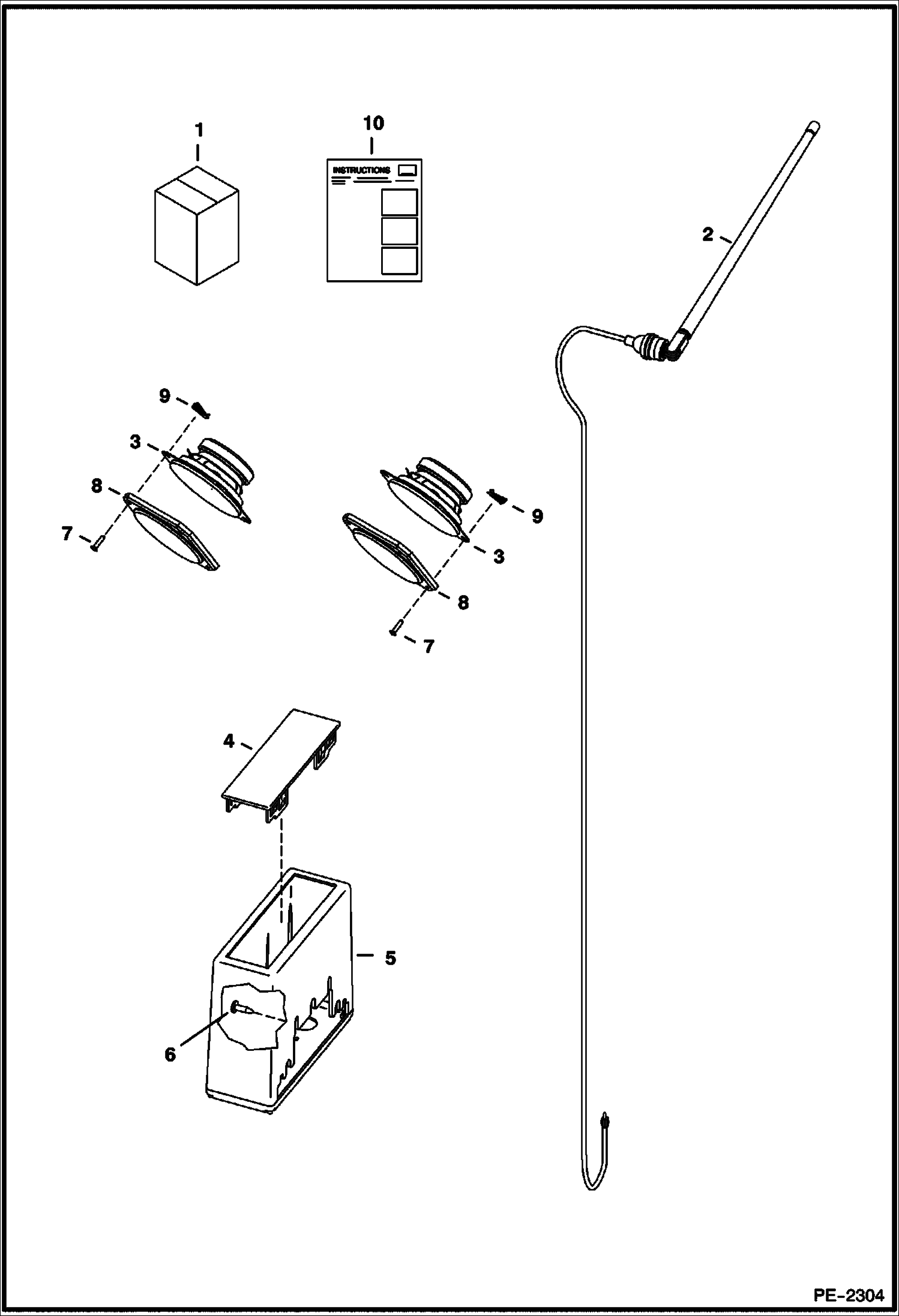
КОМПЛЕКТ ДЛЯ УСТАНОВКИ РАДИО

КОМПЛЕКТ ДЛЯ УСТАНОВКИ РАДИО

1Артикул: 7126595, KIT, RADIO READY Ref. 2-6, & 10
2Артикул: 6676114, ANTENNA, RADIO
3Артикул: 6903211, SPEAKER, 4 INCH
Подробнее >
КОМПЛЕКТ ГУСЕНИЦ (ИЗ СТАЛИ)

КОМПЛЕКТ ГУСЕНИЦ (ИЗ СТАЛИ)

1Артикул: KIT,, KIT, TRACK STEEL NLA - Order 6810893 and (2) 7145074 track tensioners - Ref. 3-9 - Was 6810893 - A
2Артикул: 6810893, KIT, TRACK STEEL Ref. 2-8 - Also Order (2) 7145074 track tensioners
3Артикул: 7164410, SPACER
Подробнее >
КОМПЛЕКТ РЕМНЕЙ БЕЗОПАСНОСТИ (3 ДЮЙМА)

КОМПЛЕКТ РЕМНЕЙ БЕЗОПАСНОСТИ (3 ДЮЙМА)

1Артикул: 7102902, KIT Ref. 2-8 - 76,2 mm (3--) wide
2Артикул: 7221147, SEAT BELT 3 INCH 76,2 mm (3--) wide - Was 6685747 - A
3Артикул: 7102065, BRACKET
Подробнее >
КОМПЛЕКТ УСТРОЙСТВ ЗАЖИГАНИЯ БЕЗ КЛЮЧА

КОМПЛЕКТ УСТРОЙСТВ ЗАЖИГАНИЯ БЕЗ КЛЮЧА

1Артикул: 6809469, KIT Ref. 2-6
2Артикул: 6610510, TIE
3Артикул: 6691431, CONTROLLER, KEYLESS PANEL See BTI395exc
Подробнее >
КОМПЛЕКТ КРЫШ НАД СИДЕНЬЕМ ВОДИТЕЛЯ

КОМПЛЕКТ КРЫШ НАД СИДЕНЬЕМ ВОДИТЕЛЯ

1Артикул: CANOPY, CANOPY KIT NLA - Order components
2Артикул: 6807776, DECAL warning - text
3Артикул: 7120576, DECAL warning - ESA No-text
Подробнее >
ЕВРОПЕЙСКОЕ ДОПОЛНИТЕЛЬНОЕ ОБОРУДОВАНИЕ (КОМПЛЕКТ БЫСТРОСМЕННЫХ МУФТ)

ЕВРОПЕЙСКОЕ ДОПОЛНИТЕЛЬНОЕ ОБОРУДОВАНИЕ (КОМПЛЕКТ БЫСТРОСМЕННЫХ МУФТ)

1Артикул: KIT,, KIT, QUICK COUPLER W/Ref. 2-15, SALES #7139695
2Артикул: 7020783, SPRING
3Артикул: 6692788, LOCKING PLATE
Подробнее >
ДОПОЛНИТЕЛЬНЫЙ ВСПОМОГАТЕЛЬНЫЙ КЛАПАН

ДОПОЛНИТЕЛЬНЫЙ ВСПОМОГАТЕЛЬНЫЙ КЛАПАН

1Артикул: 6679888, VALVE ASSY Ref. 2-16
2Артикул: BLOCK, BLOCK NSS
3Артикул: 6680957, VALVE solenoid
Подробнее >
ОБОГРЕВАТЕЛЬ (ЯЩИК ОБОГРЕВАТЕЛЯ)

ОБОГРЕВАТЕЛЬ (ЯЩИК ОБОГРЕВАТЕЛЯ)

1Артикул: 7135616, HEATER BOX (W/front access filter) - W/Ref. 2-28
2Артикул: 6691529, HARNESS not shown
3Артикул: 6691523, BLOWER
Подробнее >
НАКЛЕКИ (ВНУТРЕННИЕ)

НАКЛЕКИ (ВНУТРЕННИЕ)

1Артикул: 6904898, DECAL KIT See Illustration DECALS/ B26694 includes Ref. 2-23 & 25 - Also includes Ref. 2-8, 10, 12-19, 21-25, 28 & 29 on this page
2Артикул: 7126594AR, KIT, DECAL
3Артикул: 7126594BR, KIT, DECAL
Подробнее >
КОМПЛЕКТ ДЛЯ ОСОБОГО ПРИМЕНЕНИЯ (КРЫША НАД СИДЕНЬЕМ ВОДИТЕЛЯ)

КОМПЛЕКТ ДЛЯ ОСОБОГО ПРИМЕНЕНИЯ (КРЫША НАД СИДЕНЬЕМ ВОДИТЕЛЯ)

1Артикул: 7120050, KIT SPCL APPS CANOPY Ref. 2-14
2Артикул: 6808924, HINGE
3Артикул: 6808926, PIN
Подробнее >
ДОПОЛНИТЕЛЬНЫЙ КОМПЛЕКТ УДЛИНИТЕЛЕЙ

ДОПОЛНИТЕЛЬНЫЙ КОМПЛЕКТ УДЛИНИТЕЛЕЙ

1Артикул: 7111149, KIT *SALES ITEM* NLA - Ref. 2-44 - Order Components - Was 7111149 - A
2Артикул: 6586391, GUIDE weld-on
3Артикул: 6592506, CLAMP hyd tube
Подробнее >
КОМПЛЕКТ МАЯЧКОВ

КОМПЛЕКТ МАЯЧКОВ

1Артикул: 7105014, KIT beacon - W/Ref. 2-5
2Артикул: 6665317, SWITCH
3Артикул: 6675523, BEACON
Подробнее >
ВЕРХНЯЯ ЧАСТЬ БЛОКА ДВИГАТЕЛЯ

ВЕРХНЯЯ ЧАСТЬ БЛОКА ДВИГАТЕЛЯ

1Артикул: KIT,, KIT, HEATER BLOCK ENG NLA - Order Ref. 2 & 4
2Артикул: 6720736, HEATER, BLOCK ENG PLUG SOFT W/NLA O-ring, Ref. 3 & 5
3Артикул: O-ring, O-ring NLA - Order Ref. 4
Подробнее >
ОБОГРЕВАТЕЛЬ (ТРУБОПРОВОД)

ОБОГРЕВАТЕЛЬ (ТРУБОПРОВОД)

1Артикул: 6687777, DUCT heater/HVAC - Ref. 3-8
2Артикул: 6680976, DUCT crossmember - HVAC only
3Артикул: DUCT, DUCT NLA - Order Ref. 1
Подробнее >
КРУПНОГАБАРИТНЫЕ ПРЕДМЕТЫ (СМОТРИТЕ ПРИМЕЧАНИЕ)

КРУПНОГАБАРИТНЫЕ ПРЕДМЕТЫ (СМОТРИТЕ ПРИМЕЧАНИЕ)

1Артикул: 6902228, PAINT, ORANGE SPRAY CAN 6 original shade
2Артикул: 7305844, PAINT ORANGE SPRAY CAN 6 updated shade
3Артикул: 7251690, PAINT, ORANGE SPRAY CAN 6 original shade - EMEA
Подробнее >
КОМПЛЕКТ ДЛЯ ОСОБОГО ПРИМЕНЕНИЯ (КАБИНА)

КОМПЛЕКТ ДЛЯ ОСОБОГО ПРИМЕНЕНИЯ (КАБИНА)

1Артикул: 7120682, KIT SPCL AP CAB Ref. 2-15
2Артикул: 6808924, HINGE
3Артикул: 6808926, PIN
Подробнее >
НАКЛЕЙКИ НАРУЖНИЕ

НАКЛЕЙКИ НАРУЖНИЕ

1Артикул: DECAL,, DECAL, WARNING NLA - high pressure grease - Order Ref. 2 - Was 6804114 - A
2Артикул: 7168039, DECAL, WARNING high pressure grease
Подробнее >
КОМПЛЕКТ ВЕРХНЕЙ ЗАЩИТЫ

КОМПЛЕКТ ВЕРХНЕЙ ЗАЩИТЫ

1Артикул: 7120683, TOP GUARD KIT Ref. 2-9
2Артикул: TRIM, TRIM NLA - 6.3-- (160 mm) long - Order Ref. 10
3Артикул: 15EM100, WASHER
Подробнее >
НАБОР ДЛЯ ЗАЩИТЫ ОТ СОЛНЦА (ОКНА)

НАБОР ДЛЯ ЗАЩИТЫ ОТ СОЛНЦА (ОКНА)

1Артикул: 6817568, KIT
2Артикул: 6683889, SHIELD solar film
3Артикул: 6902534, INSTRUCTIONS
Подробнее >
ОЧИСТНОЕ УСТРОЙСТВО

ОЧИСТНОЕ УСТРОЙСТВО

1Артикул: 6678725, MUFFLER, PURIFIER
Подробнее >
КОМЛЕКТ КАБИНЫ

КОМЛЕКТ КАБИНЫ

1Артикул: KIT, KIT CAB NLA - Order components - Was 7103480 - A
2Артикул: WASHER, WASHER NLA - kit - Order 6666767 nozzle, 6691499 tank assy, 6664557 bracket, & 5 feet of 6708310 bulk hose - Was 6664438 - A
3Артикул: 6589675, SCREW
Подробнее >
ПРЯМОЙ КОМПЛЕКТ БАКОВ

ПРЯМОЙ КОМПЛЕКТ БАКОВ

1Артикул: 7131026, KIT DIR TO TANK KIT W/Ref. 2-21
2Артикул: 15KB1012, FITTING, HYD CONNECTOR W/Ref. 14
3Артикул: 17KB1012, FITTING, HYD ELBOW W/Ref. 14
Подробнее >
ГУСЕНИЦЫ РЕЗИНОВЫЕ

ГУСЕНИЦЫ РЕЗИНОВЫЕ

1Артикул: 6692958, TRACK, RUBBER (320X80X52.5) 12-- BOBCAT factory option
2Артикул: 6672774, TRACK, RUBBER (320X80X52.5) 12-- BOBCAT factory option
3Артикул: 6988831EF, TRACK, RBR(300X80X52.5) 12IN EF Was 6988831 - A
Подробнее >