+7 (701) 588 50 05 Телефон для связи
RU

WhatsApp

Позвонить

АКСЕСCУАРЫ И ОПЦИИ в Алматы

СИГНАЛЬНЫЙ МАЯЧОК

СИГНАЛЬНЫЙ МАЯЧОК

1Артикул: 7168492, BEACON, FLASHER
2Артикул: 7022422, BULB, BEACON
3Артикул: 7168493, HOLDER
Подробнее >
КОНДИЦИОНИРОВАНИЕ ВОЗДУХА (ПАНЕЛЬ)

КОНДИЦИОНИРОВАНИЕ ВОЗДУХА (ПАНЕЛЬ)

1Артикул: 7147197, PANEL, A/C Ref. 2-10
2Артикул: 6675176, SWITCH
3Артикул: 7015436, JAM NUT
Подробнее >
СТЕКЛООЧИСТИТЕЛЬ, УСТАНОВЛЕННЫЙ НА КРЫШЕ

СТЕКЛООЧИСТИТЕЛЬ, УСТАНОВЛЕННЫЙ НА КРЫШЕ

1Артикул: 7146828, MOTOR, WIPER
2Артикул: 7146925, NOZZLE
3Артикул: 7146932, ARM, WIPER
Подробнее >
УСТРОЙСТВА СЦЕПКИ (ОСНОВНОЕ)

УСТРОЙСТВА СЦЕПКИ (ОСНОВНОЕ)

1Артикул: 7268059, HITCH, TOW BASIC
2Артикул: 7268063, PIN
3Артикул: 7190424, PIN
Подробнее >
ДИАГРАММА РАСПРЕДЕЛЕНИЯ НАГРУЗКИ

ДИАГРАММА РАСПРЕДЕЛЕНИЯ НАГРУЗКИ

1Артикул: 7196224, CABLE
2Артикул: 7201056, CHART, LOAD FORKS Michelin 400/80-24, Dunlop 400/80-24, Dunlop 405/70R24
3Артикул: 7201059, CHART, LOAD FORKS Michelin 460/70R24, Michelin 500/70R24, Nokian 460/65R24
Подробнее >
КОНДИЦИОНИРОВАНИЕ ВОЗДУХА (УЗЕЛ)

КОНДИЦИОНИРОВАНИЕ ВОЗДУХА (УЗЕЛ)

1Артикул: 7147026, AIRCONDITIONING Ref. 2-42
2Артикул: 7022151, COIL, EVAPORATOR
3Артикул: 7022125, COIL, HEATER
Подробнее >
МЕСТО ОПЕРАТОРА (МЕХАНИЧЕСКАЯ СИСТЕМА ПОДВЕСКИ) (С ДАТЧИКОМ) (ПОДВЕСКА В СБОРЕ)

МЕСТО ОПЕРАТОРА (МЕХАНИЧЕСКАЯ СИСТЕМА ПОДВЕСКИ) (С ДАТЧИКОМ) (ПОДВЕСКА В СБОРЕ)

1Артикул: 7022573, SUSPENSION Ref. 2-16
2Артикул: 7022579, LEVER
3Артикул: 7022580, HANDWHEEL
Подробнее >
УЗЕЛ СИДЕНИЯ (ПНЕВМАТИЧЕСКАЯ ПОДВЕСКА) (СПУСК)

УЗЕЛ СИДЕНИЯ (ПНЕВМАТИЧЕСКАЯ ПОДВЕСКА) (СПУСК)

1Артикул: SEAT,, SEAT, AIR SUSPENSION See Illustration SUSPENSION SEAT/ EM9143 - NLA - Ref. 2-12 - Was 7192717 - A
2Артикул: 7022107, SUSPENSION ASSY See Illustration SUSPENSION SEAT/ NA10908
3Артикул: 7022108, BOLT
Подробнее >
ГЛАВНЫЙ ЖГУТ ПРОВОДОВ ACD (СТРЕЛА)

ГЛАВНЫЙ ЖГУТ ПРОВОДОВ ACD (СТРЕЛА)

1Артикул: 6678668, STRAP, DUAL TIE
2Артикул: 6678669, STRAP
3Артикул: 6681567, GROMMET
Подробнее >
СХЕМА ГИДРАВЛИЧЕСКОЙ СИСТЕМЫ (АККУМУЛЯТОР) (ИТАЛИЯ)

СХЕМА ГИДРАВЛИЧЕСКОЙ СИСТЕМЫ (АККУМУЛЯТОР) (ИТАЛИЯ)

1Артикул: ACCUMULATOR,, ACCUMULATOR, HYD NLA - Order 7283242 accumulator & 7283248 clamp - Was 7162916 - A
2Артикул: ACCUMULATOR,, ACCUMULATOR, HYDRAULIC NLA - Order 7286685 accumulator - Was 7283242 - A
3Артикул: ACCUMULATOR,, ACCUMULATOR, HYDRAULIC NLA - Order 7162916 accumulator & 7170534 clamp - Was 7286685 - A
Подробнее >
УЗЕЛ СИДЕНИЯ (МЕХАНИЧЕСКАЯ СИСТЕМА ПОДВЕСКИ) (GRAMMER)

УЗЕЛ СИДЕНИЯ (МЕХАНИЧЕСКАЯ СИСТЕМА ПОДВЕСКИ) (GRAMMER)

1Артикул: SEAT, SEAT ASSY NLA - Ref. 2-32 - Was 7192726 - D
2Артикул: 97142.4, Seat Cushion
3Артикул: 7024114, SCREW
Подробнее >
СИДЕНЬЕ ВОДИТЕЛЯ (МЕХАНИЧЕСКАЯ СИСТЕМА ПОДВЕСКИ) (С ДАТЧИКОМ) (УЗЕЛ)

СИДЕНЬЕ ВОДИТЕЛЯ (МЕХАНИЧЕСКАЯ СИСТЕМА ПОДВЕСКИ) (С ДАТЧИКОМ) (УЗЕЛ)

1Артикул: SEAT, SEAT MEC AMA W/O LOGO NLA - Ref. 2-7 - W/O sensor - Order 7236461 seat - Was 7218933 - A
2Артикул: 7236461, SEAT ASSY Ref. 2-9 - W/sensor
3Артикул: 7022572, BACKREST
Подробнее >
УЗЕЛ СИДЕНИЯ (МЕХАНИЧЕСКАЯ СИСТЕМА ПОДВЕСКИ) (KAB)

УЗЕЛ СИДЕНИЯ (МЕХАНИЧЕСКАЯ СИСТЕМА ПОДВЕСКИ) (KAB)

1Артикул: 7172516, SEAT, MECA KAB Ref. 2-18 - Was 7192726 - D
2Артикул: 7021064, COVER, BACK
3Артикул: 7021065, COVER, SEAT
Подробнее >
МОНТАЖНЫЙ КОМПЛЕКТ ЩЕТКИ СТЕКЛООЧИСТИТЕЛЯ

МОНТАЖНЫЙ КОМПЛЕКТ ЩЕТКИ СТЕКЛООЧИСТИТЕЛЯ

1Артикул: 7236984, KIT, WINDSHIELD Ref. 2-5 - Was 7236983 - D
2Артикул: 7236981, ARM, WIPER
3Артикул: 7236982, BLADE, WIPER
Подробнее >
УСТРОЙСТВА СЦЕПКИ (SAMBRON)

УСТРОЙСТВА СЦЕПКИ (SAMBRON)

1Артикул: 7169633, HITCH, SAMBRON
2Артикул: 7176576, PIN, HITCH
3Артикул: 15EM200, WASHERS
Подробнее >
СИДЕНИЕ С ПОДВЕСКОЙ (ПНЕВМАТИЧЕСКАЯ ПОДВЕСКА) (СПУСК)

СИДЕНИЕ С ПОДВЕСКОЙ (ПНЕВМАТИЧЕСКАЯ ПОДВЕСКА) (СПУСК)

1Артикул: 7022107, SUSPENSION ASSY Ref. 2-40
2Артикул: HOUSING, HOUSING NSS - lower
3Артикул: HOUSING,, HOUSING, UPPER NSS
Подробнее >
ЗАДНЯЯ РОЗЕТКА

ЗАДНЯЯ РОЗЕТКА

1Артикул: 7168809, PLUG
2Артикул: 43DM5, NUT
3Артикул: 6GM535, SCREW
Подробнее >
КОМПЛЕКТ ДЕТАЛЕЙ ЗАДНЕГО СТЕКЛА

КОМПЛЕКТ ДЕТАЛЕЙ ЗАДНЕГО СТЕКЛА

1Артикул: KIT,, KIT, COMPLETE REAR WINDOW NLA - Ref. 2-4 & 21 - Order components
2Артикул: 7209576, KIT, REAR WINDOW Ref. 5-20
3Артикул: 7197620, DECAL, BOBCAT
Подробнее >
ЯЩИК ДЛЯ ИНСТРУМЕНТОВ

ЯЩИК ДЛЯ ИНСТРУМЕНТОВ

1Артикул: 51DM10, NUT
2Артикул: 17EM100, WASHER
3Артикул: 29CM1030, BOLT
Подробнее >
СХЕМА ГИДРАВЛИЧЕСКОЙ СИСТЕМЫ (ЗАДНИЙ ГИДРАВЛИЧЕСКИЙ КРЮК) (ЗАПАСНЫЕ ЧАСТИ 1)

СХЕМА ГИДРАВЛИЧЕСКОЙ СИСТЕМЫ (ЗАДНИЙ ГИДРАВЛИЧЕСКИЙ КРЮК) (ЗАПАСНЫЕ ЧАСТИ 1)

1Артикул: 6624289, STRAP, TIE
2Артикул: 7156110, HOSE, HYD
3Артикул: 7156121, HOSE, HYD
Подробнее >
КОЛЕСА

КОЛЕСА

1Артикул: 7192607, VALVE
2Артикул: WHEEL, WHEEL ASSY, RH NLA - 20-- - RH - Ref. 1, 8 & 10 (NLA / 7192647 tire) - Order (2) of 7225834 wheel & (2) of 7225832 wheel - Was 7192619-O - A
3Артикул: 7225834-O, WHEEL ASSY, RH 20-- - RH - Ref. 1, 8 & 10 (7225564 tire)
Подробнее >
УСТРОЙСТВА СЦЕПКИ (ФРОНТАЛЬНЫЕ)

УСТРОЙСТВА СЦЕПКИ (ФРОНТАЛЬНЫЕ)

1Артикул: 7176576, PIN, HITCH
2Артикул: 7190936, HITCH Was 7160936 - B,D
3Артикул: 7200988, PLATE, THREAD
Подробнее >
ЗВУКОВАЯ СИСТЕМА

ЗВУКОВАЯ СИСТЕМА

1Артикул: 7146778, SPEAKER
2Артикул: 7146779, GRID, SPEAKER W/Ref. 5
3Артикул: 7146781, ANTENNA
Подробнее >
СЕТКА ДЛЯ ХРАНЕНИЯ (РУКОВОДСТВО ПО ЭКСПЛУАТАЦИИ)

СЕТКА ДЛЯ ХРАНЕНИЯ (РУКОВОДСТВО ПО ЭКСПЛУАТАЦИИ)

1Артикул: 7193037, NET, MANUAL
2Артикул: 23GM420, SCREW
Подробнее >
СИДЕНЬЕ (ПНЕВМАТИЧЕСКАЯ ПОДВЕСКА) (СПУСК)

СИДЕНЬЕ (ПНЕВМАТИЧЕСКАЯ ПОДВЕСКА) (СПУСК)

1Артикул: SEAT,, SEAT, AIR SUSPENSION See Illustration SEAT ASSY/ EM8855 - NLA - Order 7236462 seat - Was 7192717 - A
2Артикул: 7236462, SEAT ASSY See Illustration SUSPENSION SEAT/ EM9143
3Артикул: 7192724, PLATE
Подробнее >
КОНДИЦИОНИРОВАНИЕ ВОЗДУХА (ДВИГАТЕЛЬ)

КОНДИЦИОНИРОВАНИЕ ВОЗДУХА (ДВИГАТЕЛЬ)

1Артикул: 666867, NIPPLE
2Артикул: 6678668, STRAP, DUAL TIE
3Артикул: 6678669, STRAP
Подробнее >
ЗАДНИЙ ГИДРАВЛИЧЕСКИЙ КРЮК

ЗАДНИЙ ГИДРАВЛИЧЕСКИЙ КРЮК

1Артикул: 7196064, HYDRAULIC HOOK, DROMONE Ref. 2-8
2Артикул: 7022653, FRAME ASSY
3Артикул: 7012307, LATCH ASSEMBLY
Подробнее >
АВАРИЙНЫЙ МОЛОТОК БЕЗОПАСНОСТИ

АВАРИЙНЫЙ МОЛОТОК БЕЗОПАСНОСТИ

1Артикул: 7181511, HAMMER, SAFETY W/Ref. 2
2Артикул: HOLDER,, HOLDER, TOOL NSS
3Артикул: 7209729, SCREW Was 58G410 - A
Подробнее >
ОГРАНИЧИТЕЛЬ ПОДЪЕМА СТРЕЛЫ

ОГРАНИЧИТЕЛЬ ПОДЪЕМА СТРЕЛЫ

1Артикул: 7178287, HOLDER, BOOM STOP
2Артикул: 7178288, STOP, BOOM
3Артикул: CHAIN, CHAIN NLA - 209 mm (8.21--) long - Order Ref. 9 - Was 7201077 - A
Подробнее >
УСТРОЙСТВА СЦЕПКИ (CRAMER)

УСТРОЙСТВА СЦЕПКИ (CRAMER)

1Артикул: 7169634, HITCH, CRAMER W/Ref. 7
2Артикул: 7170012, PLATE
3Артикул: 1CM20120, BOLT
Подробнее >
ЦИЛИНДР РАЗДВИЖНОЙ РУКОЯТИ (БЕЗ ЗАДНЕГО ГИДРАВЛИЧЕСКОГО КРЮКА)

ЦИЛИНДР РАЗДВИЖНОЙ РУКОЯТИ (БЕЗ ЗАДНЕГО ГИДРАВЛИЧЕСКОГО КРЮКА)

1Артикул: 7175124, LIGHT
2Артикул: 7022665, BULB, R10W 12V
3Артикул: 43DM5, NUT
Подробнее >
СИДЕНЬЕ (МЕХАНИЧЕСКАЯ СИСТЕМА ПОДВЕСКИ) (GRAMMER)

СИДЕНЬЕ (МЕХАНИЧЕСКАЯ СИСТЕМА ПОДВЕСКИ) (GRAMMER)

1Артикул: 7190698, PLATE, SEAT
2Артикул: SEAT, SEAT ASSY See Illustration SEAT ASSY/ EM9248 NLA - Was 7192726 - D
3Артикул: 7192725, PLUG, PLASTIC
Подробнее >
ЦИЛИНДР РАЗДВИЖНОЙ РУКОЯТИ (С ЗАДНИМ ГИДРАВЛИЧЕСКИМ КРЮКОМ)

ЦИЛИНДР РАЗДВИЖНОЙ РУКОЯТИ (С ЗАДНИМ ГИДРАВЛИЧЕСКИМ КРЮКОМ)

1Артикул: 43DM5, NUT
2Артикул: 7192089, PLATE
3Артикул: 7175124, LIGHT
Подробнее >
УЗЕЛ СИДЕНИЯ (ПНЕВМАТИЧЕСКАЯ ПОДВЕСКА С ДАТЧИКОМ) (СПУСК)

УЗЕЛ СИДЕНИЯ (ПНЕВМАТИЧЕСКАЯ ПОДВЕСКА С ДАТЧИКОМ) (СПУСК)

1Артикул: 7236462, SEAT ASSY Ref. 2-20
2Артикул: 7024133, CUSHION, SEAT
3Артикул: 7024134, BELT, SEAT W/Ref. 9 & 15
Подробнее >
ЦИКЛОНИЧЕСКИЙ ФИЛЬТР ПРЕДВАРИТЕЛЬНОЙ ОЧИСТКИ

ЦИКЛОНИЧЕСКИЙ ФИЛЬТР ПРЕДВАРИТЕЛЬНОЙ ОЧИСТКИ

1Артикул: 7179400, INLET
2Артикул: WASHER, WASHER NLA - Order Ref. 3 - Was 7191618 - A
3Артикул: 7307165, WASHER RUBBER
Подробнее >
СХЕМА ГИДРАВЛИЧЕСКОЙ СИСТЕМЫ (ЗАДНИЙ ГИДРАВЛИЧЕСКИЙ КРЮК) (ЗАПАСНЫЕ ЧАСТИ 2)

СХЕМА ГИДРАВЛИЧЕСКОЙ СИСТЕМЫ (ЗАДНИЙ ГИДРАВЛИЧЕСКИЙ КРЮК) (ЗАПАСНЫЕ ЧАСТИ 2)

1Артикул: 6624289, STRAP, TIE
2Артикул: 6687192, VALVE DIVERTER See Illustration DIVERTER VALVE/ EM9513
3Артикул: 7161391, HOSE, HYD
Подробнее >
КОНТЕЙНЕР (РУКОВОДСТВО ПО ЭКСПЛУАТАЦИИ)

КОНТЕЙНЕР (РУКОВОДСТВО ПО ЭКСПЛУАТАЦИИ)

1Артикул: 6702642, SCREW
2Артикул: 6708827, CONTAINER
3Артикул: 7181528, PLATE
Подробнее >
ЗЕРКАЛО ЗАДНЕГО ВИДА

ЗЕРКАЛО ЗАДНЕГО ВИДА

1Артикул: 7179621, ROD
2Артикул: 7179623, SLEEVE
3Артикул: 7179624, PLATE, COVER
Подробнее >
СХЕМА ГИДРАВЛИЧЕСКОЙ СИСТЕМЫ (С ВСПОМОГАТЕЛЬНЫМ ОБОРУДОВАНИЕМ)

СХЕМА ГИДРАВЛИЧЕСКОЙ СИСТЕМЫ (С ВСПОМОГАТЕЛЬНЫМ ОБОРУДОВАНИЕМ)

1Артикул: 6624289, STRAP, TIE
2Артикул: 7248542, HOSE, HYD Was 7156108 - A
3Артикул: 7156110, HOSE, HYD
Подробнее >
СИДЕНЬЕ (МЕХАНИЧЕСКАЯ СИСТЕМА ПОДВЕСКИ) (KAB)

СИДЕНЬЕ (МЕХАНИЧЕСКАЯ СИСТЕМА ПОДВЕСКИ) (KAB)

1Артикул: 7172516, SEAT, MECA KAB See Illustration SEAT ASSY/ EM8453 Was 7192726 - B,D
2Артикул: 7190698, PLATE, SEAT
3Артикул: 7192725, PLUG, PLASTIC
Подробнее >
КОНДИЦИОНИРОВАНИЕ ВОЗДУХА (КАБИНА)

КОНДИЦИОНИРОВАНИЕ ВОЗДУХА (КАБИНА)

1Артикул: 7146960, PLATE
2Артикул: 7146961, COVER
3Артикул: 7146965, FILTER, AIR
Подробнее >
УСТРОЙСТВА СЦЕПКИ (ULPYO)

УСТРОЙСТВА СЦЕПКИ (ULPYO)

1Артикул: 7169629, HITCH, ULPYO
2Артикул: 7176575, PLATE
3Артикул: 4CM1435, SCREW Was 1CM1435 - B
Подробнее >
НАБОР СЕРТИФИКАТОВ (СЕРИЙНЫЙ НОМЕР AHT411001 И ВЫШЕ)

НАБОР СЕРТИФИКАТОВ (СЕРИЙНЫЙ НОМЕР AHT411001 И ВЫШЕ)

1Артикул: 7181511, HAMMER, SAFETY
2Артикул: 7197819, DECAL, HAMMER
3Артикул: 7199707, DECAL, JACK
Подробнее >
СТОЯНОЧНЫЙ УПОР

СТОЯНОЧНЫЙ УПОР

1Артикул: 7193701, WASHER
2Артикул: 7181895, STOP, WHEEL
3Артикул: 7181896, BRACKET
Подробнее >
СИГНАЛ ЗАДНЕГО ХОДА

СИГНАЛ ЗАДНЕГО ХОДА

1Артикул: 7179997, ALARM, BACKUP
2Артикул: 17EM60, WASHER
3Артикул: 29CM630, BOLT
Подробнее >
ПРОТИВОСОЛНЕЧНЫЙ КОЗЫРЕК

ПРОТИВОСОЛНЕЧНЫЙ КОЗЫРЕК

1Артикул: 7235001, CLIP Was 7147172 - A
2Артикул: 7235000, SCREW Was 7147173 - A
3Артикул: 7146819, VISOR, SUN
Подробнее >
ЛАМПА СИНЕГО РАБОЧЕГО ОСВЕЩЕНИЯ

ЛАМПА СИНЕГО РАБОЧЕГО ОСВЕЩЕНИЯ

1Артикул: 7177371, LIGHT, BLUE
2Артикул: 7178982, HARNESS, LEFT
3Артикул: 7179197, BRACKET
Подробнее >
СИДЕНЬЕ С ПОДВЕСКОЙ (МЕХАНИЧЕСКАЯ СИСТЕМА ПОДВЕСКИ) (GRAMMER)

СИДЕНЬЕ С ПОДВЕСКОЙ (МЕХАНИЧЕСКАЯ СИСТЕМА ПОДВЕСКИ) (GRAMMER)

1Артикул: 7024113, SUSPENSION, SEAT Ref. 2-41
2Артикул: 97100.2, Bracket
3Артикул: 97101.0, BRACKET
Подробнее >
УПОР РУКОЯТИ

УПОР РУКОЯТИ

1Артикул: 7204097, ARMREST
Подробнее >
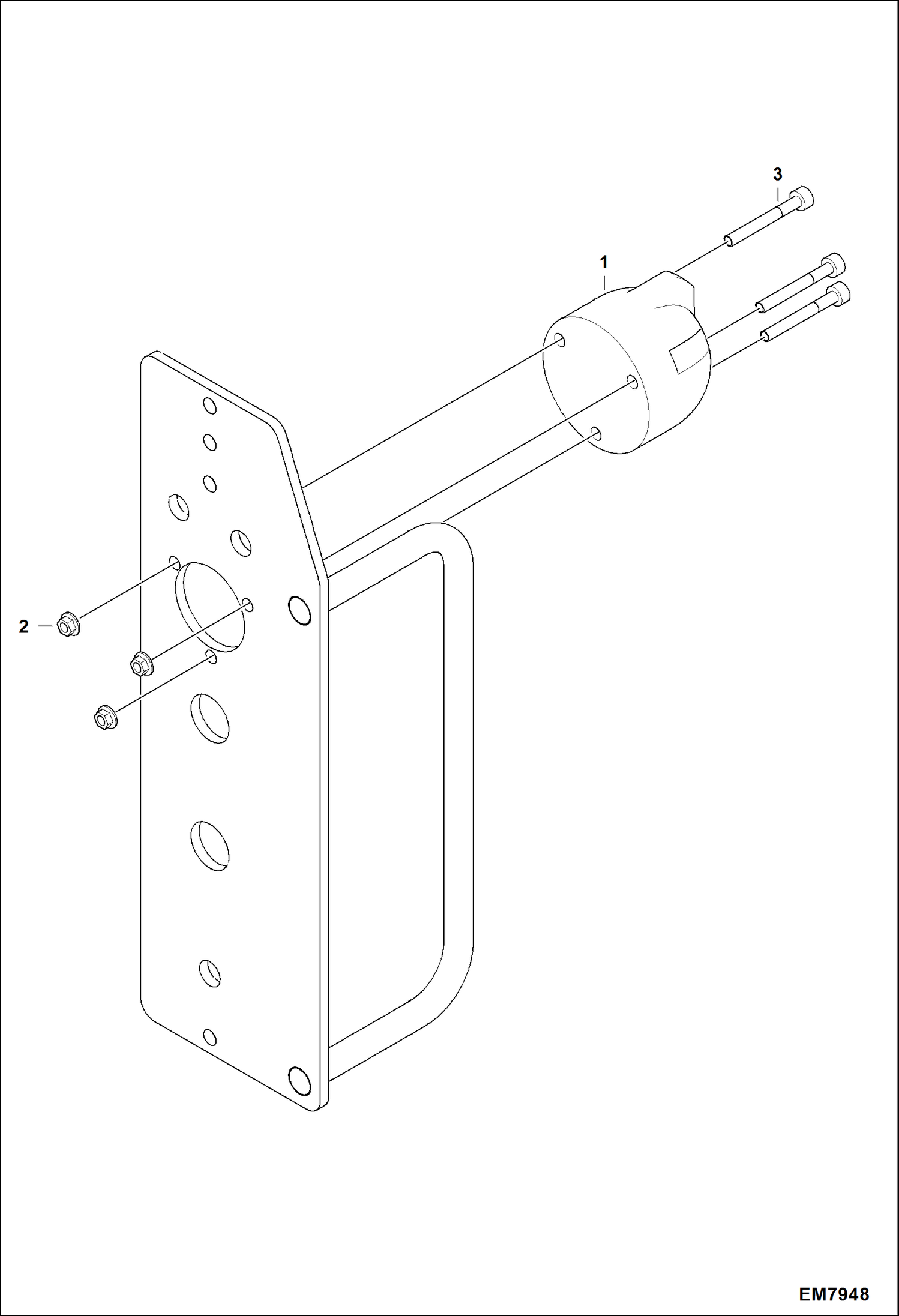
РАБОЧЕЕ ОСВЕЩЕНИЕ СТРЕЛЫ

РАБОЧЕЕ ОСВЕЩЕНИЕ СТРЕЛЫ

1Артикул: 6624289, STRAP, TIE
2Артикул: 7015668, MOUNT, STRAP TIE Was 6678666 - B
3Артикул: 7146784, WORK LIGHT
Подробнее >