+7 (701) 588 50 05 Телефон для связи
RU

WhatsApp

Позвонить

АКСЕСCУАРЫ И ОПЦИИ в Алматы

УДЛИНИТЕЛИ ПЕДАЛЕЙ

УДЛИНИТЕЛИ ПЕДАЛЕЙ

1Артикул: PEDAL, PEDAL NLA - extender - Order Ref. 5 & (3) each of Ref. 6-8 - Was 6713115 - A
2Артикул: 6713116, BUSHING
3Артикул: 17C516, BOLT
Подробнее >
ОБОГРЕВАТЕЛЬ И КОНДИЦИОНЕР (КОМПЛЕКТ УПЛОТНЕНИЙ НАГНЕТАТЕЛЯ)

ОБОГРЕВАТЕЛЬ И КОНДИЦИОНЕР (КОМПЛЕКТ УПЛОТНЕНИЙ НАГНЕТАТЕЛЯ)

1Артикул: 6728567, KIT blower seal - W/Ref. 2, 3 & 10
2Артикул: FLANGE, FLANGE SEAL NSS - assy - Ref. 4, 5, 6 & 9 - Order Ref. 1
3Артикул: 6726621, SCREW
Подробнее >
ПЕРЕДНИЕ ВСПОМОГАТЕЛЬНЫЕ УСТРОЙСТВА (ПРАВОСТОРОННИЙ КОМПЛЕКСТ)

ПЕРЕДНИЕ ВСПОМОГАТЕЛЬНЫЕ УСТРОЙСТВА (ПРАВОСТОРОННИЙ КОМПЛЕКСТ)

1Артикул: 6736655, KIT this front aux kit required the rear aux kit(6736500) or factory installed option in order to operate
2Артикул: 6624289, STRAP, TIE
3Артикул: 7246786, COUPLER, FF FEMALE See BTI433ldr - Was 6667803 - A
Подробнее >
КОМПЛЕКТ УСТРОЙСТВ ОСВЕЩЕНИЯ

КОМПЛЕКТ УСТРОЙСТВ ОСВЕЩЕНИЯ

1Артикул: KIT, KIT NLA - Order components
2Артикул: 6670284, LIGHT ASSY rear
3Артикул: 6649481, LIGHT, WEDGE BASE
Подробнее >
ОКНА КАБИНЫ (КОМПЛЕКТ ИНСТРУМЕНТОВ ДЛЯ СНЯТИЯ ЗАДНЕГО СТЕКЛА)

ОКНА КАБИНЫ (КОМПЛЕКТ ИНСТРУМЕНТОВ ДЛЯ СНЯТИЯ ЗАДНЕГО СТЕКЛА)

1Артикул: 6725946, KIT Ref. 2-4
2Артикул: 6725421, HANDLE
3Артикул: 6726303, DECAL, OPERATION removeable rear window
Подробнее >
РЕМЕНЬ БЕЗОПАСНОСТИ (3 ИЗМЕНЯЕМЫХ ТОЧКИ КРЕПЛЕНИЯ)

РЕМЕНЬ БЕЗОПАСНОСТИ (3 ИЗМЕНЯЕМЫХ ТОЧКИ КРЕПЛЕНИЯ)

1Артикул: 6732219, KIT three point retractable seat belt - Use W/Sears brand suspension seats W/LH recliner lever - Was 6725168 - A
2Артикул: 6674407, SHOULDER BELT
3Артикул: 6679308, SEAT BELT
Подробнее >
КОМПЛЕКСТ ЭЛЕКТРИЧЕСКИХ РАЗЪЕМ (7-КОНТАКТНЫЙ)

КОМПЛЕКСТ ЭЛЕКТРИЧЕСКИХ РАЗЪЕМ (7-КОНТАКТНЫЙ)

1Артикул: 6727176, KIT Ref. 2-4 & 7 - Order sockets as needed
2Артикул: 6674802, CONNECTOR 7-pin does not include sockets
3Артикул: 6669549, SOCKET 18 ga - not in kit
Подробнее >
ОГНЕТУШИТЕЛЬ

ОГНЕТУШИТЕЛЬ

1Артикул: KIT,, KIT, EXTINGUISHER FIRE NLA - Ref. 5-11 - Was 6725898 - A
2Артикул: 6725898, KIT, EXTINGUISHER FIRE Ref. 2-7 & 11
3Артикул: 7224664, EXTINGUISHER, FIRE W/Ref. 3
Подробнее >
ОБОГРЕВАТЕЛЬ КАБИНЫ И КОНДИЦИОНЕР (КОМПЛЕКТ ТРУБОПРОВОДОВ ОБОГРЕВАТЕЛЯ)

ОБОГРЕВАТЕЛЬ КАБИНЫ И КОНДИЦИОНЕР (КОМПЛЕКТ ТРУБОПРОВОДОВ ОБОГРЕВАТЕЛЯ)

1Артикул: KIT, KIT See Illustration HEATER & A/C/ PE1034 NLA - Ref. 2-9 - W/ threaded hose connectors - order components - Was 6733960 - A
2Артикул: 6624289, STRAP, TIE
3Артикул: 5HM20, CLAMP
Подробнее >
СТЕКЛООЧИСТИТЕЛЬ ЗАДНЕГО СТЕКЛА

СТЕКЛООЧИСТИТЕЛЬ ЗАДНЕГО СТЕКЛА

1Артикул: 6726655, KIT rear wiper
2Артикул: HOSE, HOSE NLA - 96-- (2438mm) long - Order Ref. 18
3Артикул: 6719317, WINDOW
Подробнее >
НАБОР ДЛЯ ОБСЛУЖИВАНИЯ ПЛАТФОРМЫ

НАБОР ДЛЯ ОБСЛУЖИВАНИЯ ПЛАТФОРМЫ

1Артикул: 7161610, KIT, MAINTENANCE PATFORM
2Артикул: 6684932, KNOB
3Артикул: 7156771, PLATFORM, MAINTENANCE
Подробнее >
ДВЕРЦА КАБИНЫ (СПЕЦИАЛЬНЫЕ ПРИЛОЖЕНИЯ)

ДВЕРЦА КАБИНЫ (СПЕЦИАЛЬНЫЕ ПРИЛОЖЕНИЯ)

1Артикул: 6730823, KIT door - Ref. 2-24 & 40-59 - wiper is not included because it may scratch special applications window
2Артикул: 6732351, WINDOW 0.5-- thick polycarbonate - W/top notch
3Артикул: 6725938, CLAMP
Подробнее >
ЗАДНИЙ ВСПОМОГАТЕЛЬНЫЙ КЛАПАН

ЗАДНИЙ ВСПОМОГАТЕЛЬНЫЙ КЛАПАН

1Артикул: 6685624, VALVE, AUX REAR
2Артикул: BLOCK, BLOCK NSS
3Артикул: PLUG, PLUG NSS - #4 SAE W/ O-ring
Подробнее >
ОБОГРЕВАТЕЛЬ И КОНДИЦИОНЕР (КОМПЛЕКТ ДЛЯ ПРОКЛАДКИ ТРУБ В ОБОГРЕВАТЕЛЕ)

ОБОГРЕВАТЕЛЬ И КОНДИЦИОНЕР (КОМПЛЕКТ ДЛЯ ПРОКЛАДКИ ТРУБ В ОБОГРЕВАТЕЛЕ)

1Артикул: 7108170, KIT,HTR PLUMBING Ref. 2-9 &11
2Артикул: 6624289, STRAP, TIE
3Артикул: 5HM20, CLAMP
Подробнее >
ПИТАНИЕ BOB-TACH (КЛАПАН)

ПИТАНИЕ BOB-TACH (КЛАПАН)

1Артикул: 7161786, VALVE, POWER BOB-TACH valve has (2) drain ports labeled DR - use which ever port best fits plumbing application
2Артикул: 6684743, SOLENOID W/male connector
3Артикул: 6684744, SOLENOID W/female connector
Подробнее >
КОМПЛЕКТ ИЗОЛЯЦИИ ГИДРАВЛИКИ (СЕРИЙНЫЙ НОМЕР 526011181 И ВЫШЕ, 526111003 И ВЫШЕ)

КОМПЛЕКТ ИЗОЛЯЦИИ ГИДРАВЛИКИ (СЕРИЙНЫЙ НОМЕР 526011181 И ВЫШЕ, 526111003 И ВЫШЕ)

1Артикул: 7169976, KIT, STEERING ISOLATION
2Артикул: 6737388, WASHER
3Артикул: 7169932, MOUNT
Подробнее >
ДВЕРЦА КАБИНЫ (КУСТОРЕЗ) (КОМПЛЕКТ ОКОН)

ДВЕРЦА КАБИНЫ (КУСТОРЕЗ) (КОМПЛЕКТ ОКОН)

1Артикул: 7189822, KIT, WINDOW FORESTRY Ref. 2-7
2Артикул: WINDOW, WINDOW NSS
3Артикул: 7134590, DECAL
Подробнее >
КОМПЛЕКТ ДЕТАЛЕЙ ДЛЯ ЖАЛЮЗИ РАДИАТОРА

КОМПЛЕКТ ДЕТАЛЕЙ ДЛЯ ЖАЛЮЗИ РАДИАТОРА

1Артикул: 6734696, KIT Ref. 2 & 3
2Артикул: 6734697, SCREEN
3Артикул: 6902288, INSTRUCTIONS
Подробнее >
ОБОГРЕВАТЕЛЬ И КОНДИЦИОНЕР (ОБОГРЕВАТЕЛЬ В СБОРЕ)

ОБОГРЕВАТЕЛЬ И КОНДИЦИОНЕР (ОБОГРЕВАТЕЛЬ В СБОРЕ)

1Артикул: 6676562, HEATER assy - Ref. 2-23 - W/threaded hose connectors
2Артикул: 6688371, HEATER assy - Ref. 2-23 - W/barbed hose connectors - Was 7101926 - A
3Артикул: 6677108, HOUSING
Подробнее >
ПОБЛЕСКОВЫЙ МАЯЧОК

ПОБЛЕСКОВЫЙ МАЯЧОК

1Артикул: 6719857, KIT See Illustration OPERATOR CAB/ PE2558 - strobe light - if loader is not equipped W/deluxe cab option Also Order 6727468 harness
2Артикул: 6718872, HARNESS
3Артикул: 6665317, SWITCH horizontal - not in kit
Подробнее >
КОМПЛЕКТ МЕХАНИЗМОВ ПОДЪЕМА (4 ТОЧКИ)

КОМПЛЕКТ МЕХАНИЗМОВ ПОДЪЕМА (4 ТОЧКИ)

1Артикул: 6732678, KIT, LIFT 4-POINT Ref. 2-8, 10-13, 15 & 16
2Артикул: 6726908, LIFT EYE
3Артикул: 6732687, PIN
Подробнее >
КОМПЛЕКТ СВЕТЛЫХ НАКЛЕЕК

КОМПЛЕКТ СВЕТЛЫХ НАКЛЕЕК

1Артикул: 7140768, KIT white decal - Ref. 2-4
2Артикул: 7136678, DECAL top side
3Артикул: 7136679, DECAL middle top
Подробнее >
ОБОГРЕВАТЕЛЬ И КОНДИЦИОНЕР (КОМПЛЕКТ ОТОПИТЕЛЯ) (КЛАПАН ОБОГРЕВАТЕЛЯ С БОРОДКАМИ)

ОБОГРЕВАТЕЛЬ И КОНДИЦИОНЕР (КОМПЛЕКТ ОТОПИТЕЛЯ) (КЛАПАН ОБОГРЕВАТЕЛЯ С БОРОДКАМИ)

1Артикул: 7108167, HEATER KIT Ref. 2-30
2Артикул: 6725933, HARNESS hvac-W/Ref. 17
3Артикул: 6725273, HARNESS AHC - not in kit
Подробнее >
ВЕРХНЯЯ ЧАСТЬ БЛОКА ДВИГАТЕЛЯ

ВЕРХНЯЯ ЧАСТЬ БЛОКА ДВИГАТЕЛЯ

1Артикул: 6720808, KIT, HEATER ENG BLOCK Ref. 2-5
2Артикул: 19F12, BUSHING
3Артикул: 7021791, CORD, HEATER BLOCK ENG
Подробнее >
ЗАМОК ЗАДНЕЙ ДВЕРИ

ЗАМОК ЗАДНЕЙ ДВЕРИ

1Артикул: 6732001, KIT lock - Ref. 2-6
2Артикул: 6670726, CYLINDER, LOCK
3Артикул: KEY, KEY NLA - ignition & rear door - includes two keys W/ring - Order 6693241 - Was 6709527 - A
Подробнее >
КОМПЛЕКТ СИГНАЛА ЗАДНЕГО ХОДА (МНОГОРЕЖИМНЫЙ ДЖОЙСТИК УПРАВЛЕНИЯ)

КОМПЛЕКТ СИГНАЛА ЗАДНЕГО ХОДА (МНОГОРЕЖИМНЫЙ ДЖОЙСТИК УПРАВЛЕНИЯ)

1Артикул: 6732235, KIT Ref. 2-11
2Артикул: 774220, NUT spring
3Артикул: 6577545, GROMMET
Подробнее >
ЕВРОПЕЙСКОЕ ДОПОЛНИТЕЛЬНОЕ ОБОРУДОВАНИЕ

ЕВРОПЕЙСКОЕ ДОПОЛНИТЕЛЬНОЕ ОБОРУДОВАНИЕ

1Артикул: 6737528, BRACKET idle stop
2Артикул: 43DM8, NUT
3Артикул: 62D5, NUT
Подробнее >
КОМПЛЕКТ ЭЛЕКТРИЧЕСКИХ РЕГУЛЯТОРОВ (14-БОЛТОВ КРЕПЛЕНИЯ)

КОМПЛЕКТ ЭЛЕКТРИЧЕСКИХ РЕГУЛЯТОРОВ (14-БОЛТОВ КРЕПЛЕНИЯ)

1Артикул: 6733136, KIT, ATTACHMENT 14-PIN
2Артикул: 6624289, STRAP, TIE
3Артикул: 6678675, CONTROLLER, ACD 3 connector
Подробнее >
ОКНА КАБИНЫ (ВЕРХНЕЕ, ЗАДНЕЕ И БОКОВОЕ)

ОКНА КАБИНЫ (ВЕРХНЕЕ, ЗАДНЕЕ И БОКОВОЕ)

1Артикул: 6718805, KIT, WINDOW REAR AND TOP Ref. 4, 8-10, 14 & 39 - Was SALES - A
2Артикул: KIT,, KIT, WINDOW SIDE NLA - Ref. 2, 3, 5-7, 12-19, 21, 25, 30, 31, 34 & 40 - Was 6718806 - A
3Артикул: 7131580, KIT, WINDOW SIDE Ref. 2, 3, 5-7, 12-19, 21, 25, 30, 31, 34 & 40 - A
Подробнее >
ДВЕРЦА КАБИНЫ (ОКНО И СТЕКЛООЧИСТИТЕЛЬ)

ДВЕРЦА КАБИНЫ (ОКНО И СТЕКЛООЧИСТИТЕЛЬ)

1Артикул: 7188371, ARM, WIPER
2Артикул: 7188372, BLADE, WIPER WINDOW
3Артикул: 6679476, MOTOR, WIPER W/threaded shaft end & built in fuse
Подробнее >
ОБОГРЕВАТЕЛЬ И КОНДИЦИОНЕР (КОМПЛЕКТ ОБОГРЕВАТЕЛЯ) (ДЛЯ КРАНА ОТОПИТЕЛЯ С РЕЗЬБОВЫМ СОЕДИНЕНИЕМ)

ОБОГРЕВАТЕЛЬ И КОНДИЦИОНЕР (КОМПЛЕКТ ОБОГРЕВАТЕЛЯ) (ДЛЯ КРАНА ОТОПИТЕЛЯ С РЕЗЬБОВЫМ СОЕДИНЕНИЕМ)

1Артикул: HEATER, HEATER KIT NLA - Ref. 2-28 & 33 - Order 7108167 kit - Was 6718803 - A
2Артикул: 7108167, HEATER KIT See Illustration HEATER & A/C/ PE2465
3Артикул: 6725933, HARNESS HVAC - W/Ref. 17
Подробнее >
КОМПЛЕКТ ДЕТАЛЕЙ СИСТЕМЫ ШУМОПОДАВЛЕНИЯ (С МНОГОРЕЖИМНЫМ ДЖОЙСТИКОМ УПРАВЛЕНИЯ)

КОМПЛЕКТ ДЕТАЛЕЙ СИСТЕМЫ ШУМОПОДАВЛЕНИЯ (С МНОГОРЕЖИМНЫМ ДЖОЙСТИКОМ УПРАВЛЕНИЯ)

1Артикул: 7110251, SOUND KIT noise reduction - Ref. 2-15
2Артикул: 6719332, INSULATION blower housing
3Артикул: 6719333, INSULATION blower housing
Подробнее >
КОМПЛЕКТ ЭЛЕКТРИЧЕСКИХ РЕГУЛЯТОРОВ (7 БОЛТОВ КРЕПЛЕНИЯ)

КОМПЛЕКТ ЭЛЕКТРИЧЕСКИХ РЕГУЛЯТОРОВ (7 БОЛТОВ КРЕПЛЕНИЯ)

1Артикул: 6733142, KIT Ref. 2-12
2Артикул: 6624289, STRAP, TIE
3Артикул: 6718426, HARNESS, LIFT ARM See Illustration ELECTRICAL CONNECTOR KIT/ MS2627 W/Ref. 4 & 7-9
Подробнее >
КОРПУС КАБИНЫ (ЧЕХОЛ)

КОРПУС КАБИНЫ (ЧЕХОЛ)

1Артикул: 6675544, CANVAS CAB W/Ref. 2-4 - fits over cab
2Артикул: 6675590, DOOR vinyl
3Артикул: 6675591, HINGE KIT
Подробнее >
НАКЛЕКИ (ВНУТРЕННИЕ)

НАКЛЕКИ (ВНУТРЕННИЕ)

1Артикул: 7101426AR, TRANSLATION KIT
2Артикул: 7101426BR, TRANSLATION KIT
3Артикул: 6903127, DECAL KIT includes decals on this illustration and B26691 unless noted
Подробнее >
КОМПЛЕКТ ДЕТАЛЕЙ СИСТЕМЫ ШУМОПОДАВЛЕНИЯ

КОМПЛЕКТ ДЕТАЛЕЙ СИСТЕМЫ ШУМОПОДАВЛЕНИЯ

1Артикул: KIT, KIT NLA - Order 7110250 for manual control or 7110251 for SJC - Was 6736894 - A
2Артикул: 6719332, INSULATION blower housing
3Артикул: 6732571, INSULATION crossmember
Подробнее >
ПРОБЛЕСКОВЫЕ ФАРЫ (4-ПОЛОСНАЯ) (ИНДИКАТОР ВКЛЮЧЕНИЯ СИГНАЛА ПОВОРОТА)

ПРОБЛЕСКОВЫЕ ФАРЫ (4-ПОЛОСНАЯ) (ИНДИКАТОР ВКЛЮЧЕНИЯ СИГНАЛА ПОВОРОТА)

1Артикул: 6718411, KIT Ref. 2-16
2Артикул: 6517516, LIGHT
3Артикул: 6718326, MOUNT
Подробнее >
ЕВРОПЕЙСКОЕ ДОПОЛНИТЕЛЬНОЕ ОБОРУДОВАНИЕ (ДОРОЖНЫЙ КОМПЛЕКТ) (МНОГОРЕЖИМНЫЙ ДЖОЙСТИК УПРАВЛЕНИЯ)

ЕВРОПЕЙСКОЕ ДОПОЛНИТЕЛЬНОЕ ОБОРУДОВАНИЕ (ДОРОЖНЫЙ КОМПЛЕКТ) (МНОГОРЕЖИМНЫЙ ДЖОЙСТИК УПРАВЛЕНИЯ)

1Артикул: KIT, KIT SALES - Order 6732387 from SALES
2Артикул: 6713841, SHIELD bucket
3Артикул: 6713842, SHIELD bucket
Подробнее >
РЕМНИ БЕЗОПАСНОСТИ (3-- ШИРОКИЕ)

РЕМНИ БЕЗОПАСНОСТИ (3-- ШИРОКИЕ)

1Артикул: 6703640, KIT W/Ref. 2-5 & 7-9
2Артикул: 6703703, GUIDE
3Артикул: 6630207, RIVET 5 Was 6512797 - A
Подробнее >
НАКЛЕЙКИ НАРУЖНИЕ

НАКЛЕЙКИ НАРУЖНИЕ

1Артикул: DECAL,, DECAL, WARNING NLA - high pressure grease - Order Ref. 2 - Was 6804114 - A
2Артикул: 7168039, DECAL, WARNING high pressure grease
Подробнее >
КРУПНОГАБАРИТНЫЕ ПРЕДМЕТЫ (СМОТРИТЕ ПРИМЕЧАНИЕ)

КРУПНОГАБАРИТНЫЕ ПРЕДМЕТЫ (СМОТРИТЕ ПРИМЕЧАНИЕ)

1Артикул: 6902228, PAINT, ORANGE SPRAY CAN 6 original shade
2Артикул: 7305844, PAINT ORANGE SPRAY CAN 6 updated shade
3Артикул: 7251690, PAINT, ORANGE SPRAY CAN 6 original shade - EMEA
Подробнее >
КОМПЛЕКТ СВЕТОДИОДНЫХ ФАР ПОГРУЗЧИКА

КОМПЛЕКТ СВЕТОДИОДНЫХ ФАР ПОГРУЗЧИКА

1Артикул: 7275379, KIT, LIGHT LED Ref. 2-8
2Артикул: 7275528, RAIL, LIGHT MOUNTING LH
3Артикул: 7275529, RAIL, LIGHT MOUNTING RH
Подробнее >
ОБОГРЕВАТЕЛЬ И КОНДИЦИОНЕР (КОМЛЕКТ КОНДИЦИОНЕРА)

ОБОГРЕВАТЕЛЬ И КОНДИЦИОНЕР (КОМЛЕКТ КОНДИЦИОНЕРА)

1Артикул: KIT, KIT NLA - Ref. 2-34, 36, 40, 41, & 44 - Order 7112797 kit - Was 6734109 - A
2Артикул: 7112797, KIT, A/C Ref. 2-41 & 44
3Артикул: 6557831, WASHER
Подробнее >
РЕМЕНЬ БЕЗОПАСНОСТИ (3-- ШИРОКИЙ ВЫДВИЖНОЙ)

РЕМЕНЬ БЕЗОПАСНОСТИ (3-- ШИРОКИЙ ВЫДВИЖНОЙ)

1Артикул: 6675562, SEAT BELT 3-- wide retractable - Use W/Sears brand suspension seats W/LH recliner lever
2Артикул: 6901011, INSTRUCTIONS
Подробнее >
КОМПЛЕКТ НАВЕСОВ СИСТЕМА ЗАЩИТЫ ОТ ПАДАЮЩИХ ПРЕДМЕТОВ (СИСТЕМА ЗАЩИТЫ ОТ ПАДАЮЩИХ ПРЕДМЕТОВ)

КОМПЛЕКТ НАВЕСОВ СИСТЕМА ЗАЩИТЫ ОТ ПАДАЮЩИХ ПРЕДМЕТОВ (СИСТЕМА ЗАЩИТЫ ОТ ПАДАЮЩИХ ПРЕДМЕТОВ)

1Артикул: 6718924, KIT Ref. 2-7
2Артикул: 17C616, BOLT 5
3Артикул: 83D6, NUT 5
Подробнее >
КОМПЛЕКТ АМОРТИЗАЦИИ РУЛЕВОГО МЕХАНИЗМА

КОМПЛЕКТ АМОРТИЗАЦИИ РУЛЕВОГО МЕХАНИЗМА

1Артикул: 6737490, KIT dual dampener - Ref. 2-8 & 14
2Артикул: GAS, GAS SPRING NLA - Japan Option - Order Ref. 13 - Was 6649551 - A
3Артикул: 6599744, BALL JOINT
Подробнее >
ОБОГРЕВАТЕЛЬ И КОНДИЦИОНЕР (СИСТЕМА ОТОПЛЕНИЯ, ВЕНТИЛЯЦИИ И КОНДИЦИОНИРОВАНИЯ (ОВК) В СБОРЕ)

ОБОГРЕВАТЕЛЬ И КОНДИЦИОНЕР (СИСТЕМА ОТОПЛЕНИЯ, ВЕНТИЛЯЦИИ И КОНДИЦИОНИРОВАНИЯ (ОВК) В СБОРЕ)

1Артикул: 6683001, HVAC assy - Ref. 2-28
2Артикул: 6677108, HOUSING
3Артикул: 6678151, COVER
Подробнее >
КОМПЛЕКТ КЛАКСОНОВ (РУКОВОДСТВО ПО УПРАВЛЕНИЮ И СИСТЕМА УСОВЕРШЕНСТВОВАННОГО КОНТРОЛЯ)

КОМПЛЕКТ КЛАКСОНОВ (РУКОВОДСТВО ПО УПРАВЛЕНИЮ И СИСТЕМА УСОВЕРШЕНСТВОВАННОГО КОНТРОЛЯ)

1Артикул: 6727995, KIT, HORN Ref. 2-16 - Requires multi-switch handle
2Артикул: 17C410, BOLT 10
3Артикул: 7001044, HORN, ALARM Was 6675099 - A
Подробнее >
ОБОГРЕВАТЕЛЬ И КОНДИЦИОНЕР (НАГРЕВАТЕЛЬ В СБОРЕ)

ОБОГРЕВАТЕЛЬ И КОНДИЦИОНЕР (НАГРЕВАТЕЛЬ В СБОРЕ)

1Артикул: 6675497, BLOWER, HEATER AND A/C Ref. 2-8
2Артикул: 6662246, CONNECTOR 6-pin
3Артикул: 6662252, LOCK 6-pin
Подробнее >
КОРПУС КАБИНЫ (КОМПЛЕКТ ОТДЕЛКИ КАБИНЫ) (КОМПЛЕКСТ ДЛЯ ОСОБОГО ПРИМЕНЕНИЯ)

КОРПУС КАБИНЫ (КОМПЛЕКТ ОТДЕЛКИ КАБИНЫ) (КОМПЛЕКСТ ДЛЯ ОСОБОГО ПРИМЕНЕНИЯ)

1Артикул: KIT, KIT NLA - Order 6577880 access cover kit, 6730822 cab door kit, 6732928 3rd gas spring kit & 7131580 side window kit - Was 6731938 - A
2Артикул: KIT, KIT NLA - special applications kit - Order 6726984 lexan rear window kit, 6730823 door kit, 7105035 top cab window, 6986505 instructions & (4) of 6681614 knob - Was 6731937 - A
Подробнее >
ПИТАНИЕ BOB-TACH (КОМПЛЕКТ УСТРОЙСТВ С ГИДРОПРИВОДОМ)

ПИТАНИЕ BOB-TACH (КОМПЛЕКТ УСТРОЙСТВ С ГИДРОПРИВОДОМ)

1Артикул: 6735477, KIT Ref. 2-28
2Артикул: MANIFOLD, MANIFOLD See Illustration POWER BOB-TACH/ MS2724
3Артикул: 17KB0606, FITTING W/Ref. 13 - Was 7109881 - B
Подробнее >
ГИДРАВЛИКА ВСПОМОГАТЕЛЬНОГО ОБОРУДОВАНИЯ, РАСПОЛОЖЕННОГО СЗАДИ

ГИДРАВЛИКА ВСПОМОГАТЕЛЬНОГО ОБОРУДОВАНИЯ, РАСПОЛОЖЕННОГО СЗАДИ

1Артикул: 6736500, KIT Ref. 2-35 & 37
2Артикул: 7246787, COUPLER, FF MALE See BTI433ldr - Was 6667804 - A
3Артикул: 7246786, COUPLER, FF FEMALE See BTI433ldr - Was 6667803 - A
Подробнее >
ОКНА КАБИНЫ (КОМПЛЕКТ РЕШЕТОК НА ОКНА)

ОКНА КАБИНЫ (КОМПЛЕКТ РЕШЕТОК НА ОКНА)

1Артикул: 7122462, KIT, RIB WINDOW Ref. 2-6 - can NOT Use W/single point lift kits
2Артикул: 7153099, BRACE, CAB Was 7121556 - A
3Артикул: 7122487, 2 SEAL, WIPER
Подробнее >
КОМПЛЕКТ ДЛЯ ПЕРЕОБОРУДОВАНИЯ СИСТЕМЫ СИСТЕМА УСОВЕРШЕНСТВОВАННОГО КОНТРОЛЯ

КОМПЛЕКТ ДЛЯ ПЕРЕОБОРУДОВАНИЯ СИСТЕМЫ СИСТЕМА УСОВЕРШЕНСТВОВАННОГО КОНТРОЛЯ

1Артикул: 6731151, KIT foot control - Ref. 2-14 & 17-30 - loader must be equipped W/advanced hand control option
2Артикул: 6564657, PIN
3Артикул: 6680470, SPRING Was 6675745 - A
Подробнее >
ЕВРОПЕСКОЕ ДОПОЛНИТЕЛЬНОЕ ОБОРУДОВАНИЕ (ДОРОЖНЫЙ КОМПЛЕКТ)

ЕВРОПЕСКОЕ ДОПОЛНИТЕЛЬНОЕ ОБОРУДОВАНИЕ (ДОРОЖНЫЙ КОМПЛЕКТ)

1Артикул: KIT, KIT SALES - for Europe only - Sales #6731237
2Артикул: 6713841, SHIELD bucket
3Артикул: 6714820, SHIELD bucket
Подробнее >
ОБОГРЕВАТЕЛЬ И КОНДИЦИОНЕР (КОМПЛЕКТ СПИРАЛЕЙ ОБОГРЕВАТЕЛЯ)

ОБОГРЕВАТЕЛЬ И КОНДИЦИОНЕР (КОМПЛЕКТ СПИРАЛЕЙ ОБОГРЕВАТЕЛЯ)

1Артикул: 6727786, KIT heater coil - threaded hose connectors - Ref. 2-9 - Was 6728990 - A
2Артикул: 7132549, HEATER COIL KIT heater coil - barbed hose connectors - Ref. 2, 4 & 9 - Was 6691065 - A
3Артикул: HEATER, HEATER COIL NSS - threaded hose connectors - Order Ref. 1 (6727786 Kit)
Подробнее >
ДВЕРЦА КАБИНЫ (ПОЛИКАРБОНАТОВЫЕ ОКНА)

ДВЕРЦА КАБИНЫ (ПОЛИКАРБОНАТОВЫЕ ОКНА)

1Артикул: KIT, KIT See Illustration CAB DOOR/ PE1703 NLA - **IMPORTANT** This Lexan window kit has been discontinued. Order KIT 6730823 SPECIAL APPLICATIONS if safety glass application is needed.
2Артикул: WINDOW, WINDOW See Illustration CAB DOOR/ PE1703 NLA - Order KIT 6730823 SPECIAL APPLICATIONS if safety glass application is needed - it contains 6732351 WINDOW - .5-- thick polycarbonate safety glass.
3Артикул: SEAL, SEAL NLA
Подробнее >
ПИТАНИЕ BOB-TACH (ЦИЛИНДР)

ПИТАНИЕ BOB-TACH (ЦИЛИНДР)

1Артикул: 6810611, CYLINDER, POWER BOB-TACH Ref. 2-16
2Артикул: 6810562, TUBE, CASE CYL POWER BOB-TACH Was 6810349 - A
3Артикул: 6586543, PISTON
Подробнее >
ДВЕРЦА КАБИНЫ

ДВЕРЦА КАБИНЫ

1Артикул: 6730822, KIT door - Ref. 2-18 & 34-76
2Артикул: DOOR, DOOR See BTI369 - NLA - W/Ref. 60 & 61 - Was 6726435 - A
3Артикул: 7109665, FRAME, DOOR CAB Uses 2 bolt mount handle - W/Ref. 60 & 61 - Also Order Ref. 4
Подробнее >
АМОРТИЗАТОР

АМОРТИЗАТОР

1Артикул: 6732928, KIT
2Артикул: 6567743, PIN
3Артикул: 6631418, RING, RETAINING
Подробнее >
КОМПЛЕКТ МЕХАНИЗМОВ ПОДЪЕМА

КОМПЛЕКТ МЕХАНИЗМОВ ПОДЪЕМА

1Артикул: 7142001, KIT
2Артикул: 6533898, DECAL
3Артикул: 6567838, PIN
Подробнее >
ПУЛЬТ УПРАВЛЕНИЯ РАДИО (МНОГОРЕЖИМНЫЙ ДЖОЙСТИК УПРАВЛЕНИЯ)

ПУЛЬТ УПРАВЛЕНИЯ РАДИО (МНОГОРЕЖИМНЫЙ ДЖОЙСТИК УПРАВЛЕНИЯ)

1Артикул: 7185234, KIT, REMOTE CONTROL radio remote control - Was 7141291 - A
2Артикул: RECEIVER,, RECEIVER, 2.4GHZ See BTI392 - Was 6692756 - B
3Артикул: 7011071, CONTROL, MODE SELECTOR mode selector/E-stop box - W/Ref. 17 - Was 6692766 - A
Подробнее >
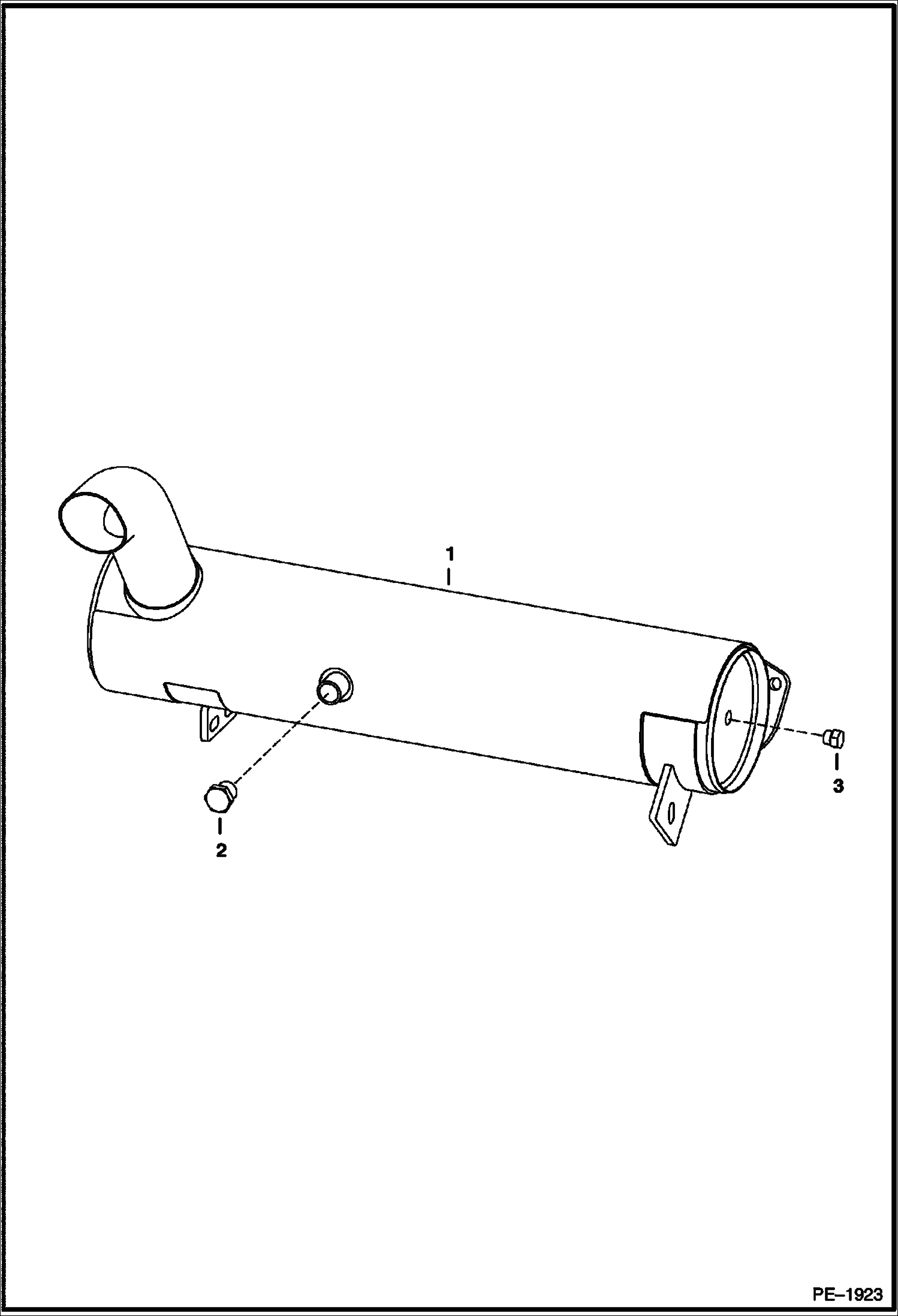
ОЧИСТНОЕ УСТРОЙСТВО

ОЧИСТНОЕ УСТРОЙСТВО

1Артикул: 6687886, MUFFLER, PURIFIER purifier - includes Ref. 2 & 3 - Use W/ shield 6730753 - also Order Ref. 4 - Was 6681460 - A
2Артикул: 6661062, PLUG brass - 0.38--
3Артикул: 6659543, PLUG 1/8-- - brass
Подробнее >
МАЯЧОК

МАЯЧОК

1Артикул: 6719854, KIT, BEACON LIGHT rotating beacon
2Артикул: 6718872, HARNESS
3Артикул: 6665317, SWITCH horizontal - not in kit
Подробнее >
ГУСЕНИЦЫ РЕЗИНОВЫЕ

ГУСЕНИЦЫ РЕЗИНОВЫЕ

1Артикул: 6678748, TRACK, RBR (320X86X55) 12-- C-PTRN BOBCAT factory option
2Артикул: 6678749, TRACK, RBR (450X86X55) 18-- C-PTRN BCT factory option
3Артикул: TRACK,, TRACK, RUBBER (450X84X56) 18-- H-PATTERN EF NLA - Was 6988834 - A
Подробнее >
РЕМКОМПЛЕКТ ПОЛОЖЕНИЯ КОВША (СЕРИЙНЫЙ НОМЕР 525613000 И ВЫШЕ, 525712000 И ВЫШЕ)

РЕМКОМПЛЕКТ ПОЛОЖЕНИЯ КОВША (СЕРИЙНЫЙ НОМЕР 525613000 И ВЫШЕ, 525712000 И ВЫШЕ)

1Артикул: 7104830, KIT, BPV Ref. 2-16
2Артикул: 6673959, VALVE, BPV See Illustration BUCKET POSITIONING VALVE/ MS1943A painted primer red
3Артикул: 6730898, MOUNT
Подробнее >
КОМПЛЕКТ КЛАКСОНОВ (МНОГОРЕЖИМНЫЙ ДЖОЙСТИК УПРАВЛЕНИЯ)

КОМПЛЕКТ КЛАКСОНОВ (МНОГОРЕЖИМНЫЙ ДЖОЙСТИК УПРАВЛЕНИЯ)

1Артикул: 6732234, KIT horn - Ref. 2-14
2Артикул: 6577545, GROMMET
3Артикул: 6610510, TIE
Подробнее >
ДВЕРЦА КАБИНЫ (ДВЕРЦЫ, ПРИМЕНЯЕМЫЕ В ЛЕСОЗАГОТОВКЕ) (0.75-- ОКНО ИЗ ПОЛИКАРБОНАТА)

ДВЕРЦА КАБИНЫ (ДВЕРЦЫ, ПРИМЕНЯЕМЫЕ В ЛЕСОЗАГОТОВКЕ) (0.75-- ОКНО ИЗ ПОЛИКАРБОНАТА)

1Артикул: DOOR, DOOR ASSY NLA - Order components - for complete Forestry Applications Kit, Order from SALES #7131810
2Артикул: 7140090, DOOR, CAB ASSY Ref. 3-9
3Артикул: WINDOW, WINDOW NSS - Order Ref. 63
Подробнее >