+7 (701) 588 50 05 Телефон для связи
RU

WhatsApp

Позвонить

АКСЕСCУАРЫ И ОПЦИИ в Алматы

КОМПЛЕКТ МЕХАНИЗМОВ БЕССТУПЕНЧАТОЙ ТРАНСМИССИИ ДЛЯ ТОРМОЖЕНИЯ ДВИГАТЕЛЕМ ДИЗЕЛЬ

КОМПЛЕКТ МЕХАНИЗМОВ БЕССТУПЕНЧАТОЙ ТРАНСМИССИИ ДЛЯ ТОРМОЖЕНИЯ ДВИГАТЕЛЕМ ДИЗЕЛЬ

1Артикул: SVP304902CC, CVT BRAKE (DIESEL ONLY) Ref. 2-6
2Артикул: SVP477001CC, BELT, DRIVE Was SVP305301CC - A
3Артикул: SVPP305101CC, CVT, PRIMARY BRAKING Was SVP305101CC
Подробнее >
КОМПЛЕКТ УСТРОЙСТВ КОНСОЛИ КАБИНЫ ТИПА DELUXE

КОМПЛЕКТ УСТРОЙСТВ КОНСОЛИ КАБИНЫ ТИПА DELUXE

1Артикул: CAB, CAB CONSOLE DLX NLA - KIT - W/Ref. 2-10 - Was AM1225101CC - A
2Артикул: CAB, CAB CONSOLE NLA
3Артикул: VENT, VENT NLA
Подробнее >
КОМПЛЕКТ ГИДРОУСИЛИТЕЛЯ

КОМПЛЕКТ ГИДРОУСИЛИТЕЛЯ

1Артикул: SVP302502CC, KIT, STEERING POWER W/Ref. 2-19 - includes SVP302601 instructiions
2Артикул: SVP302503CC, KIT, STEERING POWER W/Ref. 2-21 - Also order Ref. 22 as needed - includes SVP302601 instructiions
3Артикул: SVP299710CC, MOTOR, STEERING POWER
Подробнее >
КОМПЛЕКТ МЕХАНИЗМОВ СИСТЕМЫ ЗАЩИТЫ ОТ ПАДАЮЩИХ ПРЕДМЕТОВ (FOPS) (БЕЛЫЙ)

КОМПЛЕКТ МЕХАНИЗМОВ СИСТЕМЫ ЗАЩИТЫ ОТ ПАДАЮЩИХ ПРЕДМЕТОВ (FOPS) (БЕЛЫЙ)

1Артикул: 103368501CC, BLACK FOPS KIT Ref. 2 - 6 - Was 103223801CC - A
2Артикул: WHITE, WHITE FOPS PANEL NLA - Order 103223801CC fops kit - Was 103316201CC - A
3Артикул: 103216801CC, FLANGED 10X1.5X70
Подробнее >
КОМПЛЕКТ МАТЕРИАЛА ДЛЯ ОБЛИЦОВКИ ПРИБОРНОЙ ПАНЕЛИ

КОМПЛЕКТ МАТЕРИАЛА ДЛЯ ОБЛИЦОВКИ ПРИБОРНОЙ ПАНЕЛИ

1Артикул: 103361401CC, DASH LINER KIT W/Ref. 2-8 - for closing up the dash ( heat retention)
2Артикул: LINER, LINER NLA - Order 103361401CC dash liner kit - Was 103361201CC - A
3Артикул: LINER, LINER NLA - Order 103361401CC dash liner kit - Was 103361301CC - A
Подробнее >
DELUXE РАДИО ПОДГОТОВКА

DELUXE РАДИО ПОДГОТОВКА

1Артикул: AM1225301CC, RADIO, CONSOLE DLX NLA - Ref. 2-5 - must have Am1225101CC deluxe console to install radio - AM1225101CC DLX Console is NLA - Was AM1225301CC
2Артикул: RADIO, RADIO WIRE HARNESS NSS
3Артикул: RADIO, RADIO INSTALLATION SLEEVE NSS
Подробнее >
КОМПЛЕКТ МЕХАНИЗМОВ БЛОКИРОВКИ ПЕРЕДНЕГО ДИФФЕРЕНЦИАЛА (КРЕПЛЕНИЯ ВЫКЛЮЧАТЕЛЯ НА ПЕДАЛИ)

КОМПЛЕКТ МЕХАНИЗМОВ БЛОКИРОВКИ ПЕРЕДНЕГО ДИФФЕРЕНЦИАЛА (КРЕПЛЕНИЯ ВЫКЛЮЧАТЕЛЯ НА ПЕДАЛИ)

1Артикул: 103319101CC, FRT DIFF DISABLE KIT W/Ref. 2- 7
2Артикул: 103259401CC, FRONT DIFF ENGAGING SWITCH
3Артикул: 103319201CC, WIRE HARNESS
Подробнее >
ПРЕДУПРЕЖДАЮЩИЕ ТАБЛИЧКИ

ПРЕДУПРЕЖДАЮЩИЕ ТАБЛИЧКИ

1Артикул: 102458901CC, DECAL WARNING hot surface
2Артикул: 102459001CC, DECAL WARNING hot manifold
3Артикул: 102459101CC, DECAL WARNING negative frame grounding
Подробнее >
СТОЙКИ ДЛЯ НАГНЕТАТЕЛЕЙ

СТОЙКИ ДЛЯ НАГНЕТАТЕЛЕЙ

1Артикул: AM10874CC, GUN AND BOOT MNTG BRACKET single gun mount - Ref. 2-10
2Артикул: AM10806CC, BOOT, GUN
3Артикул: AM10807CC, BRACKET
Подробнее >
МОНТАЖНЫЙ КОМПЛЕКТ ЩЕТКИ СТЕКЛООЧИСТИТЕЛЯ

МОНТАЖНЫЙ КОМПЛЕКТ ЩЕТКИ СТЕКЛООЧИСТИТЕЛЯ

1Артикул: AM1210901CC, WINDSHIELD WIPER KIT W/Ref. 2-7
2Артикул: WIPER, WIPER MOTOR NLA - available from Curtis Tractor Cab
3Артикул: WIPER, WIPER ARM NLA - available from Curtis Tractor Cab
Подробнее >
КОМПЛЕКТ ПРОТИВОТУМАННЫХ ФАР

КОМПЛЕКТ ПРОТИВОТУМАННЫХ ФАР

1Артикул: 103224201CC, FOG LIGHTS KIT - W/Ref. 2-5
2Артикул: 103178901CC, FOG LIGHT
3Артикул: 103235301CC, FOG LIGHT SWITCH
Подробнее >
КОМПЛЕКТ МЕХАНИЗМОВ СИСТЕМЫ ЗАЩИТЫ ОТ ПАДАЮЩИХ ПРЕДМЕТОВ (FOPS) (ЧЕРНЫЙ)

КОМПЛЕКТ МЕХАНИЗМОВ СИСТЕМЫ ЗАЩИТЫ ОТ ПАДАЮЩИХ ПРЕДМЕТОВ (FOPS) (ЧЕРНЫЙ)

1Артикул: 103368501CC, BLACK FOPS KIT Ref. 2-4
2Артикул: BLACK, BLACK FOPS PANEL NLA - Order Ref. 1
3Артикул: RUBBER, RUBBER STRIP NLA
Подробнее >
ПРЕДУПРЕЖДАЮЩИЕ ТАБЛИЧКИ

ПРЕДУПРЕЖДАЮЩИЕ ТАБЛИЧКИ

1Артикул: WHITE, WHITE DECAL KIT NLA- W/Ref. 2-5 - Order components
2Артикул: 102335901CC, BOBCAT DECAL Bobcat - white
3Артикул: DECAL, DECAL NLA - IR - red - Was 103234301CC - A
Подробнее >
ДИЗЕЛЬНЫЙ КОМПЛЕКТ НАГРЕВАТЕЛЕЙ

ДИЗЕЛЬНЫЙ КОМПЛЕКТ НАГРЕВАТЕЛЕЙ

1Артикул: AM1219601CC, BLOCK HEATER KIT - W/Ref. 2-4
2Артикул: BLOCK, BLOCK HEATER NLA - Order AM 1219601CC block heater kit - Was AM11264CC - A
3Артикул: AM1219501CC, HEATER CORD NLA - Was AM1219501CC - A
Подробнее >
НАБОР ИНСТРУМЕНТОВ ДЛЯ УСТАНОВКИ ВЕТРОВОГО СТЕКЛА (СКЛАДНОЕ ВЕТРОВОЕ СТЕКЛО)

НАБОР ИНСТРУМЕНТОВ ДЛЯ УСТАНОВКИ ВЕТРОВОГО СТЕКЛА (СКЛАДНОЕ ВЕТРОВОЕ СТЕКЛО)

1Артикул: 103174701CC, WINDSHIELD KIT fold down windshield - KIT - W/Ref. 2-5
2Артикул: WINDSHIELD, WINDSHIELD NLA - fold down windshield - Order 103174701CC Kit - Was 103186501CC - A
3Артикул: 102488304CC, CLIP 2.4 in.(61mm)
Подробнее >
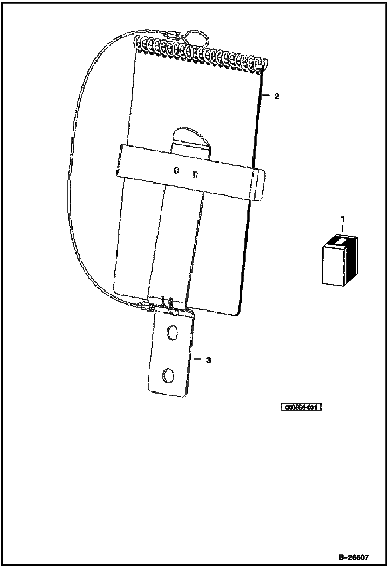
ИНСТРУКЦИЯ

ИНСТРУКЦИЯ

1Артикул: HANDBOOK, HANDBOOK KIT NLA - W/Ref. 2 & 3 - Order components
2Артикул: 103237502CC, OHB, W/WIRE ROPE
3Артикул: 103237701CC, CLIP
Подробнее >