+7 (701) 588 50 05 Телефон для связи
RU

WhatsApp

Позвонить

ГИДРАВЛИЧЕСКАЯ СИСТЕМА в Алматы

КЛАПАН РЕГУЛИРОВКИ ПОЛОЖЕНИЯ КОВША

КЛАПАН РЕГУЛИРОВКИ ПОЛОЖЕНИЯ КОВША

1Артикул: 6673958, VALVE W/Ref. 2 - 22 - Was 6666342 - A
2Артикул: 6647784, PLUG W/Ref. 3
3Артикул: 79K10, O RING 10
Подробнее >
ВСПОМОГАТЕЛЬНАЯ ГИДРАВЛИЧЕСКАЯ ЦЕПЬ

ВСПОМОГАТЕЛЬНАЯ ГИДРАВЛИЧЕСКАЯ ЦЕПЬ

1Артикул: 6670648, HOSE
2Артикул: TUBELINE, TUBELINE NLA - Order Kit # 6806101 - Was 6803689 - A
3Артикул: 6805924, TUBELINE
Подробнее >
СХЕМА ГИДРАВЛИЧЕСКОЙ СИСТЕМЫ

СХЕМА ГИДРАВЛИЧЕСКОЙ СИСТЕМЫ

1Артикул: CYLINDER, CYLINDER See Illustration LIFT CYLINDER/ B14034 LIFT
2Артикул: 6671893, HOSE
3Артикул: 6802375, HOSE
Подробнее >
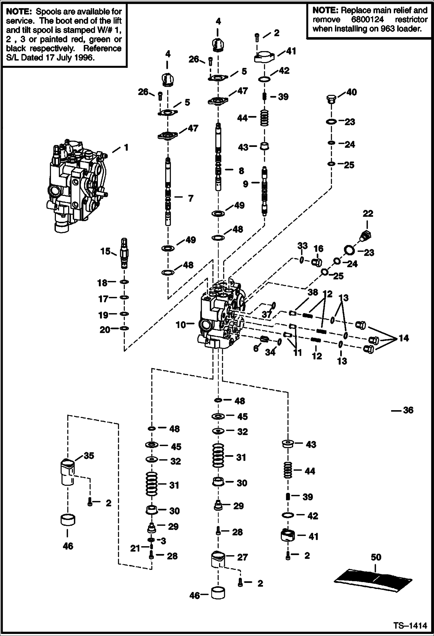
ГИДРАВЛИЧЕСКИЙ РЕГУЛИРУЮЩИЙ КЛАПАН (С РЕГУЛИРУЮЩИМ КЛАПАНОМ СИСТЕМЫ БЛОКИРОВКИ УПРАВЛЕНИЯ ) (СЕРИЙНЫЙ НОМЕР 562211686 И НИЖЕ, 516511065 И НИЖЕ)

ГИДРАВЛИЧЕСКИЙ РЕГУЛИРУЮЩИЙ КЛАПАН (С РЕГУЛИРУЮЩИМ КЛАПАНОМ СИСТЕМЫ БЛОКИРОВКИ УПРАВЛЕНИЯ ) (СЕРИЙНЫЙ НОМЕР 562211686 И НИЖЕ, 516511065 И НИЖЕ)

1Артикул: VALVE, VALVE See BTI334 NLA - W/Fittings - Ref. 2 - 56 - Order 6808046 , (1) 6802844 Hose & (1) 6805655 Cross - Was 6800589 - A
2Артикул: VALVE,, VALVE, BICS See Illustration BICS CONTROL VALVE/ TS1365 - Was 6628571 - A
3Артикул: 6589564, RETAINER
Подробнее >
ГИДРАВЛИЧЕСКИЙ РЕГУЛИРУЮЩИЙ КЛАПАН (С КЛАПАНОМ СИСТЕМЫ БЛОКИРОВКИ УПРАВЛЕНИЯ (BICS)) (РЕЗЕРВНЫЙ КЛАПАН)

ГИДРАВЛИЧЕСКИЙ РЕГУЛИРУЮЩИЙ КЛАПАН (С КЛАПАНОМ СИСТЕМЫ БЛОКИРОВКИ УПРАВЛЕНИЯ (BICS)) (РЕЗЕРВНЫЙ КЛАПАН)

1Артикул: VALVE, VALVE See Illustration HYDRAULIC CONTROL VALVE/ NA6732 See BTI334 - NLA - W/fittings - Ref. 2-55 - See BTI 334 - Was 6808046 - A
2Артикул: VALVE,, VALVE, BICS See Illustration BICS CONTROL VALVE/ TS1365 - Was 6628571 - A
3Артикул: 6589564, RETAINER
Подробнее >
ЦИЛИНДР ПОДЪЕМА

ЦИЛИНДР ПОДЪЕМА

1Артикул: 6811997, CYLINDER Ref. 2 - 16 - Was 6597314 - A
2Артикул: 6627707, CASE
3Артикул: 6810539, NUT Was 6804592 - A
Подробнее >
ГИДРАВЛИЧЕСКИЙ РЕГУЛИРУЮЩИЙ КЛАПАН (СИСТЕМА РУЧНОГО УПРАВЛЕНИЯ (AHC)) (РЕЗЕРВНЫЙ КЛАПАН)

ГИДРАВЛИЧЕСКИЙ РЕГУЛИРУЮЩИЙ КЛАПАН (СИСТЕМА РУЧНОГО УПРАВЛЕНИЯ (AHC)) (РЕЗЕРВНЫЙ КЛАПАН)

1Артикул: VALVE, VALVE See BTI368 - NLA - valve is minus all fittings, relief valves, anti-cavitation valves, solenoid coils & solenoid spools - remove & use existing parts from old valve or order new parts as needed - Was 6807402 - A
2Артикул: VALVE,, VALVE, BICS See Illustration BICS CONTROL VALVE/ TS1365 - Was 6628571 - A
3Артикул: 29G412, BOLT
Подробнее >
РЕГУЛИРУЮЩИЙ КЛАПАН СИСТЕМЫ БЛОКИРОВКИ УПРАВЛЕНИЯ (BICS)

РЕГУЛИРУЮЩИЙ КЛАПАН СИСТЕМЫ БЛОКИРОВКИ УПРАВЛЕНИЯ (BICS)

1Артикул: VALVE,, VALVE, BICS NLA - D series coil compatible - Ref. 2-5, 6 (6667687 stem), 7 & 8 - Order 7297071 BICS valve & Ref. 9 (7272732 coil) - Was 6628571 - A
2Артикул: 7297071, VALVE, BICS E series coil compatible - Ref. 2-5, 6 (7272731 stem), 7 & 8
3Артикул: 6689739, VALVE pilot operated - Was 6668765 - A
Подробнее >
ГИДРАВЛИЧЕСКИЙ РЕГУЛИРУЮЩИЙ КЛАПАН (СИСТЕМА УСОВЕРШЕНСТВОВАННОГО КОНТРОЛЯ) (РЕЗЕРВНЫЙ КЛАПАН)

ГИДРАВЛИЧЕСКИЙ РЕГУЛИРУЮЩИЙ КЛАПАН (СИСТЕМА УСОВЕРШЕНСТВОВАННОГО КОНТРОЛЯ) (РЕЗЕРВНЫЙ КЛАПАН)

1Артикул: 7222720, VALVE, CONTROL SERVICE Ref. 2-56
2Артикул: VALVE,, VALVE, BICS See Illustration BICS CONTROL VALVE/ TS1365 - Was 6628571 - A
3Артикул: 6589564, RETAINER
Подробнее >
ГИДРАВЛИЧЕСКИЙ РЕГУЛИРУЮЩИЙ КЛАПАН (СИСТЕМА УСОВЕРШЕНСТВОВАННОГО РУЧНОГО УПРАВЛЕНИЯ) (СЕРИЙНЫЙ НОМЕР 562211686 И НИЖЕ, 516511065 И НИЖЕ)

ГИДРАВЛИЧЕСКИЙ РЕГУЛИРУЮЩИЙ КЛАПАН (СИСТЕМА УСОВЕРШЕНСТВОВАННОГО РУЧНОГО УПРАВЛЕНИЯ) (СЕРИЙНЫЙ НОМЕР 562211686 И НИЖЕ, 516511065 И НИЖЕ)

1Артикул: VALVE, VALVE See BTI368 - NLA - valve is minus all fittings, relief valves, anti-cavitation valves, solenoid coils & solenoid spools - remove & use existing parts from old valve or order new parts as needed - Was 6804773 - A
2Артикул: VALVE,, VALVE, BICS See Illustration BICS CONTROL VALVE/ TS1365 - Was 6628571 - A
3Артикул: 6589564, RETAINER
Подробнее >
ГИДРАВЛИЧЕСКИЙ РЕГУЛИРУЮЩИЙ КЛАПАН (СИСТЕМА УСОВЕРШЕНСТВОВАННОГО РУЧНОГО УПРАВЛЕНИЯ) (СЕРИЙНЫЙ НОМЕР 562211687 И ВЫШЕ, 516511066 И ВЫШЕ)

ГИДРАВЛИЧЕСКИЙ РЕГУЛИРУЮЩИЙ КЛАПАН (СИСТЕМА УСОВЕРШЕНСТВОВАННОГО РУЧНОГО УПРАВЛЕНИЯ) (СЕРИЙНЫЙ НОМЕР 562211687 И ВЫШЕ, 516511066 И ВЫШЕ)

1Артикул: VALVE, VALVE See BTI368 - NLA - valve is minus all fittings, relief valves, anti-cavitation valves, solenoid coils & solenoid spools - remove & use existing parts from old valve or order new parts as needed - Was 6805613 - A
2Артикул: VALVE,, VALVE, BICS See Illustration BICS CONTROL VALVE/ TS1365 - Was 6628571 - A
3Артикул: 6589564, RETAINER
Подробнее >
ГИДРАВЛИЧЕСКИЙ РЕГУЛИРУЮЩИЙ КЛАПАН (С РЕГУЛИРУЮЩИМ КЛАПАНОМ СИСТЕМЫ БЛОКИРОВКИ УПРАВЛЕНИЯ ) (СЕРИЙНЫЙ НОМЕР 562211687 И ВЫШЕ, 516511066 И ВЫШЕ)

ГИДРАВЛИЧЕСКИЙ РЕГУЛИРУЮЩИЙ КЛАПАН (С РЕГУЛИРУЮЩИМ КЛАПАНОМ СИСТЕМЫ БЛОКИРОВКИ УПРАВЛЕНИЯ ) (СЕРИЙНЫЙ НОМЕР 562211687 И ВЫШЕ, 516511066 И ВЫШЕ)

1Артикул: VALVE, VALVE See BTI334 NLA - W/Fittings - Ref. 2 - 56 - Order 6808046 service valve - Was 6805104 - A
2Артикул: VALVE,, VALVE, BICS See Illustration BICS CONTROL VALVE/ TS1365 - Was 6628571 - A
3Артикул: 6589564, RETAINER
Подробнее >
ОРГАНЫ УПРАВЛЕНИЯ

ОРГАНЫ УПРАВЛЕНИЯ

1Артикул: 6563151, LINK latch
2Артикул: 6563914, WASHER
3Артикул: 7115219, PEDAL Was 6726680 - A
Подробнее >
ЦИЛИНДР НАКЛОНА

ЦИЛИНДР НАКЛОНА

1Артикул: 6597316, CYLINDER W/Ref. 2 - 17
2Артикул: 6597833, CASE
3Артикул: 6810539, NUT Was 6804592 - A
Подробнее >