+7 (701) 588 50 05 Телефон для связи
RU

WhatsApp

Позвонить

ГИДРАВЛИЧЕСКАЯ СИСТЕМА в Алматы

ЦИЛИНДРА НАКЛОНА (ЛЕВОСТОРОННИЙ) (СЕРИЙНЫЙ НОМЕР 5141 15043-27005 И 5142 13000-22392)

ЦИЛИНДРА НАКЛОНА (ЛЕВОСТОРОННИЙ) (СЕРИЙНЫЙ НОМЕР 5141 15043-27005 И 5142 13000-22392)

1Артикул: 6804393, CYLINDER tilt - Ref. 2-16 - Was 6800683 - A
2Артикул: 6800699, CASE 2.75-- (69,9mm) ID
3Артикул: 6800684, PISTON
Подробнее >
ЦИЛИНДРА НАКЛОНА (ПРАВОСТОРОННИЙ) (СЕРИЙНЫЙ НОМЕР 5141 11574-15042 И 5142 11214-11338)

ЦИЛИНДРА НАКЛОНА (ПРАВОСТОРОННИЙ) (СЕРИЙНЫЙ НОМЕР 5141 11574-15042 И 5142 11214-11338)

1Артикул: 6597377, CYLINDER See BTI312 - tilt - Ref. 2-5, 7-14, 16 & 17 - Also order Ref. 6 & 15
2Артикул: 6627885, CASE 2.5-- (63,5mm) ID
3Артикул: 6597385, PISTON
Подробнее >
СХЕМА ГИДРАВЛИЧЕСКОЙ СИСТЕМЫ (С КЛАПАНОМ РЕГУЛИРОВКИ ПОЛОЖЕНИЯ КОВША) (СЕРИЙНЫЙ НОМЕР 5141 27006-39999, 5142 22393-39999)

СХЕМА ГИДРАВЛИЧЕСКОЙ СИСТЕМЫ (С КЛАПАНОМ РЕГУЛИРОВКИ ПОЛОЖЕНИЯ КОВША) (СЕРИЙНЫЙ НОМЕР 5141 27006-39999, 5142 22393-39999)

1Артикул: CYLINDER, CYLINDER See Illustration TILT CYLINDER/ PE1550 - LH tilt
2Артикул: CYLINDER, CYLINDER See Illustration TILT CYLINDER/ PE1549 - RH tilt
3Артикул: 6710491, SHIELD boom step
Подробнее >
СХЕМА ГИДРАВЛИЧЕСКОЙ СИСТЕМЫ (С КЛАПАНОМ РЕГУЛИРОВКИ ПОЛОЖЕНИЯ КОВША) (СЕРИЙНЫЙ НОМЕР 5141 22001-27005, 5142 22001-22392)

СХЕМА ГИДРАВЛИЧЕСКОЙ СИСТЕМЫ (С КЛАПАНОМ РЕГУЛИРОВКИ ПОЛОЖЕНИЯ КОВША) (СЕРИЙНЫЙ НОМЕР 5141 22001-27005, 5142 22001-22392)

1Артикул: CYLINDER, CYLINDER See Illustration TILT CYLINDER/ MS1631 - LH - tilt
2Артикул: CYLINDER, CYLINDER See Illustration TILT CYLINDER/ MS1630 - RH - tilt
3Артикул: 6710491, SHIELD boom step
Подробнее >
ЦИЛИНДРА НАКЛОНА (ЛЕВОСТОРОННИЙ) (СЕРИЙНЫЙ НОМЕР 5141 27006-39999, 5142 22393-39999)

ЦИЛИНДРА НАКЛОНА (ЛЕВОСТОРОННИЙ) (СЕРИЙНЫЙ НОМЕР 5141 27006-39999, 5142 22393-39999)

1Артикул: 6811614, CYLINDER, TILT tilt - Ref. 2-16 - Was 6805511 - A
2Артикул: 6811615, CASE 2.75 in. (69,9 mm) - Was 6805514 - A
3Артикул: 6800684, PISTON
Подробнее >
ЦИЛИНДРА НАКЛОНА (ЛЕВОСТОРОННИЙ) (СЕРИЙНЫЙ НОМЕР 5141 11573, 5142 11213 И НИЖЕ)

ЦИЛИНДРА НАКЛОНА (ЛЕВОСТОРОННИЙ) (СЕРИЙНЫЙ НОМЕР 5141 11573, 5142 11213 И НИЖЕ)

1Артикул: 6597387, CYLINDER See BTI312 - tilt - Ref. 2-21
2Артикул: 6589542, CASE 2.5-- (63,5mm) ID
3Артикул: 6597385, PISTON
Подробнее >
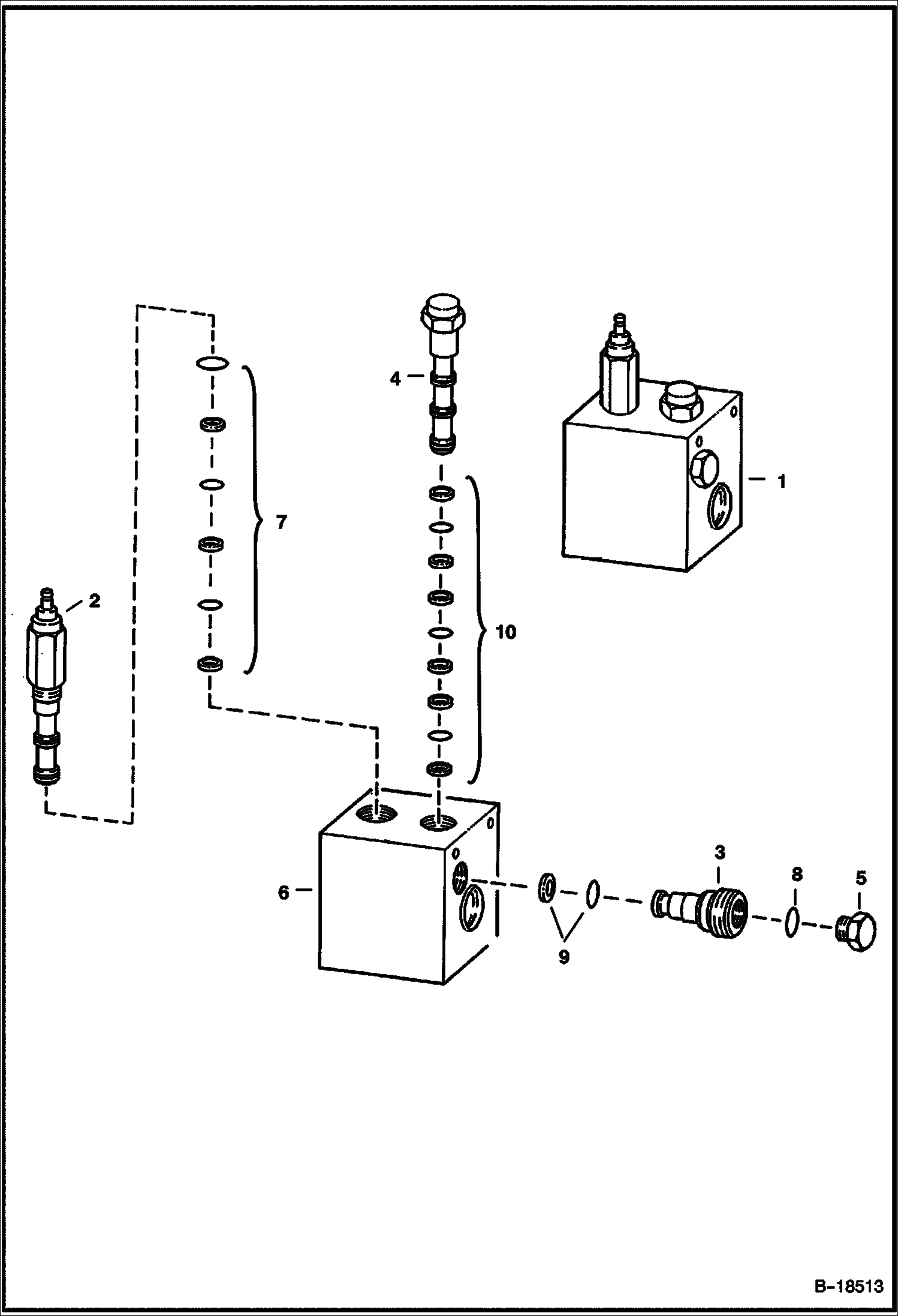
ГИДРАВЛИЧЕСКИЙ РЕГУЛИРУЮЩИЙ КЛАПАН (РЕЗЕРВНЫЙ КЛАПАН) (5141 21999, 5142 21999 И НИЖЕ)

ГИДРАВЛИЧЕСКИЙ РЕГУЛИРУЮЩИЙ КЛАПАН (РЕЗЕРВНЫЙ КЛАПАН) (5141 21999, 5142 21999 И НИЖЕ)

1Артикул: VALVE,, VALVE, CONTROL SERVICE See BTI295 NLA - Was 6627702 - A
2Артикул: 7229299, VALVE, CONTROL SERVICE See BTI295
3Артикул: 29G412, BOLT
Подробнее >
ЦИЛИНДР ПОДЪЕМА

ЦИЛИНДР ПОДЪЕМА

1Артикул: 6811996, CYLINDER, LIFT Ref. 2-6 - Was 6589198 - A
2Артикул: 6589338, CASE
3Артикул: 6678932, PISTON W/Ref. 8 & 9 - W/ non-replaceable wear sleeves - Was 6678934 - A
Подробнее >
ГИДРАВЛИЧЕСКИЙ РЕГУЛИРУЮЩИЙ КЛАПАН (СЕРИЙНЫЙ НОМЕР 5141 11442, 5142 11104 И НИЖЕ - СМОТРИТЕ ПРИЛОЖЕНИЕ)

ГИДРАВЛИЧЕСКИЙ РЕГУЛИРУЮЩИЙ КЛАПАН (СЕРИЙНЫЙ НОМЕР 5141 11442, 5142 11104 И НИЖЕ - СМОТРИТЕ ПРИЛОЖЕНИЕ)

1Артикул: VALVE, VALVE See BTI295 - NLA - Ref. 2 - 57 - W/Short spools - w/fitting - Was 6595275 - A
2Артикул: 29G412, BOLT
3Артикул: 6589564, RETAINER
Подробнее >
СХЕМА ГИДРАВЛИЧЕСКОЙ СИСТЕМЫ (БЕЗ КЛАПАНА РЕГУЛИРОВКИ ПОЛОЖЕНИЯ КОВША) (СЕРИЙНЫЙ НОМЕР 5141 11573, 5142 11213 И НИЖЕ)

СХЕМА ГИДРАВЛИЧЕСКОЙ СИСТЕМЫ (БЕЗ КЛАПАНА РЕГУЛИРОВКИ ПОЛОЖЕНИЯ КОВША) (СЕРИЙНЫЙ НОМЕР 5141 11573, 5142 11213 И НИЖЕ)

1Артикул: 6597387, CYLINDER See Illustration TILT CYLINDER/ TS1234 - LH - tilt - Was 6589247 - A
2Артикул: 6597388, CYLINDER See Illustration TILT CYLINDER/ TS1233 - RH - tilt - Was 6589475 - A
3Артикул: 6706719, SHIELD boom step
Подробнее >
ЦИЛИНДРА НАКЛОНА (ПРАВОСТОРОННИЙ) (СЕРИЙНЫЙ НОМЕР 5141 11573, 5142 11213 И НИЖЕ)

ЦИЛИНДРА НАКЛОНА (ПРАВОСТОРОННИЙ) (СЕРИЙНЫЙ НОМЕР 5141 11573, 5142 11213 И НИЖЕ)

1Артикул: 6597388, CYLINDER See BTI312 - tilt
2Артикул: 6589541, CASE 2.5-- (63,5mm) ID
3Артикул: 6597385, PISTON
Подробнее >
ВСПОМОГАТЕЛЬНЫЕ ГИДРАВЛИЧЕСКИЕ МЕХАНИЗМЫ (СЕРИЙНЫЙ НОМЕР 5141 21999, 5142 21999 И НИЖЕ)

ВСПОМОГАТЕЛЬНЫЕ ГИДРАВЛИЧЕСКИЕ МЕХАНИЗМЫ (СЕРИЙНЫЙ НОМЕР 5141 21999, 5142 21999 И НИЖЕ)

1Артикул: 6706722, BRACKET for poppet couplers
2Артикул: 6711839, BRACKET for FF couplers W/ tubes routed inside of lift arm
3Артикул: 6716808, BRACKET for FF couplers W/ tubes outside of lift arm - Was 6712723 - A
Подробнее >
КЛАПАН РЕГУЛИРОВКИ ПОЛОЖЕНИЯ КОВША

КЛАПАН РЕГУЛИРОВКИ ПОЛОЖЕНИЯ КОВША

1Артикул: VALVE, VALVE NLA - W/O solenoid - Order 6673959 valve - If loader is not equipped with on/off switch, also order 6647784 plug, 79K10 O-ring, 6647785 spring & 6647783 load check - Was 6666341 - A
2Артикул: 6675669, VALVE, BPV painted primer red -W/ Ref. 2-21
3Артикул: 6647784, PLUG W/Ref. 3
Подробнее >
ГИДРАВЛИЧЕСКИЙ РЕГУЛИРУЮЩИЙ КЛАПАН (СИСТЕМА РУЧНОГО УПРАВЛЕНИЯ (AHC)) (РЕЗЕРВНЫЙ КЛАПАН)

ГИДРАВЛИЧЕСКИЙ РЕГУЛИРУЮЩИЙ КЛАПАН (СИСТЕМА РУЧНОГО УПРАВЛЕНИЯ (AHC)) (РЕЗЕРВНЫЙ КЛАПАН)

1Артикул: VALVE, VALVE See BTI368 - NLA - valve is minus all fittings, relief valves, anti-cavitation valves, solenoid coils & solenoid spools - remove & use existing parts from old valve or order new parts as needed - Was 6807402 - A
2Артикул: VALVE,, VALVE, BICS See Illustration BICS CONTROL VALVE/ TS1365 - Was 6628571 - A
3Артикул: 29G412, BOLT
Подробнее >
ПОДЪЕМНОЕ УСТРОЙСТВО И КОНТУР УПРАВЛЕНИЯ КОВШОМ (СЕРИЙНЫЙ НОМЕР 5141 11093-21999, 5142 11006-21999)

ПОДЪЕМНОЕ УСТРОЙСТВО И КОНТУР УПРАВЛЕНИЯ КОВШОМ (СЕРИЙНЫЙ НОМЕР 5141 11093-21999, 5142 11006-21999)

1Артикул: 19K5, FITTING W/Ref. 2
2Артикул: 79K6, O RING 10 flat boss face
3Артикул: 99K6, O RING tapered boss face
Подробнее >
ПОДЪЕМНОЕ УСТРОЙСТВО И КОНТУР УПРАВЛЕНИЯ КОВШОМ (СЕРИЙНЫЙ НОМЕР 5141 11092, 5142 11005 И НИЖЕ)

ПОДЪЕМНОЕ УСТРОЙСТВО И КОНТУР УПРАВЛЕНИЯ КОВШОМ (СЕРИЙНЫЙ НОМЕР 5141 11092, 5142 11005 И НИЖЕ)

1Артикул: 6737524, KNOB red square - lift lock valve - Was 6668913 - A
2Артикул: 7D4, NUT
3Артикул: 6707101, SEAL neoprene
Подробнее >
ЦИЛИНДРА НАКЛОНА (ПРАВОСТОРОННИЙ) (СЕРИЙНЫЙ НОМЕР 5141 15043-27005 И 5142 13000-22392)

ЦИЛИНДРА НАКЛОНА (ПРАВОСТОРОННИЙ) (СЕРИЙНЫЙ НОМЕР 5141 15043-27005 И 5142 13000-22392)

1Артикул: 6804392, CYLINDER tilt - Ref. 2-16 - Was 6800682 - A
2Артикул: 6800685, CASE 2.75-- (69,9mm) ID
3Артикул: 6800684, PISTON
Подробнее >
ЦИЛИНДРА НАКЛОНА (ЛЕВОСТОРОННИЙ) (СЕРИЙНЫЙ НОМЕР 5141 11574-15042 И 5142 11214-11338)

ЦИЛИНДРА НАКЛОНА (ЛЕВОСТОРОННИЙ) (СЕРИЙНЫЙ НОМЕР 5141 11574-15042 И 5142 11214-11338)

1Артикул: 6597376, CYLINDER See BTI312 - tilt - Ref. 2-17
2Артикул: CASE, CASE NLA - Order Ref. 1 - Was 6627884 - A
3Артикул: 6597385, PISTON
Подробнее >
РУКОВОДСТВО ПО ЭКСПЛУАТАЦИИ КЛАПАНА УСТРОЙСТВА ДЛЯ ОТПУСКАНИЯ (СЕРИЙНЫЙ НОМЕР 5141 22001-39999, 5142 22001-39999)

РУКОВОДСТВО ПО ЭКСПЛУАТАЦИИ КЛАПАНА УСТРОЙСТВА ДЛЯ ОТПУСКАНИЯ (СЕРИЙНЫЙ НОМЕР 5141 22001-39999, 5142 22001-39999)

1Артикул: 7230495, VALVE, LIFT MANUAL Ref. 2-4 - Was 6667844 - A
2Артикул: BLOCK, BLOCK NSS
3Артикул: 6669087, SEAL KIT
Подробнее >
ГИДРОЗАМОК ПОДЪЕМА (СЕРИЙНЫЙ НОМЕР 5141 21999, 5142 21999 И НИЖЕ)

ГИДРОЗАМОК ПОДЪЕМА (СЕРИЙНЫЙ НОМЕР 5141 21999, 5142 21999 И НИЖЕ)

1Артикул: 6664850, VALVE Ref. 2-12
2Артикул: 6665490, VALVE
3Артикул: 6665609, CHECK VALVE
Подробнее >
ГИДРОЗАМОК НАКЛОНА (СЕРИЙНЫЙ НОМЕР 514121999, 514221999 И НИЖЕ)

ГИДРОЗАМОК НАКЛОНА (СЕРИЙНЫЙ НОМЕР 514121999, 514221999 И НИЖЕ)

1Артикул: 6664849, VALVE Ref. 2-13
2Артикул: 6665610, VALVE
3Артикул: COIL, COIL NLA - W/O diode - Was 6667138 - A
Подробнее >
ГИДРАВЛИЧЕСКИЙ РЕГУЛИРУЮЩИЙ КЛАПАН (СИСТЕМА УСОВЕРШЕНСТВОВАННОГО КОНТРОЛЯ) (РЕЗЕРВНЫЙ КЛАПАН)

ГИДРАВЛИЧЕСКИЙ РЕГУЛИРУЮЩИЙ КЛАПАН (СИСТЕМА УСОВЕРШЕНСТВОВАННОГО КОНТРОЛЯ) (РЕЗЕРВНЫЙ КЛАПАН)

1Артикул: 7222720, VALVE, CONTROL SERVICE Ref. 2-56
2Артикул: VALVE,, VALVE, BICS See Illustration BICS CONTROL VALVE/ TS1365 - Was 6628571 - A
3Артикул: 6589564, RETAINER
Подробнее >
ПОДЪЕМНОЕ УСТРОЙСТВО И КОНТУР УПРАВЛЕНИЯ КОВШОМ (СЕРИЙНЫЙ НОМЕР 5141 22001-39999, 5142 22001-39999)

ПОДЪЕМНОЕ УСТРОЙСТВО И КОНТУР УПРАВЛЕНИЯ КОВШОМ (СЕРИЙНЫЙ НОМЕР 5141 22001-39999, 5142 22001-39999)

1Артикул: 21KB0606, FTG HYD STRAIGHT TEE W/Ref. 2 - Was 21KV00005B - A
2Артикул: 97K6, O RING flared end
3Артикул: 99K6, O RING
Подробнее >
ГИДРАВЛИЧЕСКИЙ РЕГУЛИРУЮЩИЙ КЛАПАН (РЕЗЕРВНЫЙ КЛАПАН) (5141 22001-39999, 5142 22001-39999)

ГИДРАВЛИЧЕСКИЙ РЕГУЛИРУЮЩИЙ КЛАПАН (РЕЗЕРВНЫЙ КЛАПАН) (5141 22001-39999, 5142 22001-39999)

1Артикул: VALVE, VALVE See Illustration HYDRAULIC CONTROL VALVE/ NA6732 See BTI323 - NLA - W/fittings - Ref. 2-56 - Was 6806180 - A
2Артикул: VALVE,, VALVE, BICS See Illustration BICS CONTROL VALVE/ TS1365 - Was 6628571 - A
3Артикул: 6589564, RETAINER
Подробнее >
СХЕМА ГИДРАВЛИЧЕСКОЙ СИСТЕМЫ (БЕЗ КЛАПАНА РЕГУЛИРОВКИ ПОЛОЖЕНИЯ КОВША) (СЕРИЙНЫЙ НОМЕР 5141 27006-39999, 5142 22393-39999)

СХЕМА ГИДРАВЛИЧЕСКОЙ СИСТЕМЫ (БЕЗ КЛАПАНА РЕГУЛИРОВКИ ПОЛОЖЕНИЯ КОВША) (СЕРИЙНЫЙ НОМЕР 5141 27006-39999, 5142 22393-39999)

1Артикул: CYLINDER, CYLINDER See Illustration TILT CYLINDER/ PE1550 - LH tilt
2Артикул: CYLINDER, CYLINDER See Illustration TILT CYLINDER/ PE1549 - RH tilt
3Артикул: 6710491, SHIELD boom step
Подробнее >
ВСПОМОГАТЕЛЬНЫЕ ГИДРАВЛИЧЕСКИЕ МЕХАНИЗМЫ (СЕРИЙНЫЙ НОМЕР 5141 22001-39999, 5142 22001-39999)

ВСПОМОГАТЕЛЬНЫЕ ГИДРАВЛИЧЕСКИЕ МЕХАНИЗМЫ (СЕРИЙНЫЙ НОМЕР 5141 22001-39999, 5142 22001-39999)

1Артикул: 6716808, BRACKET Was 6712723 - A
2Артикул: 84G3712, BOLT 5
3Артикул: CONNECTOR, CONNECTOR NLA - W/Ref. 5 - tapered boss face - Was 6716090 - A
Подробнее >
СХЕМА ГИДРАВЛИЧЕСКОЙ СИСТЕМЫ (БЕЗ КЛАПАНА РЕГУЛИРОВКИ ПОЛОЖЕНИЯ КОВША) (СЕРИЙНЫЙ НОМЕР 5141 22001-27005, 5142 22001-22392)

СХЕМА ГИДРАВЛИЧЕСКОЙ СИСТЕМЫ (БЕЗ КЛАПАНА РЕГУЛИРОВКИ ПОЛОЖЕНИЯ КОВША) (СЕРИЙНЫЙ НОМЕР 5141 22001-27005, 5142 22001-22392)

1Артикул: CYLINDER, CYLINDER See Illustration TILT CYLINDER/ MS1631 - LH - tilt
2Артикул: CYLINDER, CYLINDER See Illustration TILT CYLINDER/ MS1630 - RH - tilt
3Артикул: 6710491, SHIELD boom step
Подробнее >
РЕГУЛИРУЮЩИЙ КЛАПАН СИСТЕМЫ БЛОКИРОВКИ УПРАВЛЕНИЯ (BICS) (СЕРИЙНЫЙ НОМЕР 514122001 - 514139999, 514222001 - 514239999)

РЕГУЛИРУЮЩИЙ КЛАПАН СИСТЕМЫ БЛОКИРОВКИ УПРАВЛЕНИЯ (BICS) (СЕРИЙНЫЙ НОМЕР 514122001 - 514139999, 514222001 - 514239999)

1Артикул: VALVE,, VALVE, BICS NLA - D series coil compatible - Ref. 2-5, 6 (6667687 stem), 7 & 8 - Order 7297071 BICS valve & Ref. 9 (7272732 coil) - Was 6628571 - A
2Артикул: 7297071, VALVE, BICS E series coil compatible - Ref. 2-5, 6 (7272731 stem), 7 & 8
3Артикул: 6689739, VALVE pilot operated - Was 6668765 - A
Подробнее >
СХЕМА ГИДРАВЛИЧЕСКОЙ СИСТЕМЫ (С КЛАПАНОМ РЕГУЛИРОВКИ ПОЛОЖЕНИЯ КОВША) (СЕРИЙНЫЙ НОМЕР 5141 11573, 5142 11213 И НИЖЕ)

СХЕМА ГИДРАВЛИЧЕСКОЙ СИСТЕМЫ (С КЛАПАНОМ РЕГУЛИРОВКИ ПОЛОЖЕНИЯ КОВША) (СЕРИЙНЫЙ НОМЕР 5141 11573, 5142 11213 И НИЖЕ)

1Артикул: 6597387, CYLINDER See Illustration TILT CYLINDER/ TS1234 - LH - tilt - Was 6589247 - A
2Артикул: 6597388, CYLINDER See Illustration TILT CYLINDER/ TS1233 - RH - tilt - Was 6589475 - A
3Артикул: 6706719, SHIELD boom step
Подробнее >
ОРГАНЫ УПРАВЛЕНИЯ

ОРГАНЫ УПРАВЛЕНИЯ

1Артикул: 95D6, NUT Was 91D000006B - A
2Артикул: 6563914, WASHER
3Артикул: 7115219, PEDAL Was 6726680 - A
Подробнее >
ЦИЛИНДРА НАКЛОНА (ПРАВОСТОРОННИЙ) (СЕРИЙНЫЙ НОМЕР 5141 27006-39999, 5142 22393-39999)

ЦИЛИНДРА НАКЛОНА (ПРАВОСТОРОННИЙ) (СЕРИЙНЫЙ НОМЕР 5141 27006-39999, 5142 22393-39999)

1Артикул: 6811612, CYLINDER tilt - Ref. 2-16 - Was 6805512 - A
2Артикул: 6811613, CASE 2.75-- (69,9mm) ID - Was 6805515 - A
3Артикул: 6800684, PISTON
Подробнее >