ГИДРАВЛИЧЕСКАЯ СИСТЕМА в Алматы
НАСОС
1Артикул: 5364662488, PUMP, HYD TANDEM
2Артикул: 5364663670, CONTROL VALVE
3Артикул: 5364656343, VALVE
ГИДРОУСТАНОВКА КЛАПАН УДЕРЖАНИЯ НАГРУЗКИ РУКОЯТИ ЧЕРПАКА - КРУГОВАЯ СХЕМА
1Артикул: 5167659758, LOAD CHECK VALVE
2Артикул: 5000261400, FLANGE
3Артикул: 5000281401, SPACER
ГРУППА КЛАПАНОВ
1Артикул: 5606660454, VALVE ASSY 4 section valve bank - SM12 - gear pump circuit-at option 2nd additional - Includes Ref. 2-7
2Артикул: INLET, INLET VALVE NSS - Auxiliary - W/Ref. 8-11 - Was 5606664272 - A
3Артикул: 5606664178, DIRECTIONAL VALVE Boom Offset - W/Ref. 9-10
КРУГОВОЙ ТРАНСПОРТЕР
1Артикул: 5383670001, SWIVEL PASS
2Артикул: 1008707324, BOLT
3Артикул: 1290707020, WASHER
ГИДРОУСТАНОВКА РУКОЯТЬ ЧЕРПАКА, ОДИНОЧНЫЙ 2200 ММ
1Артикул: 4266120404, HOSE
2Артикул: 4466123501, HOSE
3Артикул: 5001207159, DISTRIBUTOR BLOCK
КЛАПАН С СЕРВОПРИВОДОМ ДЖОЙСТИК
1Артикул: 5606658882, JOYSTICK RH W/Ref. 3-11
2Артикул: 5606658880, JOYSTICK LH W/Ref. 4-12
3Артикул: 5606664424, HANDLE JOYSTICK RH
ГИДРОУСТАНОВКА ДОПОЛНИТЕЛЬНАЯ КРУГОВАЯ ЦЕПЬ
1Артикул: 1915060359, FITTING
2Артикул: 4158215366, HOSE
3Артикул: 0190303006, BRACKET
ПОВОРОТНЫЙ МЕХАНИЗМ
1Артикул: 5904670005, SLEW GEAR
2Артикул: 5904658719, BRAKE CASING
3Артикул: 5904658118, BOLT
ГИДРОУСТАНОВКА КЛАПАН УДЕРЖАНИЯ НАГРУЗКИ РУКОЯТИ ЧЕРПАКА - ОДИНОЧНЫЙ
1Артикул: 5653093560, BINDER
2Артикул: 5660095200, HOSE CLIP
3Артикул: 0110012050, RUBBER LAYER
РУКОЯТЬ ЧЕРПАКА КРУГОВАЯ СХЕМА
1Артикул: 0209169002, ARM, DIPPER W/A EXC
2Артикул: 5809625667, BUSHING
3Артикул: 0176106055, PIN
ГИДРОУСТАНОВКА ШАССИ
1Артикул: 1915060798, FITTING
2Артикул: 4466145501, HOSE
3Артикул: 1924060166, ELBOW FITTING
ГИДРАВЛИЧЕСКАЯ УСТАНОВКА ОГРАНИЧЕНИЕ СТРЕЛЫ ПО ВЫСОТЕ (СТРЕЛЫ С РУГОВОЙ СХЕМОЙ)
1Артикул: 5320001001, CONTROL VALVE W/Ref. 12
2Артикул: 1008707115, BOLT
3Артикул: 1343707055, WASHER
ГИДРОЦИЛИНДР ШАРНИРНОЕ СОЕДИНЕНИЕ
1Артикул: 6501088000, HYDR. CYLINDER
2Артикул: 6501088003, CYLINDER BARREL
3Артикул: 1950000814, LINKAGE BEARING
КЛАПАН С СЕРВОПРИВОДОМ МЕДЛЕННОДЕЙСТВУЮЩИЙ БЛОК
1Артикул: 5368632563, VALVE ASSEMBLY W/Ref. 2-13
2Артикул: 5368655678, SOLENOID ASSY
3Артикул: 5368655687, COIL
ВНУТРЕННИЕ ДЕТАЛИ
1Артикул: 5364663672, PISTON
2Артикул: ADJUSTER, ADJUSTER NSS
3Артикул: 5553205115, O-RING
РЕДУКТОР ХОДА
1Артикул: 5364663386, SEAL SQUARE CUT Seal Ring
2Артикул: 5364663523, CONNECTION PLATE
3Артикул: 5364663097, PRESS RING
ГИДРОУСТАНОВКА ПЛАВАЮЩИЙ РЕЖИМ БУЛЬДОЗЕРНОГО ОТВАЛА
1Артикул: 5003700002, DIRECT CONTR. VALVE NG06 W/Ref. 12-15
2Артикул: 5003700003, CONNECTING PLATE
3Артикул: 1045907011, BOLT
КРЫШКА ФЛАНЦА
1Артикул: FLANGE, FLANGE COVER NSS
2Артикул: GASKET, GASKET NSS
3Артикул: SCREW, SCREW NSS
НАСОС ДЛЯ ДОЗАПРАВКИ
1Артикул: 5531001001, PUMP W/Ref. 24
2Артикул: 6190250005, PLATE
3Артикул: 1008707909, BOLT
ГИДРОУСТАНОВКА МОНОБЛОК СТРЕЛЫ
1Артикул: 1915060278, FITTING
2Артикул: 1915060470, FITTING
3Артикул: 1915060476, FITTING
ХОДОВОЙ ПРИВОД
1Артикул: 5459660217, MOTOR, DRIVE HYD Was 5999991227 - D
2Артикул: 5459661101, PLANETARY WHEEL
3Артикул: 5459661102, SUN WHEEL
ГИДРОЦИЛИНДР КОВШ
1Артикул: 6500778700, HYDR. CYLINDER Includes Ref. 2-19
2Артикул: 6500778703, CYLINDER BARREL
3Артикул: 1950000814, LINKAGE BEARING
ГИДРОУСТАНОВКА 2 ЧАСТЬ СТРЕЛЫ С КРУГОВОЙ СХЕМОЙ
1Артикул: 4462080304, HOSE
2Артикул: 1915060871, FITTING
3Артикул: 1921060168, FITTING
ГИДРОЦИЛИНДР ПОВОРОТНЫЙ КОВШ 1250 ММ
1Артикул: 6502045000, HYDRAULIC CYLINDER
2Артикул: 6502045003, PIPE
3Артикул: 1456622670, CIRCLIP
ГИДРОУСТАНОВКА ОДНОКАНАЛЬНАЯ ДОПОЛНИТЕЛЬНАЯ ЦЕПЬ
1Артикул: 1915060359, FITTING
2Артикул: 4158215366, HOSE
3Артикул: 0190303006, BRACKET
ГИДРОУСТАНОВКА МОНОБЛОК ОГРАНИЧЕНИЯ СТРЕЛЫ ПО ВЫСОТЕ - СТРЕЛА - НОВАЯ ВЕРСИЯ
1Артикул: 5320001001, CONTROL VALVE W/Ref. 12
2Артикул: 1007707514, BOLT
3Артикул: 1343707055, WASHER
ГИДРОЦИЛИНДР КРУГОВАЯ СХЕМА ПРОМЕЖУТОЧНОЙ СТРЕЛЫ
1Артикул: 6501059000, HYDR. CYLINDER WRef. 2-18
2Артикул: 6501059003, CYLINDER BARREL
3Артикул: 1950000814, LINKAGE BEARING
РЕГУЛИРУЮЩИЙ КЛАПАН
1Артикул: 5364663670, CONTROL VALVE
2Артикул: 1971958011, O-RING
3Артикул: 1045907713, PIN
ГИДРОУСТАНОВКА ОБОРУДОВАНИЕ ДЛЯ ПОВОРОТА
1Артикул: 1915060266, FITTING
2Артикул: 4120041156, HOSE
3Артикул: 1915060264, FITTING
ГИДРОЦИЛИНДР ПОВОРОТНЫЙ КОВШ 1500 ММ
1Артикул: 5018001009, HYDR. CYLINDER W/Ref. 2-16
2Артикул: 5018001010, SEAL KIT W/Ref. 3-7
3Артикул: 5018001029, SCRAPER RING
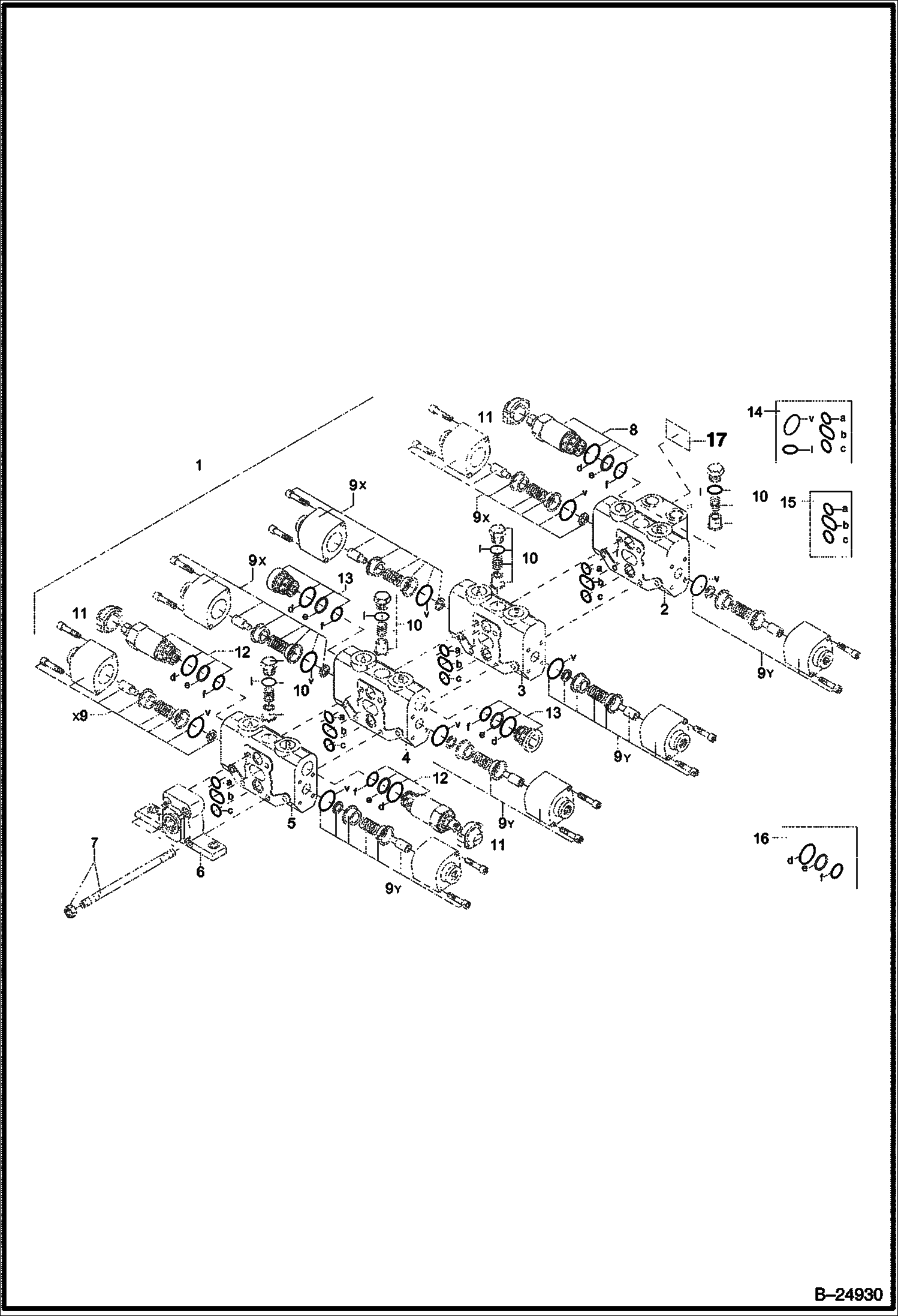
ГИДРОУСТАНОВКА ШАРНИРНОЕ СОЕДИНЕНИЕ, ПРИВОД
1Артикул: VALVE,, VALVE, CONTROL NSS - 6 section valve bank - Was 5606660410 - A
2Артикул: 6190008010, VALVE BRACKET
3Артикул: 1008707230, BOLT
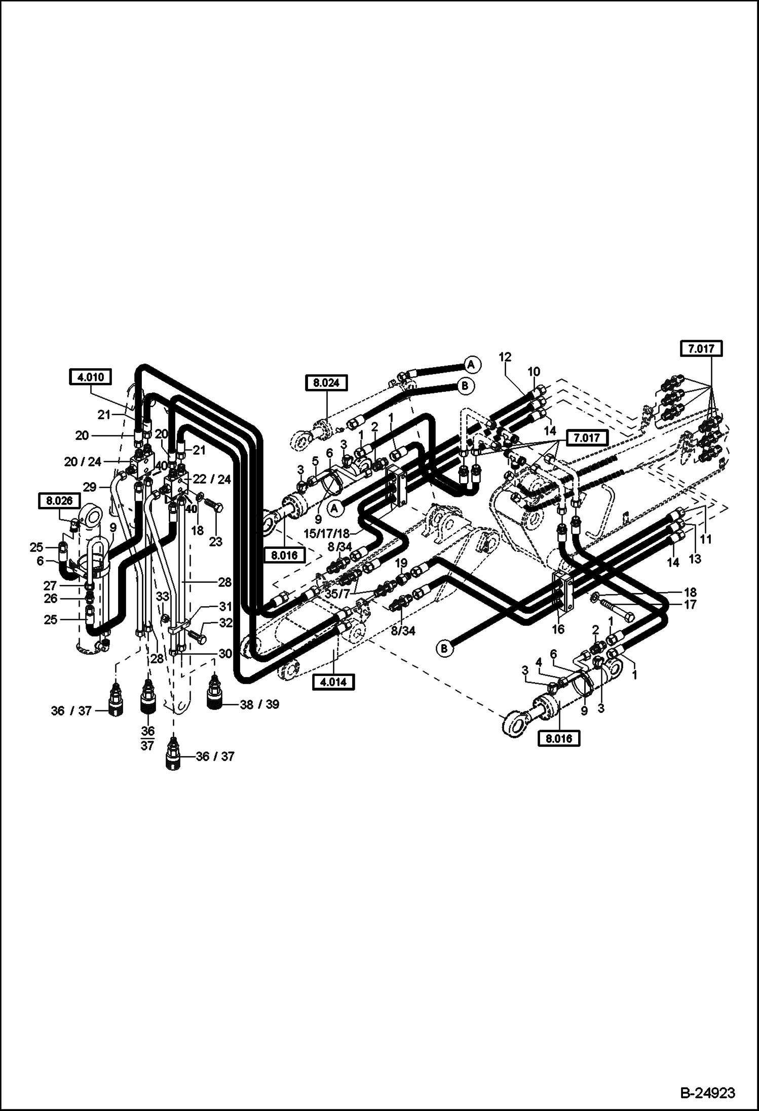
ТРУБОПРОВОДЫ
1Артикул: TUBE, TUBE NSS
2Артикул: 5364663199, FITTING
3Артикул: 5364663081, INTERMEDIATE RING
ЦИЛИНДРЫ
1Артикул: PISTON, PISTON NSS
2Артикул: CYLINDER, CYLINDER NSS
3Артикул: RETAINING, RETAINING PLATE NSS
ГИДРОЗАМОК
1Артикул: 5167659758, LOAD CHECK VALVE
2Артикул: PLUG, PLUG NLA
3Артикул: PLUG, PLUG NLA
ГИДРОЦИЛИНДР РУКОЯТЬ ЧЕРПАКА
1Артикул: 6501244500, CYLINDER, ARM DIPPER Includes Ref. 2 - 18
2Артикул: TUBE,, TUBE, CYL DIPPER ARM NLA - Order 7022160, Also Includes 6501244703 cylinder pipe, 1915060576 screwed socket, 1915060577 straight fitting and 6501244503 cylinder tube - Was 6501244503 - A
3Артикул: 1950000865, LINKAGE BEARING
СОЕДИНИТЕЛЬНАЯ ПЛАНКА С КЛАПАНАМИ
1Артикул: 5364663523, CONNECTION PLATE W/Ref. 2-24
2Артикул: 5364663096, PRESS RELIEF VALVE
3Артикул: 5364663388, CHECK VALVE
ГИДРОУСТАНОВКА КЛАПАН УДЕРЖАНИЯ НАГРУЗКИ СТРЕЛЫ - ОДИНОЧНЫЙ
1Артикул: 5167659758, LOAD CHECK VALVE
2Артикул: 1008707019, BOLT
3Артикул: 1290707018, WASHER
ГИДРОЦИЛИНДР КРОНШТЕЙН ОТВАЛА
1Артикул: 6500925500, HYDR. CYLINDER Includes Ref. 2-18
2Артикул: 6500925503, CYLINDER BARREL
3Артикул: 1950000814, LINKAGE BEARING
ГИДРОУСТАНОВКА ОГРАНИЧИТЕЛЬ ПОВОРОТА
1Артикул: 5320001001, CONTROL VALVE
2Артикул: 5320001002, SOLENOID CARTRIDGE
3Артикул: 1008707115, BOLT
КЛАПАНЫ
1Артикул: 5364656343, VALVE
2Артикул: 5364663599, SPACER
3Артикул: 5364663600, ROLL PIN
ГИДРОЦИЛИНДР ПОВОРОТНЫЙ КОВШ
1Артикул: 5455660823, CYLINDER Includes Ref. 3-5
2Артикул: PIPE, PIPE NLA - Order 5455660823 - Was 5455660824 - A
3Артикул: 5455660825, ROD, CYL ASSY
ГИДРОЦИЛИНДР ВИЛКА
1Артикул: 5018001094, CYLINDER W/Ref. 2-6
2Артикул: 5018001093, BUSHING
3Артикул: 5018001095, PISTON
ГИДРОЦИЛИНДР СТРЕЛА
1Артикул: 6501609000, HYDR. CYLINDER Includes Ref. 2-19
2Артикул: 6501609003, CYLINDER BARREL
3Артикул: 1950000865, LINKAGE BEARING
ГИДРОУСТАНОВКА 1 ЧАСТЬ СТРЕЛЫ С КРУГОВОЙ СХЕМОЙ
1Артикул: 0190008015, SCREWED SOCKET
2Артикул: 1915060476, FITTING
3Артикул: 1934060219, FITTING
КРЫШКИ И ЗАГЛУШКИ
1Артикул: STOP, STOP NSS
2Артикул: CONTROL, CONTROL VALVE NSS
3Артикул: SHIM, SHIM NSS
ГИДРОУСТАНОВКА РУКОЯТЬ ЧЕРПАКА, ОДИНОЧНЫЙ 2000 ММ
1Артикул: 4266120404, HOSE
2Артикул: 4466123501, HOSE
3Артикул: 5001207159, DISTRIBUTOR BLOCK
КЛАПАН ПЕДАЛЬНЫЙ В СБОРЕ
1Артикул: 5606658830, PEDAL Ref. 2-19
2Артикул: SET, SET SCREW NSS - Order Ref. 3
3Артикул: 5606664059, PIN Includes Ref. 2, 4 & 5
ГИДРОУСТАНОВКА ДВИЖЕНИЕ ПО ЗАМКНУТОМУ КОНТУРУ
1Артикул: 1915060266, FITTING
2Артикул: 1924060156, ELBOW FITTING
3Артикул: 4120129156, HOSE
ГИДРОУСТАНОВКА СЕРВОУПРАВЛЕНИЕ ХОДОМ, ДОПОЛНИТЕЛЬНЫЙ ВЫХОДНОЙ ПАТРУБОК
1Артикул: 5606658896, PEDAL
2Артикул: 1008707018, BOLT
3Артикул: 1290707018, WASHER
РАСПРЕДЕЛИТЕЛЬНЫЙ ПОРШЕНЬ
1Артикул: CONTROL, CONTROL PISTON NSS
2Артикул: PISTON, PISTON GUIDE NSS
3Артикул: NSS, NSS
ГИДРОУСТАНОВКА СЕРВОУПРАВЛЕНИЕ БУЛЬДОЗЕРНОГО ОТВАЛА, ШАРНИРНОЕ СОЕДИНЕНИЕ
1Артикул: 5606658830, PEDAL See Illustration PEDAL VALVE ASSEMBLY/ NA1402 W/Ref. 34
2Артикул: 1008707018, BOLT
3Артикул: 1290707018, WASHER