+7 (701) 588 50 05 Телефон для связи
RU

WhatsApp

Позвонить

ГИДРАВЛИЧЕСКАЯ СИСТЕМА в Алматы

ГИДРОПРИВОДНОЙ НАСОС В СБОРЕ

ГИДРОПРИВОДНОЙ НАСОС В СБОРЕ

1Артикул: 6909447, PUMP, HYD ASSY W/Ref. 2-44
2Артикул: BODY, BODY NSS - Order Ref. 1
3Артикул: 7012557, BODY
Подробнее >
ЦИЛИНДРА НАКЛОНА (7212287)

ЦИЛИНДРА НАКЛОНА (7212287)

1Артикул: 7212287, CYLINDER, TILT Ref. 2-20 - Was 7232711 - D
2Артикул: 7024415, KIT, ROD W/Ref. 6
3Артикул: 7031318, KIT, CASING W/Ref. 4
Подробнее >
ЦИЛИНДР СТАБИЛИЗАТОРА (7212855)

ЦИЛИНДР СТАБИЛИЗАТОРА (7212855)

1Артикул: 7212855, CYLINDER, STABILIZER Ref. 1-17
2Артикул: 7030196, KIT, ROD W/Ref. 6-8 & 11
3Артикул: 7030197, KIT, CYLINDER TUBE W/Ref. 4, 7 & 8
Подробнее >
ГИДРАВЛИЧЕСКИЙ РЕГУЛИРУЮЩИЙ КЛАПАН

ГИДРАВЛИЧЕСКИЙ РЕГУЛИРУЮЩИЙ КЛАПАН

1Артикул: 6918313, Hydraulic Control Valve Was 95265.5
2Артикул: 95283.8, Section Valve
3Артикул: 7031248, KIT, SEAL Was 95300.0 - A
Подробнее >
ГИДРАВЛИЧЕСКИЙ ШЕСТЕРЕННЫЙ НАСОС

ГИДРАВЛИЧЕСКИЙ ШЕСТЕРЕННЫЙ НАСОС

1Артикул: 94518.8, HYDRAULIC PUMP Ref. 2-8
2Артикул: 7024878, O-RING
3Артикул: MOTOR, MOTOR NLA - Order 94518.8 - Was 7024879 - A
Подробнее >
ЦИЛИНДРА НАКЛОНА (6914552 И 6932908)

ЦИЛИНДРА НАКЛОНА (6914552 И 6932908)

1Артикул: CYLINDER, CYLINDER ASSY NLA - Order 6932908 cylinder - Ref. 2-13 - Was 6914552 - A
2Артикул: CYLINDER,, CYLINDER, TILT See Illustration TILT CYLINDER/ EM10110 - NLA - Order 7212287 cylinder & (2) of 17KB1010 fitting - Was 6932908 - A
3Артикул: 97441.0, Rod Use W/Ref. 1 (6914552 cylinder)
Подробнее >
ТЕЛЕСКОПИЧЕСКИЙ ЦИЛИНДР (6927316)

ТЕЛЕСКОПИЧЕСКИЙ ЦИЛИНДР (6927316)

1Артикул: 7215525, CYLINDER, EXTENSION W/Ref. 2-10 - Order kit 6925369 when replacing the old cylinder with new model - Was 6927316 - A
2Артикул: 7030223, KIT, CASING Was 97018.6 - B
3Артикул: 97440.2, Plug
Подробнее >
ТЕЛЕСКОПИЧЕСКИЙ ЦИЛИНДР (6927315)

ТЕЛЕСКОПИЧЕСКИЙ ЦИЛИНДР (6927315)

1Артикул: 7212293, CYLINDER, EXTENSION W/Ref. 2-9 - Order kit 6925370 when replacing the old cylinder with the new model - Was 6927315 - A
2Артикул: 7030228, KIT, CASING Was 97011.1 - B
3Артикул: 97440.2, Plug
Подробнее >
БЫСТРОУСТАНАВЛИВАЕМЫЙ ЦИЛИНДР

БЫСТРОУСТАНАВЛИВАЕМЫЙ ЦИЛИНДР

1Артикул: 6916225, RAM, LOCKING W/Ref. 2-5
2Артикул: 6912110, RAM CYLINDER
3Артикул: 6912111, RAM ROD
Подробнее >
ШЛАНГИ РУЛЕВОГО УПРАВЛЕНИЯ И ФИТИНГИ (С АМОРТИЗАТОРОМ)

ШЛАНГИ РУЛЕВОГО УПРАВЛЕНИЯ И ФИТИНГИ (С АМОРТИЗАТОРОМ)

1Артикул: 6909447, PUMP, HYD ASSY
2Артикул: 7229423, FITTING, HYD Was 100375-38S - A
3Артикул: 79147.5, Hose
Подробнее >
ЦИЛИНДР СТАБИЛИЗАТОРА (6914550)

ЦИЛИНДР СТАБИЛИЗАТОРА (6914550)

1Артикул: CYLINDER, CYLINDER ASSY NLA - Ref. 2-13 - Order 7212855 cylinder, 24K5 plug & (2) of 18KB0808 fitting - Was 6914550 - A
2Артикул: RAM, RAM ROD NLA - Order Ref. 1 - Was 6912072 - A
3Артикул: 7030198, PISTON Was 97033.5 - A
Подробнее >
УСТАНОВКА ГИДРАВЛИЧЕСКОГО РЕГУЛИРУЮЩЕГО КЛАПАНА

УСТАНОВКА ГИДРАВЛИЧЕСКОГО РЕГУЛИРУЮЩЕГО КЛАПАНА

1Артикул: 6918313, Hydraulic Control Valve See Illustration HYDRAULIC CONTROL VALVE/ SPC003032 Was 95265.5 - A
2Артикул: 6912206, Support
3Артикул: 89519.3, Washer
Подробнее >
УПРАВЛЕНИЕ ГИДРАВЛИКОЙ КАБИНЫ

УПРАВЛЕНИЕ ГИДРАВЛИКОЙ КАБИНЫ

1Артикул: 010370-87T, ELBOW PIECE
2Артикул: 67196.6, Elbow
3Артикул: 008372-02C, UNION
Подробнее >
ТЕЛЕСКОПИЧЕСКИЙ ЦИЛИНДР (6911233)

ТЕЛЕСКОПИЧЕСКИЙ ЦИЛИНДР (6911233)

1Артикул: CYLINDER, CYLINDER See Illustration TELESCOPE CYLINDER/ EM5399 NLA - W/Ref. 2-9 & 11 - Was 6911233 - A
2Артикул: 7030228, KIT, CASING Was 97011.1 - B
3Артикул: 97440.2, Plug
Подробнее >
ГИДРАВЛИЧЕСКАЯ СИСТЕМА РАБОЧЕГО ТОРМОЗА

ГИДРАВЛИЧЕСКАЯ СИСТЕМА РАБОЧЕГО ТОРМОЗА

1Артикул: 6915373, Brake Valve
2Артикул: 78927.1, Plug
3Артикул: 000350-01U, WASHER
Подробнее >
ЦИЛИНДР ВЫРАВНИВАНИЯ РАМЫ

ЦИЛИНДР ВЫРАВНИВАНИЯ РАМЫ

1Артикул: CYLINDER, CYLINDER ASSY NLA - Order 7212856 & 6802867 (2)
2Артикул: 7212856, CYLINDER, FRAME LEVELING Ref. 2-12
3Артикул: 97030.1, Cylinder
Подробнее >
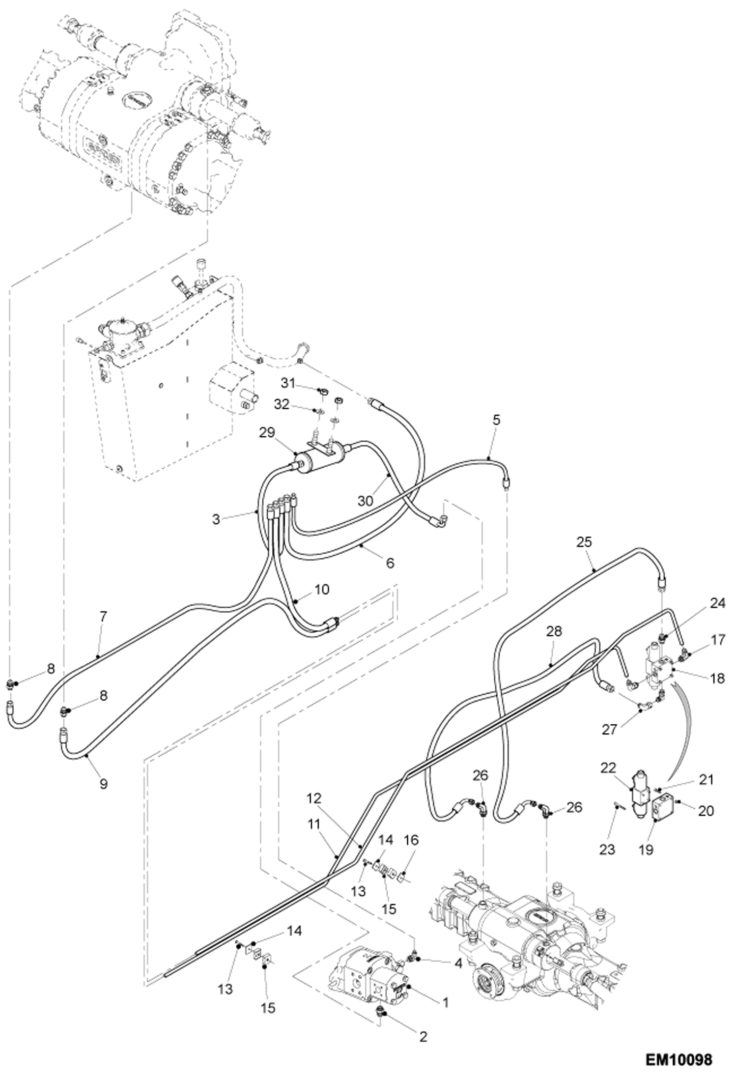
УСТАНОВКА ГИДРОПРИВОДНОГО НАСОСА

УСТАНОВКА ГИДРОПРИВОДНОГО НАСОСА

1Артикул: 6909447, PUMP, HYD ASSY See Illustration HYDRAULIC PUMP ASSY/ SPC003029 Was 6909808
2Артикул: 015370-11P, ELBOW PIECE Was 7225158 - B,D
3Артикул: 7239254, FITTING, HYD Was 014375-30H - A
Подробнее >