+7 (701) 588 50 05 Телефон для связи
RU

WhatsApp

Позвонить

ГИДРАВЛИЧЕСКАЯ СИСТЕМА в Алматы

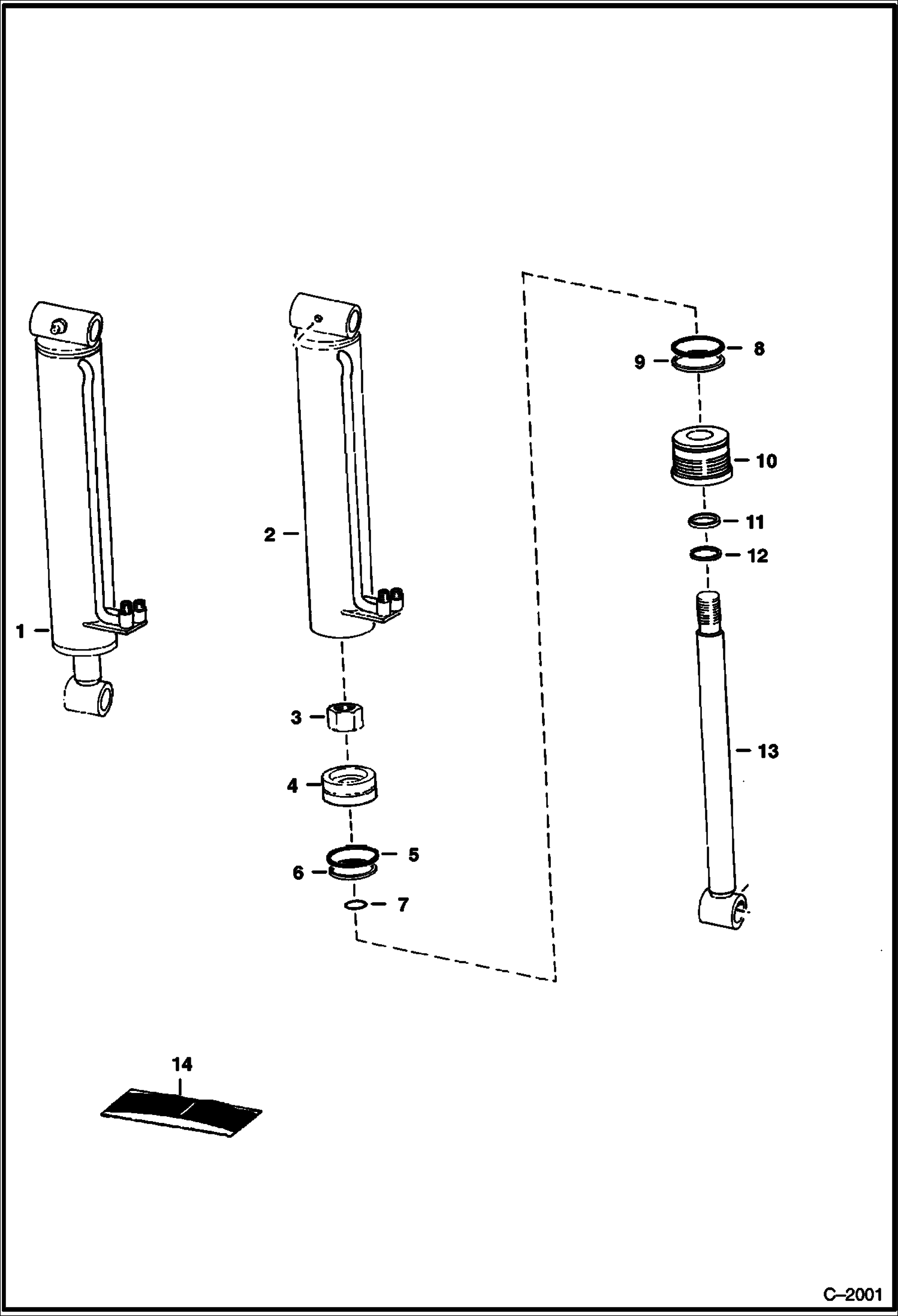
ЦИЛИНДРА НАКЛОНА (СО СМЕННЫМ ПАТРУБКОМ)

ЦИЛИНДРА НАКЛОНА (СО СМЕННЫМ ПАТРУБКОМ)

1Артикул: 6589331, CYLINDER, TILT tilt - Ref. 2 - 16
2Артикул: CASE, CASE NLA - Order 6589331 - Was 6589332 - A
3Артикул: 6810539, NUT Was 6804592 - A
Подробнее >
ЦИЛИНДРА НАКЛОНА (С НАВАРЕННОЙ ТРУБКОЙ)

ЦИЛИНДРА НАКЛОНА (С НАВАРЕННОЙ ТРУБКОЙ)

1Артикул: CYLINDER, CYLINDER NLA - Order 6589331 Cylinder
2Артикул: CASE, CASE NLA - Order 6589331 Cylinder - Was 6592038 - A
3Артикул: 6810539, NUT Was 6804592 - A
Подробнее >
ГИДРАВЛИЧЕСКИЙ РЕГУЛИРУЮЩИЙ КЛАПАН (СЕРИЙНЫЙ НОМЕР 13001 И ВЫШЕ) (BOBCAT)

ГИДРАВЛИЧЕСКИЙ РЕГУЛИРУЮЩИЙ КЛАПАН (СЕРИЙНЫЙ НОМЕР 13001 И ВЫШЕ) (BOBCAT)

1Артикул: VALVE, VALVE See Illustration HYDRAULIC CONTROL VALVE/ E2403 NLA - REF. 2-49 -SERVICE VALVE DOES NOT INCLUDE RELIEFS AND FITTINGS - VALVE SHOWN USES STAMPED BOOT RETAINERS, REF. 5, WHICH FIT FLUSH TO VALVE BODY - ORDER 6802997 - WAS 6586286 - A
2Артикул: 6588165, SCREW Was 73G000410B - B
3Артикул: 22E4, WASHER
Подробнее >
ПЕДАЛИ УПРАВЛЕНИЯ (СЕРИЙНЫЙ НОМЕР 13001 И ВЫШЕ)

ПЕДАЛИ УПРАВЛЕНИЯ (СЕРИЙНЫЙ НОМЕР 13001 И ВЫШЕ)

1Артикул: 85D6, NUT, 5
2Артикул: 6563914, WASHER
3Артикул: 7115219, PEDAL Was 6726680 - A
Подробнее >
ГИДРАВЛИЧЕСКИЙ КЛАПАН (СЕРИЙНЫЙ НОМЕР 12999 И НИЖЕ)(CESSNA)

ГИДРАВЛИЧЕСКИЙ КЛАПАН (СЕРИЙНЫЙ НОМЕР 12999 И НИЖЕ)(CESSNA)

1Артикул: 6562031, VALVE hydraulic
2Артикул: 6632473, PLUG W/Ref. 3 - Was 947754B - A
3Артикул: 58K112, O RING 10
Подробнее >
СХЕМА ГИДРАВЛИЧЕСКОЙ СИСТЕМЫ (СЕРИЙНЫЙ НОМЕР 13001 И ВЫШЕ)

СХЕМА ГИДРАВЛИЧЕСКОЙ СИСТЕМЫ (СЕРИЙНЫЙ НОМЕР 13001 И ВЫШЕ)

1Артикул: CYLINDER, CYLINDER See Illustration LIFT CYLINDER/ B6942 See Illustration LIFT CYLINDER/ B2206 LIFT
2Артикул: 6553159, TUBE
3Артикул: 6553160, TUBE
Подробнее >
АВЛИЧЕСКИЙ РЕГУЛИРУЮЩИЙ КЛАПАН (РЕЗЕРВНЫЙ КЛАПАН - СОЕДИНЕНИЯ МИНУС)

АВЛИЧЕСКИЙ РЕГУЛИРУЮЩИЙ КЛАПАН (РЕЗЕРВНЫЙ КЛАПАН - СОЕДИНЕНИЯ МИНУС)

1Артикул: VALVE,, VALVE, CONTROL SERVICE NLA - Order components - Ref. 2 - 44 - Make sure this is the correct style valve - Valve shown here uses flat boot retainers, Ref. 5, which fit above protruding spool seal retainer - Was 6802997 - A
2Артикул: 29G412, BOLT
3Артикул: 54K20002, O-RING 10
Подробнее >
СХЕМА ГИДРАВЛИЧЕСКОЙ СИСТЕМЫ (СЕРИЙНЫЙ НОМЕР 12999 И НИЖЕ)

СХЕМА ГИДРАВЛИЧЕСКОЙ СИСТЕМЫ (СЕРИЙНЫЙ НОМЕР 12999 И НИЖЕ)

1Артикул: CYLINDER, CYLINDER See Illustration LIFT CYLINDER/ B6942 See Illustration LIFT CYLINDER/ B2206 LIFT
2Артикул: 6553159, TUBE
3Артикул: 6553160, TUBE
Подробнее >
ВСПОМОГАТЕЛЬНЫЕ ГИДРАВЛИЧЕСКИЕ МЕХАНИЗМЫ (СЕРИЙНЫЙ НОМЕР 12999 И НИЖЕ)

ВСПОМОГАТЕЛЬНЫЕ ГИДРАВЛИЧЕСКИЕ МЕХАНИЗМЫ (СЕРИЙНЫЙ НОМЕР 12999 И НИЖЕ)

1Артикул: 6558484, HOSE
2Артикул: 6558415, TUBE Was 6558730 - A
3Артикул: 6558414, TUBE
Подробнее >
ПЕДАЛИ УПРАВЛЕНИЯ (СЕРИЙНЫЙ НОМЕР 12999 И НИЖЕ)

ПЕДАЛИ УПРАВЛЕНИЯ (СЕРИЙНЫЙ НОМЕР 12999 И НИЖЕ)

1Артикул: 6563146, BAR
2Артикул: 6515186, CONNECTOR
3Артикул: 6558451, PEDAL
Подробнее >
ГИДРОЦИЛИНДР ПОДЪЕМА (С СМЕННЫМ ПАТРУБКОМ)

ГИДРОЦИЛИНДР ПОДЪЕМА (С СМЕННЫМ ПАТРУБКОМ)

1Артикул: 6586671, CYLINDER, LIFT Ref. 2-17 - Was 6592962 - A
2Артикул: 6586674, TUBE, CASE CYL LIFT Was 6592621 - A
3Артикул: 92D12, NUT Was 86D000012B - B
Подробнее >
ВСПОМОГАТЕЛЬНЫЕ ГИДРАВЛИЧЕСКИЕ МЕХАНИЗМЫ (СЕРИЙНЫЙ НОМЕР 13001 И ВЫШЕ)

ВСПОМОГАТЕЛЬНЫЕ ГИДРАВЛИЧЕСКИЕ МЕХАНИЗМЫ (СЕРИЙНЫЙ НОМЕР 13001 И ВЫШЕ)

1Артикул: 6558484, HOSE
2Артикул: 6558414, TUBE
3Артикул: 6558415, TUBE
Подробнее >
ГИДРОЦИЛИНДР ПОДЪЕМА (С НАВАРЕННОЙ ТРУБКОЙ)

ГИДРОЦИЛИНДР ПОДЪЕМА (С НАВАРЕННОЙ ТРУБКОЙ)

1Артикул: CYLINDER, CYLINDER NLA - Ref. 2-14 - Order 6586671 Cyl.
2Артикул: CASE, CASE NLA - Order 6586674 Case & 6529384 Tube - Was 6592615 - A
3Артикул: 92D12, NUT Was 86D000012B - B
Подробнее >