+7 (701) 588 50 05 Телефон для связи
RU

WhatsApp

Позвонить

ГИДРАВЛИЧЕСКАЯ СИСТЕМА в Алматы

ПЕДАЛИ УПРАВЛЕНИЯ (СЕРИЙНЫЙ НОМЕР 12999 И НИЖЕ)

ПЕДАЛИ УПРАВЛЕНИЯ (СЕРИЙНЫЙ НОМЕР 12999 И НИЖЕ)

1Артикул: 6563146, BAR
2Артикул: 6515186, CONNECTOR
3Артикул: 6558451, PEDAL
Подробнее >
ЦИЛИНДРА НАКЛОНА (С НАВАРЕННОЙ ТРУБКОЙ)

ЦИЛИНДРА НАКЛОНА (С НАВАРЕННОЙ ТРУБКОЙ)

1Артикул: CYLINDER, CYLINDER NLA - tilt - Order 6593398
2Артикул: CASE, CASE NLA - Was 6592040 - A
3Артикул: 6810539, NUT Was 86D000018B - A
Подробнее >
СХЕМА ГИДРАВЛИЧЕСКОЙ СИСТЕМЫ (СЕРИЙНЫЙ НОМЕР 12999 И НИЖЕ)

СХЕМА ГИДРАВЛИЧЕСКОЙ СИСТЕМЫ (СЕРИЙНЫЙ НОМЕР 12999 И НИЖЕ)

1Артикул: CYLINDER, CYLINDER See Illustration LIFT CYLINDER/ B6942 See Illustration LIFT CYLINDER/ B2206 LIFT
2Артикул: 6541094, HOSE
3Артикул: 6557780, TUBE
Подробнее >
СХЕМА ГИДРАВЛИЧЕСКОЙ СИСТЕМЫ (СЕРИЙНЫЙ НОМЕР 13001 И ВЫШЕ)

СХЕМА ГИДРАВЛИЧЕСКОЙ СИСТЕМЫ (СЕРИЙНЫЙ НОМЕР 13001 И ВЫШЕ)

1Артикул: CYLINDER, CYLINDER See Illustration LIFT CYLINDER/ B6942 See Illustration LIFT CYLINDER/ B2206 LIFT
2Артикул: 6541094, HOSE
3Артикул: 6557780, TUBE
Подробнее >
ЦИЛИНДР НАКЛОНА

ЦИЛИНДР НАКЛОНА

1Артикул: 7104437, TILT CYLINDER Ref. 2-19 - tube is attached to cylinder with stud on cylinder & one clamp
2Артикул: 7141930, CASE
3Артикул: 6539290, PISTON, CYL TILT
Подробнее >
ГИДРАВЛИЧЕСКИЙ РЕГУЛИРУЮЩИЙ КЛАПАН (СЕРИЙНЫЙ НОМЕР 13001 И ВЫШЕ) (BOBCAT)

ГИДРАВЛИЧЕСКИЙ РЕГУЛИРУЮЩИЙ КЛАПАН (СЕРИЙНЫЙ НОМЕР 13001 И ВЫШЕ) (BOBCAT)

1Артикул: VALVE, VALVE See Illustration HYDRAULIC CONTROL VALVE/ E2403 NLA - Ref. 2-44 - Before ordering repair parts, make sure that this is the correct style valve with stamped boot retainers, Ref. 5, which fit flush to the body - Order 6802997 valve - Was 6586287 - A
2Артикул: 6588165, SCREW Was 73G000410B - B
3Артикул: 22E4, WASHER
Подробнее >
ЦИЛИНДР НАКЛОНА (BOBCAT) (СО СМЕННЫМ ПАТРУБКОМ)

ЦИЛИНДР НАКЛОНА (BOBCAT) (СО СМЕННЫМ ПАТРУБКОМ)

1Артикул: CYLINDER, CYLINDER See Illustration TILT CYLINDER/ MS2446 NLA - Ref. 2-21 - tube is attached to fitting and held on with two clamps and nut and bolt - Order 7104437 cylinder - Was 6539810 - A
2Артикул: 7141930, CASE Was 6588686 - A
3Артикул: 6810539, NUT Was 6804592
Подробнее >
ВСПОМОГАТЕЛЬНЫЕ ГИДРАВЛИЧЕСКИЕ МЕХАНИЗМЫ (СЕРИЙНЫЙ НОМЕР 12999 И НИЖЕ)

ВСПОМОГАТЕЛЬНЫЕ ГИДРАВЛИЧЕСКИЕ МЕХАНИЗМЫ (СЕРИЙНЫЙ НОМЕР 12999 И НИЖЕ)

1Артикул: 6541094, HOSE
2Артикул: 6558414, TUBE
3Артикул: 6558415, TUBE
Подробнее >
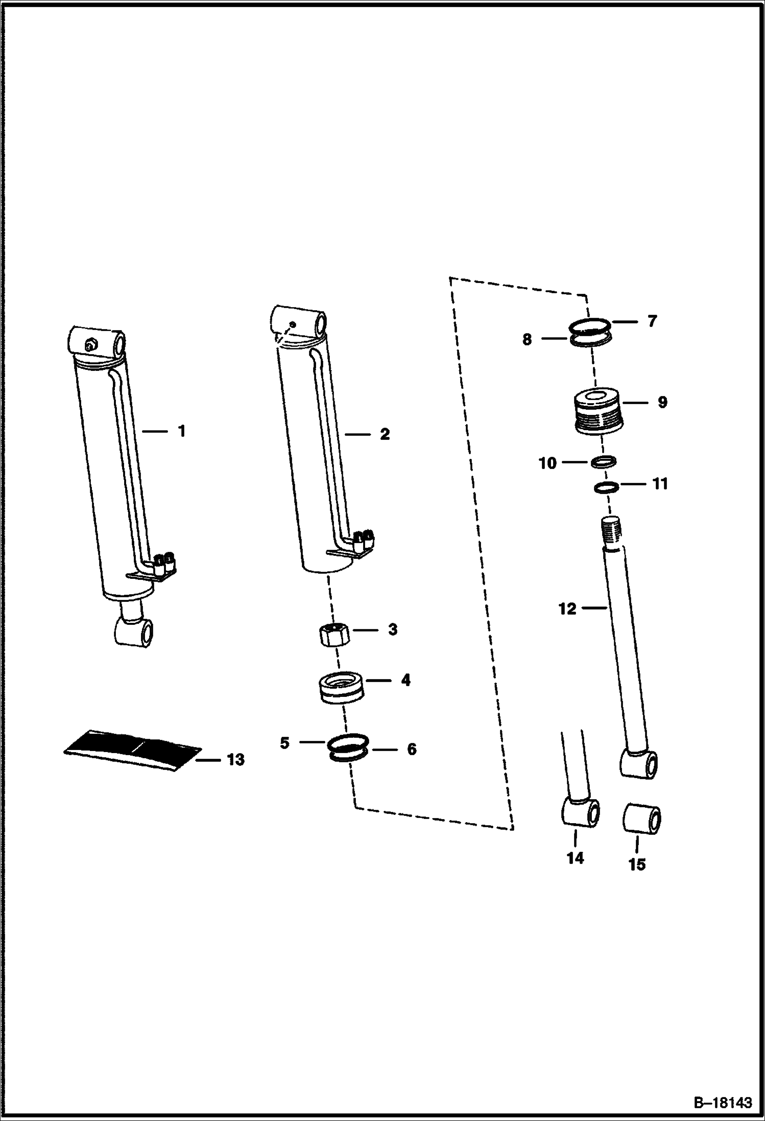
ЦИЛИНДРА НАКЛОНА (СО СМЕННЫМ ПАТРУБКОМS)

ЦИЛИНДРА НАКЛОНА (СО СМЕННЫМ ПАТРУБКОМS)

1Артикул: CYLINDER, CYLINDER See Illustration TILT CYLINDER/ B18047 NLA - Order 6539810 Cylinder
2Артикул: 6592041, CASE
3Артикул: 86D16, NUT
Подробнее >
ПЕДАЛИ УПРАВЛЕНИЯ (СЕРИЙНЫЙ НОМЕР 13001 И ВЫШЕ)

ПЕДАЛИ УПРАВЛЕНИЯ (СЕРИЙНЫЙ НОМЕР 13001 И ВЫШЕ)

1Артикул: 6564653, BAR
2Артикул: 6706680, LINK Also Order Ref. 28 & 29 - Was 6564544 - A
3Артикул: 7115219, PEDAL Was 6726680 - A
Подробнее >
АВЛИЧЕСКИЙ РЕГУЛИРУЮЩИЙ КЛАПАН (РЕЗЕРВНЫЙ КЛАПАН - СОЕДИНЕНИЯ МИНУС)

АВЛИЧЕСКИЙ РЕГУЛИРУЮЩИЙ КЛАПАН (РЕЗЕРВНЫЙ КЛАПАН - СОЕДИНЕНИЯ МИНУС)

1Артикул: VALVE,, VALVE, CONTROL SERVICE See Illustration HYDRAULIC CONTROL VALVE/ E1572 - NLA - Order components - Ref. 2-44 - before ordering make sure that this is the correct style valve - valve shown here uses flat boot retainers, Ref. 5, which fit above protruding spool seal retainer - Was 6802997 - A
2Артикул: 29G412, BOLT
3Артикул: 54K20002, O-RING 10
Подробнее >
ВСПОМОГАТЕЛЬНЫЕ ГИДРАВЛИЧЕСКИЕ МЕХАНИЗМЫ (СЕРИЙНЫЙ НОМЕР 13001 И ВЫШЕ)

ВСПОМОГАТЕЛЬНЫЕ ГИДРАВЛИЧЕСКИЕ МЕХАНИЗМЫ (СЕРИЙНЫЙ НОМЕР 13001 И ВЫШЕ)

1Артикул: 6541094, HOSE
2Артикул: 6558414, TUBE
3Артикул: 6558415, TUBE
Подробнее >
ГИДРОЦИЛИНДР ПОДЪЕМА (С СМЕННЫМ ПАТРУБКОМ)

ГИДРОЦИЛИНДР ПОДЪЕМА (С СМЕННЫМ ПАТРУБКОМ)

1Артикул: 6586671, CYLINDER, LIFT Ref. 2-17 - Was 6592962 - A
2Артикул: 6586674, TUBE, CASE CYL LIFT cylinder - Was 6592621 - A
3Артикул: 92D12, NUT Was 86D000012B - B
Подробнее >
ГИДРАВЛИЧЕСКИЙ КЛАПАН (СЕРИЙНЫЙ НОМЕР 12999 И НИЖЕ)

ГИДРАВЛИЧЕСКИЙ КЛАПАН (СЕРИЙНЫЙ НОМЕР 12999 И НИЖЕ)

1Артикул: 6557603, VALVE hydraulic - W/O Ref. 10
2Артикул: SPOOL, SPOOL NLA
3Артикул: SEAL, SEAL NSS - wiper
Подробнее >
ГИДРОЦИЛИНДР ПОДЪЕМА (С НАВАРЕННОЙ ТРУБКОЙ)

ГИДРОЦИЛИНДР ПОДЪЕМА (С НАВАРЕННОЙ ТРУБКОЙ)

1Артикул: CYLINDER, CYLINDER NLA - lift - Order 6592962
2Артикул: CASE, CASE NLA - Order 6592621 & 6529384
3Артикул: 92D12, NUT Was 86D000012B - A
Подробнее >