+7 (701) 588 50 05 Телефон для связи
RU

WhatsApp

Позвонить

ГИДРАВЛИЧЕСКАЯ СИСТЕМА в Алматы

ОРГАНЫ УПРАВЛЕНИЯ

ОРГАНЫ УПРАВЛЕНИЯ

1Артикул: BAR, BAR NLA - Was 6558454 - A
2Артикул: 6515186, CONNECTOR
3Артикул: 6558451, PEDAL
Подробнее >
ЦИЛИНДР НАКЛОНА

ЦИЛИНДР НАКЛОНА

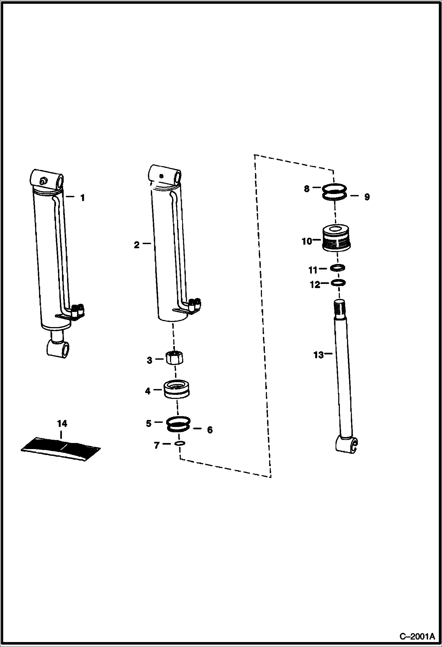
1Артикул: 7104437, TILT CYLINDER Ref. 2-19 - tube is attached to cylinder with stud on cylinder & one clamp
2Артикул: 7141930, CASE
3Артикул: 6539290, PISTON, CYL TILT
Подробнее >
ЦИЛИНДР НАКЛОНА (BOBCAT) (СО СМЕННЫМ ПАТРУБКОМS) (СЕРИЙНЫЙ НОМЕР 4997 12001 И ВЫШЕ, СЕРИЙНЫЙ НОМЕР 5005 11001 И ВЫШЕ)

ЦИЛИНДР НАКЛОНА (BOBCAT) (СО СМЕННЫМ ПАТРУБКОМS) (СЕРИЙНЫЙ НОМЕР 4997 12001 И ВЫШЕ, СЕРИЙНЫЙ НОМЕР 5005 11001 И ВЫШЕ)

1Артикул: CYLINDER, CYLINDER See Illustration TILT CYLINDER/ MS2446 NLA - Ref. 2-21 - tube is attached to fitting & held on with (2) clamps, nuts & bolts - Order 7104437 cylinder - Was 6539810 - A
2Артикул: 7141930, CASE Was 6588686 - A
3Артикул: 6810539, NUT Was 6804592
Подробнее >
ДОПОЛНИТЕЛЬНАЯ ГИДРАВЛИКА

ДОПОЛНИТЕЛЬНАЯ ГИДРАВЛИКА

1Артикул: 6541094, HOSE
2Артикул: 6558414, TUBE
3Артикул: 6558415, TUBE
Подробнее >
СХЕМА ГИДРАВЛИЧЕСКОЙ СИСТЕМЫ

СХЕМА ГИДРАВЛИЧЕСКОЙ СИСТЕМЫ

1Артикул: CYLINDER, CYLINDER See Illustration LIFT CYLINDER/ B6942 See Illustration LIFT CYLINDER/ B2206 LIFT
2Артикул: 6541094, HOSE
3Артикул: 6557780, TUBE
Подробнее >
ГИДРОЦИЛИНДР ПОДЪЕМА (С СМЕННЫМ ПАТРУБКОМ)

ГИДРОЦИЛИНДР ПОДЪЕМА (С СМЕННЫМ ПАТРУБКОМ)

1Артикул: 6586671, CYLINDER, LIFT Ref. 2 - 17 - Was 6592962 - A
2Артикул: 6586674, TUBE, CASE CYL LIFT cylinder - Was 6592621 - A
3Артикул: 92D12, NUT Was 86D000012B - B
Подробнее >
ЦИЛИНДРА НАКЛОНА (3.25 BORE)

ЦИЛИНДРА НАКЛОНА (3.25 BORE)

1Артикул: CYLINDER, CYLINDER See BTI136 NLA - Was 6558782 - A
2Артикул: CASE, CASE NLA
3Артикул: 6810539, NUT Was 86D000018B - A
Подробнее >
ЦИЛИНДР ПОДЪЕМА

ЦИЛИНДР ПОДЪЕМА

1Артикул: CYLINDER, CYLINDER See Illustration LIFT CYLINDER/ B6942 NLA - Lift - Order 6586671 Cylinder
2Артикул: CASE, CASE NLA - Clyinder - Order 6586674 & 6529384
3Артикул: 92D12, NUT Was 86D000012B - A
Подробнее >
ЦИЛИНДРА НАКЛОНА (3.00 BORE)

ЦИЛИНДРА НАКЛОНА (3.00 BORE)

1Артикул: 6555992, CYLINDER See BTI136 tilt
2Артикул: CASE, CASE NLA
3Артикул: 62D18, NUT
Подробнее >
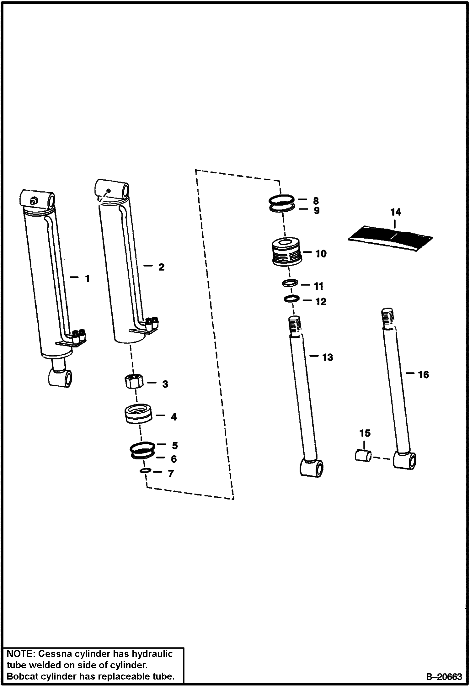
ЦИЛИНДРА НАКЛОНА (CESSNA - 3.25 BORE) (СЕРИЙНЫЙ НОМЕР 4997 12001 И ВЫШЕ) И (СЕРИЙНЫЙ НОМЕР 5005 11001 И ВЫШЕ)

ЦИЛИНДРА НАКЛОНА (CESSNA - 3.25 BORE) (СЕРИЙНЫЙ НОМЕР 4997 12001 И ВЫШЕ) И (СЕРИЙНЫЙ НОМЕР 5005 11001 И ВЫШЕ)

1Артикул: CYLINDER, CYLINDER See BTI167 NLA - tilt - - Order 6593398
2Артикул: CASE, CASE NLA - Was 6592040 - A
3Артикул: 6810539, NUT Was 86D000018B - A
Подробнее >
ЦИЛИНДРА НАКЛОНА (BOBCAT) (СЕРИЙНЫЙ НОМЕР 4997 12001 И ВЫШЕ) И (СЕРИЙНЫЙ НОМЕР 5005 11001 И ВЫШЕ)

ЦИЛИНДРА НАКЛОНА (BOBCAT) (СЕРИЙНЫЙ НОМЕР 4997 12001 И ВЫШЕ) И (СЕРИЙНЫЙ НОМЕР 5005 11001 И ВЫШЕ)

1Артикул: CYLINDER, CYLINDER NLA - tilt - Order 6593398
2Артикул: 6592041, CASE
3Артикул: 86D16, NUT
Подробнее >
ГИДРАВЛИЧЕСКИЙ КЛАПАН

ГИДРАВЛИЧЕСКИЙ КЛАПАН

1Артикул: 6557603, VALVE W/O Ref. 10
2Артикул: SPOOL, SPOOL NLA
3Артикул: SEAL, SEAL NSS - rod wiper
Подробнее >