+7 (701) 588 50 05 Телефон для связи
RU

WhatsApp

Позвонить

ГИДРОСТАТИЧЕСКАЯ СИСТЕМА в Алматы

ШЕСТЕРЕННЫЙ НАСОС (СЕРИЙНЫЙ НОМЕР 514146035, 514240999, 517911999 И НИЖЕ)

ШЕСТЕРЕННЫЙ НАСОС (СЕРИЙНЫЙ НОМЕР 514146035, 514240999, 517911999 И НИЖЕ)

1Артикул: 6673911, PUMP W/Ref. 2-14 - B5501-37255 - for model 4445060
2Артикул: BOLT, BOLT NSS
3Артикул: COVER, COVER NLA - Was 6658123 - A
Подробнее >
ШЕСТЕРЕННЫЙ НАСОС (ЧУГУН) (СЕРИЙНЫЙ НОМЕР 514149734, 514241080 И ВЫШЕ)

ШЕСТЕРЕННЫЙ НАСОС (ЧУГУН) (СЕРИЙНЫЙ НОМЕР 514149734, 514241080 И ВЫШЕ)

1Артикул: GEAR, GEAR PUMP NLA - Model 163D1301 - Was 6681596 - A
2Артикул: 6687867, PUMP, GEAR Model 163D70003
3Артикул: SNAP, SNAP RING NSS
Подробнее >
ГИДРОСТАТИЧЕСКИЙ НАСОС (ПРАВОСТОРОННИЙ) (СЕРИЙНЫЙ НОМЕР 514146035, 514240999, 517911999 И НИЖЕ)

ГИДРОСТАТИЧЕСКИЙ НАСОС (ПРАВОСТОРОННИЙ) (СЕРИЙНЫЙ НОМЕР 514146035, 514240999, 517911999 И НИЖЕ)

1Артикул: PUMP,, PUMP, HYD TANDEM NLA - Model 4445060 - complete W/ 4-bolt flange gear pump - standard flow - must use 6576196 bracket & 6706096 bracket from original pump - Order 7001072 hyd tandem pump & 6673911 gear pump or 6673910REM hyd tandem pump & 6673911 gear pump - Was 6673910 - A
2Артикул: 7001072REM, PUMP, HYD Was 6673910REM
3Артикул: PUMP,, PUMP, HYD TANDEM NLA - Model 4445061 - complete W/ 4-bolt flange gear pump - high flow - must use 6576196 bracket & 6706096 bracket from original pump - Order 7001072 hyd tandem pump & 6673913 gear pump or 6673912REM hyd tandem pump & 6673913 gear pump - Was 6673912 - A
Подробнее >
ГИДРОСТАТИЧЕСКИЙ ДВИГАТЕЛЬ И ТОРМОЗ (2-ФУНКЦИЯ РЕГУЛИРОВКИ ЧИСЛА ОБОРОТОВ ДВИГАТЕЛЯ) (R921810294)

ГИДРОСТАТИЧЕСКИЙ ДВИГАТЕЛЬ И ТОРМОЗ (2-ФУНКЦИЯ РЕГУЛИРОВКИ ЧИСЛА ОБОРОТОВ ДВИГАТЕЛЯ) (R921810294)

1Артикул: MOTOR,, MOTOR, DRIVE HYD 2-SPD See Illustration HYDROSTATIC MOTOR & BRAKE/ NA10878 - NLA - Ref. 2-56 - Was 6674738 - A
2Артикул: 6674738REM, MOTOR, HYDROSTATIC 2 SP
3Артикул: 6690067, DISTRIBUTOR MOTOR
Подробнее >
ГИДРОСТАТИЧЕСКИЙ НАСОС (2-СКОРОСТИ) (ЛЕВАЯ ПОЛОВИНА)

ГИДРОСТАТИЧЕСКИЙ НАСОС (2-СКОРОСТИ) (ЛЕВАЯ ПОЛОВИНА)

1Артикул: PUMP,, PUMP, HYD TANDEM NLA - Model 4445066 - complete W/aluminum gear pump - standard flow - must use 6576196 bracket & 6706096 bracket from original pump - Order 6689135 pump & 6675660 gear pump or 6674692REM pump & 6675662 gear pump - Was 6674692 - A
2Артикул: 6689135REM, PUMP, HYD TANDEM, W/O GEAR PUMP Was 6674692REM
3Артикул: PUMP, PUMP NLA - Model 4445098 - complete W/cast iron gear pump - standard flow - must use 6576196 bracket & 6706096 bracket from original pump - Order 6689135 pump & 6687867 gear pump or 6674692REM pump & 6687867 gear pump - Was 6681936 - A
Подробнее >
ГИДРОСТАТИЧЕСКИЙ ДВИГАТЕЛЬ И ТОРМОЗ (2-ФУНКЦИЯ РЕГУЛИРОВКИ ЧИСЛА ОБОРОТОВ ДВИГАТЕЛЯ) (ВСПОМОГАТЕЛЬНЫЙ) (R921811649)

ГИДРОСТАТИЧЕСКИЙ ДВИГАТЕЛЬ И ТОРМОЗ (2-ФУНКЦИЯ РЕГУЛИРОВКИ ЧИСЛА ОБОРОТОВ ДВИГАТЕЛЯ) (ВСПОМОГАТЕЛЬНЫЙ) (R921811649)

1Артикул: 7261334, MOTOR, DRIVE HYD 2-SPD Ref. 2-57
2Артикул: 7257498, DISTRIBUTOR MOTOR
3Артикул: 6674037, SPRING
Подробнее >
ГИДРОСТАТИЧЕСКИЙ ДВИГАТЕЛЬ И ТОРМОЗ (2-ФУНКЦИЯ РЕГУЛИРОВКИ ЧИСЛА ОБОРОТОВ ДВИГАТЕЛЯ)

ГИДРОСТАТИЧЕСКИЙ ДВИГАТЕЛЬ И ТОРМОЗ (2-ФУНКЦИЯ РЕГУЛИРОВКИ ЧИСЛА ОБОРОТОВ ДВИГАТЕЛЯ)

1Артикул: MOTOR, MOTOR See Illustration HRDROSTATIC MOTOR & BRAKE/ MS2600 - NLA - 5830-003-138 model - Ref. 2-54 - Order 6674738 motor
2Артикул: 6674738REM, MOTOR, HYDROSTATIC 2 SP
3Артикул: 6675876, DISTRIBUTOR
Подробнее >
ФИЛЬТР ГИДРОСТАТИЧЕСКОГО МАСЛА (В СОСТАВЕ ЛИНИИ)

ФИЛЬТР ГИДРОСТАТИЧЕСКОГО МАСЛА (В СОСТАВЕ ЛИНИИ)

1Артикул: 6661022, FILTER, OIL HYD IN-LINE Ref. 2-8
2Артикул: HOUSING, HOUSING NSS
3Артикул: SPRING, SPRING NSS
Подробнее >
СХЕМА ГИДРОСТАТИЧЕСКОЙ СИСТЕМЫ (С ДВИГАТЕЛЯМИ) (СЕРИЙНЫЙ НОМЕР 514147759, 514241034, 517912083 И ВЫШЕ)

СХЕМА ГИДРОСТАТИЧЕСКОЙ СИСТЕМЫ (С ДВИГАТЕЛЯМИ) (СЕРИЙНЫЙ НОМЕР 514147759, 514241034, 517912083 И ВЫШЕ)

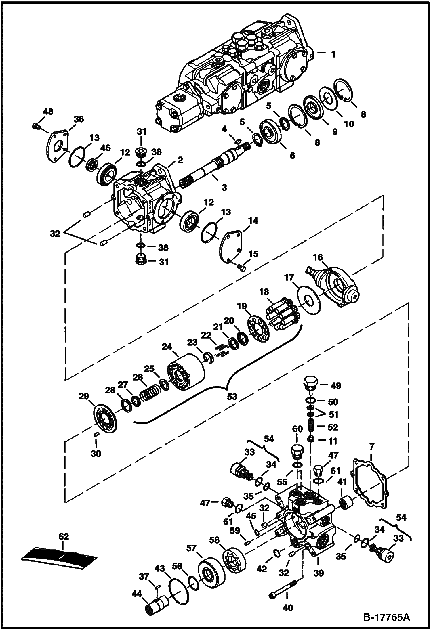
1Артикул: PUMP, PUMP See Illustration HYDROSTATIC PUMP/ B25288 See Illustration HYDROSTATIC PUMP/ B17765A
2Артикул: 6717306, ADAPTER W/Ref. 13 - tapered boss face
3Артикул: 97K6, O RING flared end
Подробнее >
КЛАПАН ПЕРЕКЛЮЧЕНИЯ 2-СКОРОСТНОГО ДИАПАЗОНА

КЛАПАН ПЕРЕКЛЮЧЕНИЯ 2-СКОРОСТНОГО ДИАПАЗОНА

1Артикул: 6679102, VALVE assy.
2Артикул: BLOCK, BLOCK NSS - Order Ref. 1
3Артикул: 6677982, CARTRIDGE make up valve - W/Ref. 5
Подробнее >
СХЕМА ГИДРОСТАТИЧЕСКОЙ СИСТЕМЫ (С КАМЕРОЙ ОХЛАЖДЕНИЯ) (СЕРИЙНЫЙ НОМЕР 514147758, 514241033, 517912082 И НИЖЕ)

СХЕМА ГИДРОСТАТИЧЕСКОЙ СИСТЕМЫ (С КАМЕРОЙ ОХЛАЖДЕНИЯ) (СЕРИЙНЫЙ НОМЕР 514147758, 514241033, 517912082 И НИЖЕ)

1Артикул: 6667896, EXCHANGER, OIL COOLER oil
2Артикул: 11K8, ELBOW Was 11KN00008B - A
3Артикул: 6531336, HOSE
Подробнее >
ОРГАНЫ РУЧНОГО УПРАВЛЕНИЯ

ОРГАНЫ РУЧНОГО УПРАВЛЕНИЯ

1Артикул: 6702543, LEVER, STEERING
2Артикул: BELLCRANK, BELLCRANK NLA - .8725-- (22,2 mm) ID hole for Ref. 29 (6665701 bushing) - Use W/Ref. 8 (6673710 bearing) & Ref. 9 (6518200 grease zerk) - Order 7110571 bellcrank, Ref. 28 (619021 washer), Ref. 29 (6678067 bushing) & (2) of Ref. 8 (6703879 bushing) - Was 6716977 - A
3Артикул: BELLCRANK, BELLCRANK NLA - 1.04725-- (26,5 mm) ID hole for Ref. 29 (6678067 Bushing) - Use W/Ref. 8 (6673710 bearing) & Ref. 9 (6518200 grease zerk) - Order 7110571 bellcrank, Ref. 9 (10H35 grease zerk) & (2) of Ref. 8 (6703879 bushing) - Was 7101048 - A
Подробнее >
ГИДРОСТАТИЧЕСКИЙ НАСОС (2-СКОРОСТИ) (ПРАВОСТОРОННИЙ)

ГИДРОСТАТИЧЕСКИЙ НАСОС (2-СКОРОСТИ) (ПРАВОСТОРОННИЙ)

1Артикул: PUMP,, PUMP, HYD TANDEM NLA - Model 4445066 - complete W/aluminum gear pump - standard flow - must use 6576196 bracket & 6706096 bracket from original pump - Order 6689135 pump & 6675660 gear pump or 6674692REM pump & 6675662 gear pump - Was 6674692 - A
2Артикул: 6689135REM, PUMP, HYD TANDEM, W/O GEAR PUMP Was 6674692REM
3Артикул: PUMP, PUMP NLA - complete W/ cast iron gear pump - Model 4445098 - standard flow - must use brackets 6576196 & 6706096 from old pump - Order 6689135 Hydrostat & 6687867 Gear Pump - Was 6681936 - A
Подробнее >
ГИДРОСТАТИЧЕСКИЙ ДВИГАТЕЛЬ (ОДНА СКОРОСТЬ) (R921805322)

ГИДРОСТАТИЧЕСКИЙ ДВИГАТЕЛЬ (ОДНА СКОРОСТЬ) (R921805322)

1Артикул: MOTOR,, MOTOR, DRIVE HYD See Illustration HYDROSTATIC MOTOR/ NA12625 - NLA - 4-bolt flange ports - Ref. 2-28 - Was 6672825 - A
2Артикул: 6674037, SPRING
3Артикул: 6674184, RING
Подробнее >
СХЕМА ГИДРОСТАТИЧЕСКОЙ СИСТЕМЫ (2-ФУНКЦИЯ РЕГУЛИРОВКИ ЧИСЛА ОБОРОТОВ ДВИГАТЕЛЯ)

СХЕМА ГИДРОСТАТИЧЕСКОЙ СИСТЕМЫ (2-ФУНКЦИЯ РЕГУЛИРОВКИ ЧИСЛА ОБОРОТОВ ДВИГАТЕЛЯ)

1Артикул: PUMP, PUMP See Illustration HYDROSTATIC PUMP/ B17765A
2Артикул: MOTOR, MOTOR
3Артикул: 6803932, DECAL 2-speed valve
Подробнее >
ФИЛЬТР ГИДРОСТАТИЧЕСКОГО МАСЛА

ФИЛЬТР ГИДРОСТАТИЧЕСКОГО МАСЛА

1Артикул: 6661247, FILTER W/Ref. 2-5 - 50 PSI by-pass & switch
2Артикул: 6660260, SWITCH pressure - normally closed
3Артикул: 6599365, KIT nut, washer & O-rings for switch
Подробнее >
ГИДРОСТАТИЧЕСКИЙ ДВИГАТЕЛЬ (ОДНА СКОРОСТЬ) (R921811669)

ГИДРОСТАТИЧЕСКИЙ ДВИГАТЕЛЬ (ОДНА СКОРОСТЬ) (R921811669)

1Артикул: 7261333, MOTOR, DRIVE HYD Ref. 2-27
2Артикул: 7257504, HOUSING
3Артикул: 6687081, SCREW
Подробнее >
СХЕМА ГИДРОСТАТИЧЕСКОЙ СИСТЕМЫ (С БАКОМ) (СЕРИЙНЫЙ НОМЕР 514147759, 514241034, 517912083 И ВЫШЕ)

СХЕМА ГИДРОСТАТИЧЕСКОЙ СИСТЕМЫ (С БАКОМ) (СЕРИЙНЫЙ НОМЕР 514147759, 514241034, 517912083 И ВЫШЕ)

1Артикул: 6715079, BRACKET
2Артикул: 6716449, PAD
3Артикул: 84G3716, SCREW 5
Подробнее >
СХЕМА ГИДРОСТАТИЧЕСКОЙ СИСТЕМЫ (С КАМЕРОЙ ОХЛАЖДЕНИЯ) (СЕРИЙНЫЙ НОМЕР 514147759, 514241034, 517912083 И ВЫШЕ)

СХЕМА ГИДРОСТАТИЧЕСКОЙ СИСТЕМЫ (С КАМЕРОЙ ОХЛАЖДЕНИЯ) (СЕРИЙНЫЙ НОМЕР 514147759, 514241034, 517912083 И ВЫШЕ)

1Артикул: 6678194, COOLER oil - Was 6675587 - A
2Артикул: 6674798, REPAIR KIT Consists of Retaining Ring (1), Back-up Ring (1) & O-Ring (1)
3Артикул: 6676150, HOSE
Подробнее >
СХЕМА ГИДРОСТАТИЧЕСКОЙ СИСТЕМЫ (С ДВИГАТЕЛЯМИ) (СЕРИЙНЫЙ НОМЕР 514147758, 514241033, 517912082 И НИЖЕ)

СХЕМА ГИДРОСТАТИЧЕСКОЙ СИСТЕМЫ (С ДВИГАТЕЛЯМИ) (СЕРИЙНЫЙ НОМЕР 514147758, 514241033, 517912082 И НИЖЕ)

1Артикул: 6715079, BRACKET
2Артикул: 6716449, PAD
3Артикул: 84G3716, SCREW 5
Подробнее >
ГИДРОСТАТИЧЕСКИЙ НАСОС (ЛЕВАЯ ПОЛОВИНА) (СЕРИЙНЫЙ НОМЕР 514146035, 514240999, 517911999 И НИЖЕ)

ГИДРОСТАТИЧЕСКИЙ НАСОС (ЛЕВАЯ ПОЛОВИНА) (СЕРИЙНЫЙ НОМЕР 514146035, 514240999, 517911999 И НИЖЕ)

1Артикул: PUMP,, PUMP, HYD TANDEM NLA - Model 4445060 - complete W/ 4-bolt flange gear pump - standard flow - must use 6576196 bracket & 6706096 bracket from original pump - Order 7001072 hyd tandem pump & 6673911 gear pump or 6673910REM hyd tandem pump & 6673911 gear pump - Was 6673910 - A
2Артикул: 7001072REM, PUMP, HYD Was 6673910REM
3Артикул: PUMP,, PUMP, HYD TANDEM NLA - Model 4445061 - complete W/ 4-bolt flange gear pump - high flow - must use 6576196 bracket & 6706096 bracket from original pump - Order 7001072 hyd tandem pump & 6673913 gear pump or 6673912REM hyd tandem pump & 6673913 gear pump - Was 6673912 - A
Подробнее >