+7 (701) 588 50 05 Телефон для связи
RU

WhatsApp

Позвонить

Продажа: КАБИНЫ ВОДИТЕЛЯ (3 в Алматы и Астане Цены официального дилера с доставкой по всему Казахстану

Официальный дилер Все запчасти в наличии Лизинг / Рассрочка Сервис и гарантия
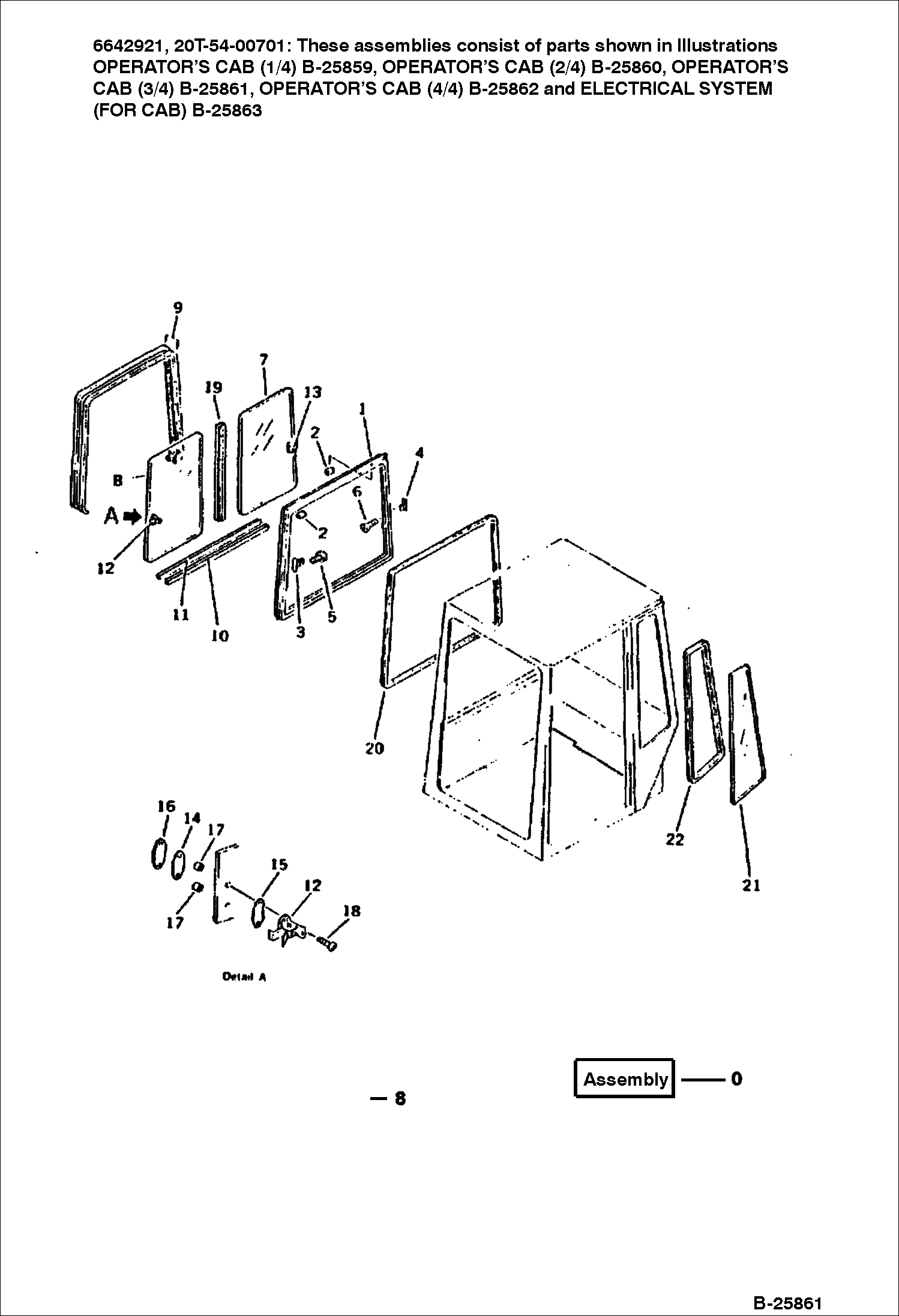
Спецтехника 4) от Globus Machinery

4)

1Артикул: OPERATOR-...
2Артикул: OPERATOR-...
3Артикул: 6639490, ...
Подробнее >