+7 (701) 588 50 05 Телефон для связи
RU

WhatsApp

Позвонить

Продажа: КАБИНЫ ВОДИТЕЛЯ (4 в Алматы и Астане Цены официального дилера с доставкой по всему Казахстану

Официальный дилер Все запчасти в наличии Лизинг / Рассрочка Сервис и гарантия
Спецтехника 4) от Globus Machinery

4)

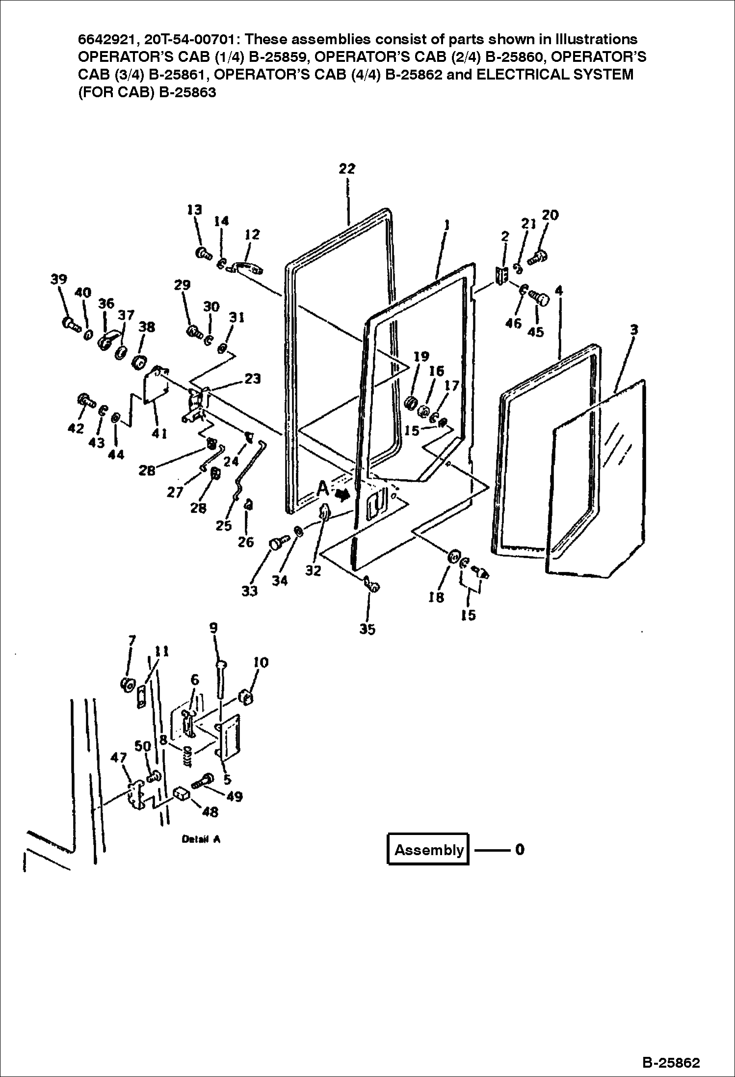
1Артикул: 6642921, ...
2Артикул: OPERATOR-...
3Артикул: DOOR, DOO...
Подробнее >