+7 (701) 588 50 05 Телефон для связи
RU

WhatsApp

Позвонить

ПОГРУЗЧИК в Алматы

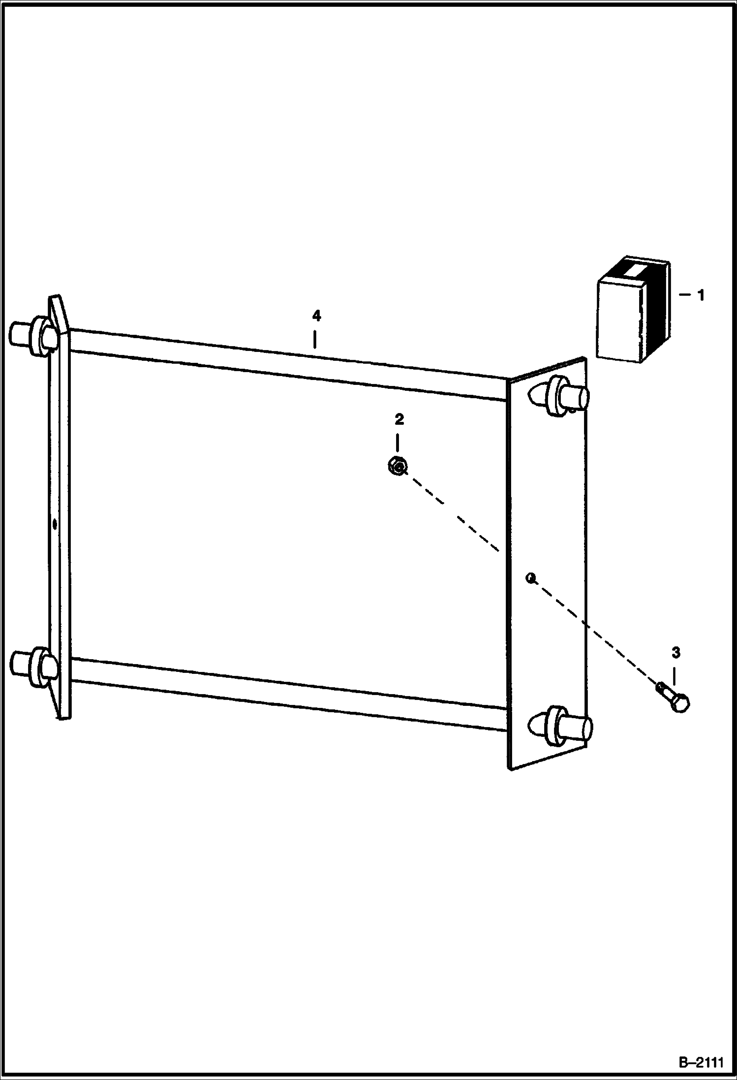
ЗАДНИЙ BOB-TACH - 700, 720

ЗАДНИЙ BOB-TACH - 700, 720

1Артикул: KIT, KIT NLA - Rear Bob-tach - Order Ref. 2-4
2Артикул: 61D12, NUT
3Артикул: 17C1232, BOLT
Подробнее >
ЗАДНИЙ BOB-TACH - 610

ЗАДНИЙ BOB-TACH - 610

1Артикул: 17C1248, BOLT
2Артикул: 6503498, BUSHING
3Артикул: 23E12, WASHER Was 4E12 - A
Подробнее >
ЗАДНИЙ BOB-TACH - 721, 722

ЗАДНИЙ BOB-TACH - 721, 722

1Артикул: KIT, KIT NLA - rear Bob-Tach - Order Ref. 2-5
2Артикул: 6543978, BOB-TACH L.H.
3Артикул: 17C1232, BOLT
Подробнее >