+7 (701) 588 50 05 Телефон для связи
RU

WhatsApp

Позвонить

ПОГРУЗЧИК в Алматы

3 ЗАХВАТА ДЛЯ ТЮКОВ

3 ЗАХВАТА ДЛЯ ТЮКОВ

1Артикул: 6690494, Arm R.H. 3 tooth
2Артикул: 6690495, Arm L.H. 3 tooth
3Артикул: 6690502, Spindle
Подробнее >
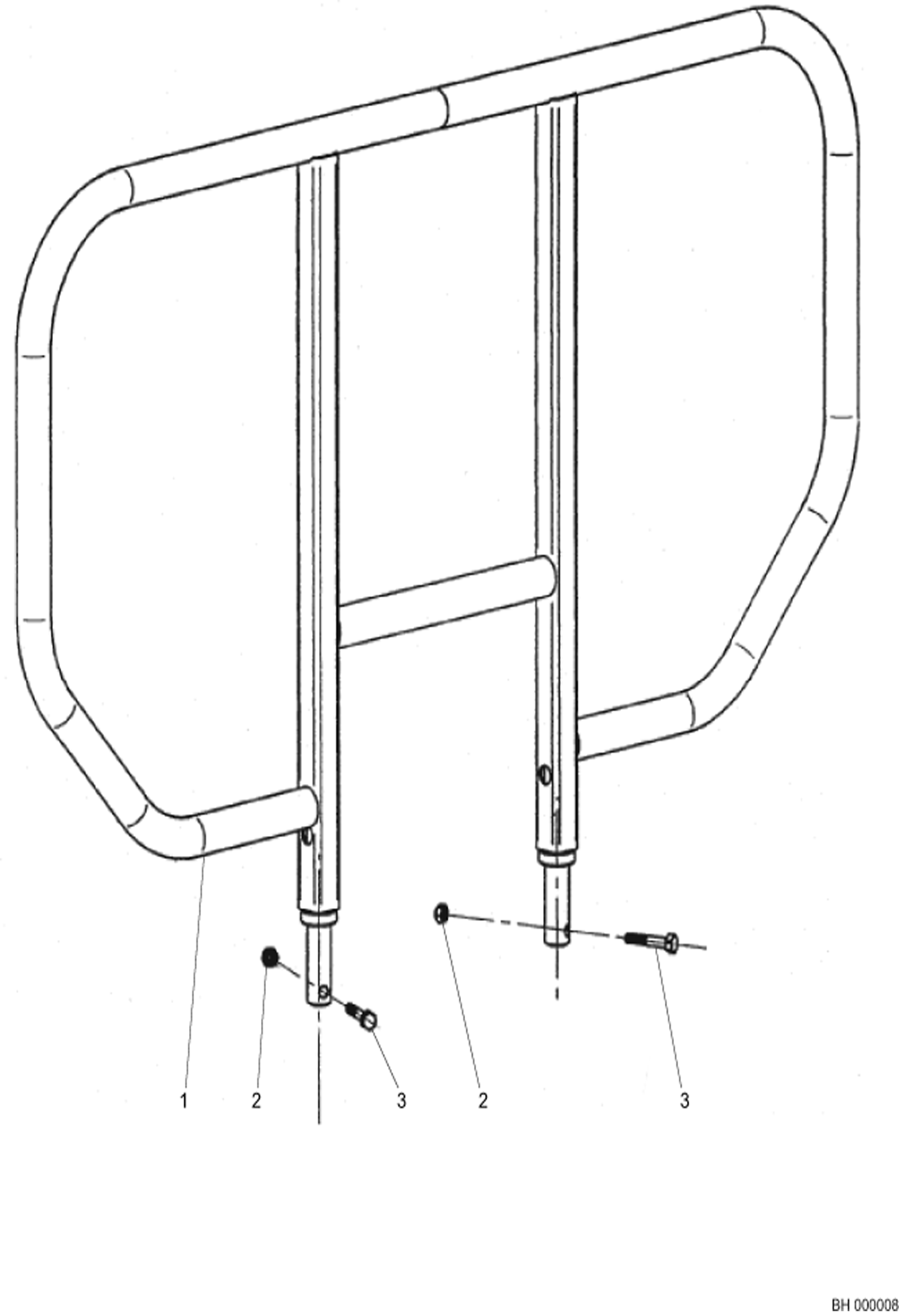
РАМА

РАМА

1Артикул: 6690503, Frame assy
2Артикул: 6690539, Flange
3Артикул: 6690553, Screw
Подробнее >
ЗАЩИТНЫЙ ЭКРАН

ЗАЩИТНЫЙ ЭКРАН

1Артикул: 6690548, Shield apron
2Артикул: 6690510, Nut
3Артикул: 6690554, Screw
Подробнее >
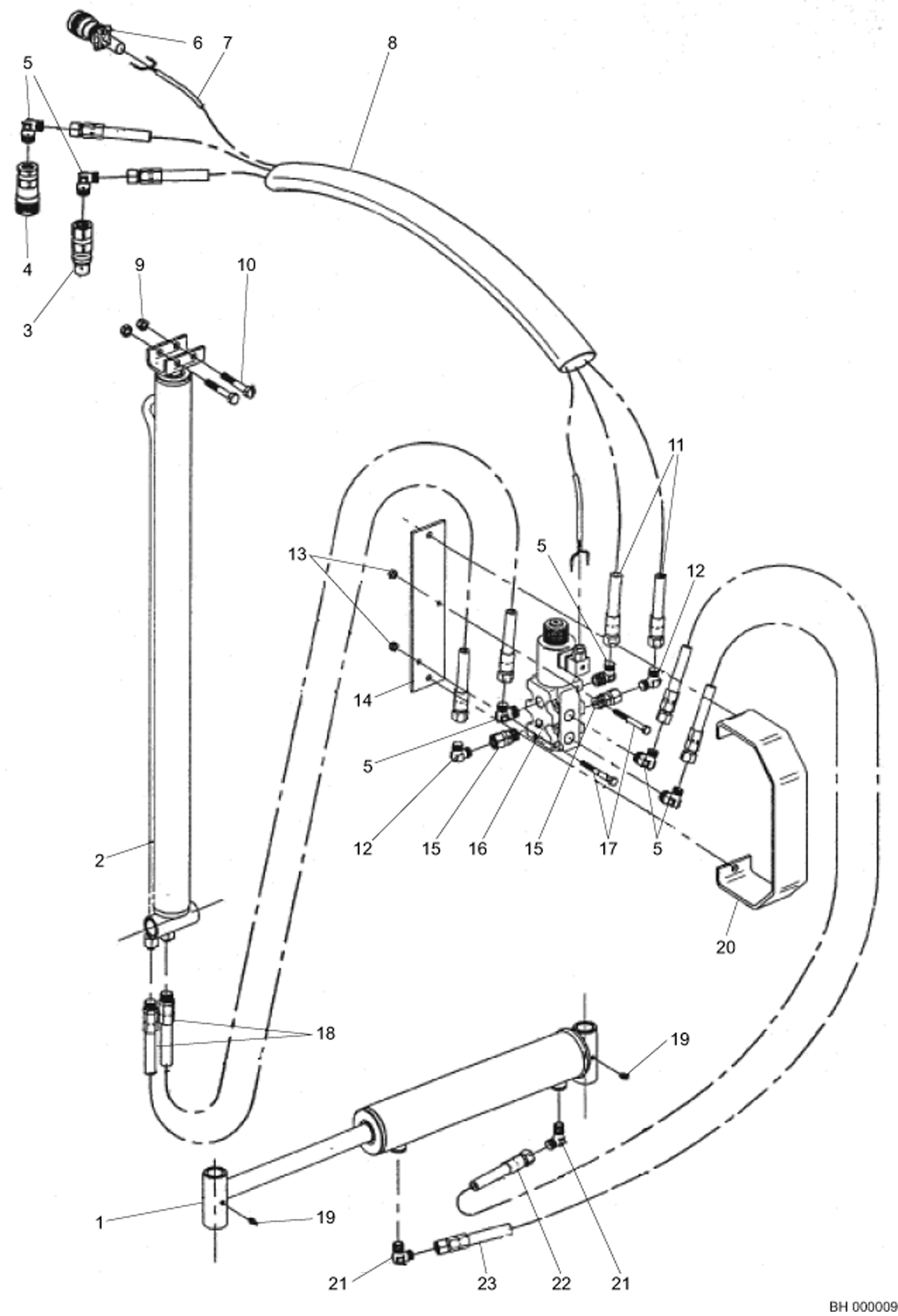
ЭЛЕКТРИКА И ГИДРООБОРУДОВАНИЕ

ЭЛЕКТРИКА И ГИДРООБОРУДОВАНИЕ

1Артикул: 6690550, Cylinder
2Артикул: 6690549, Cylinder
3Артикул: 6690534, Coupler Male
Подробнее >
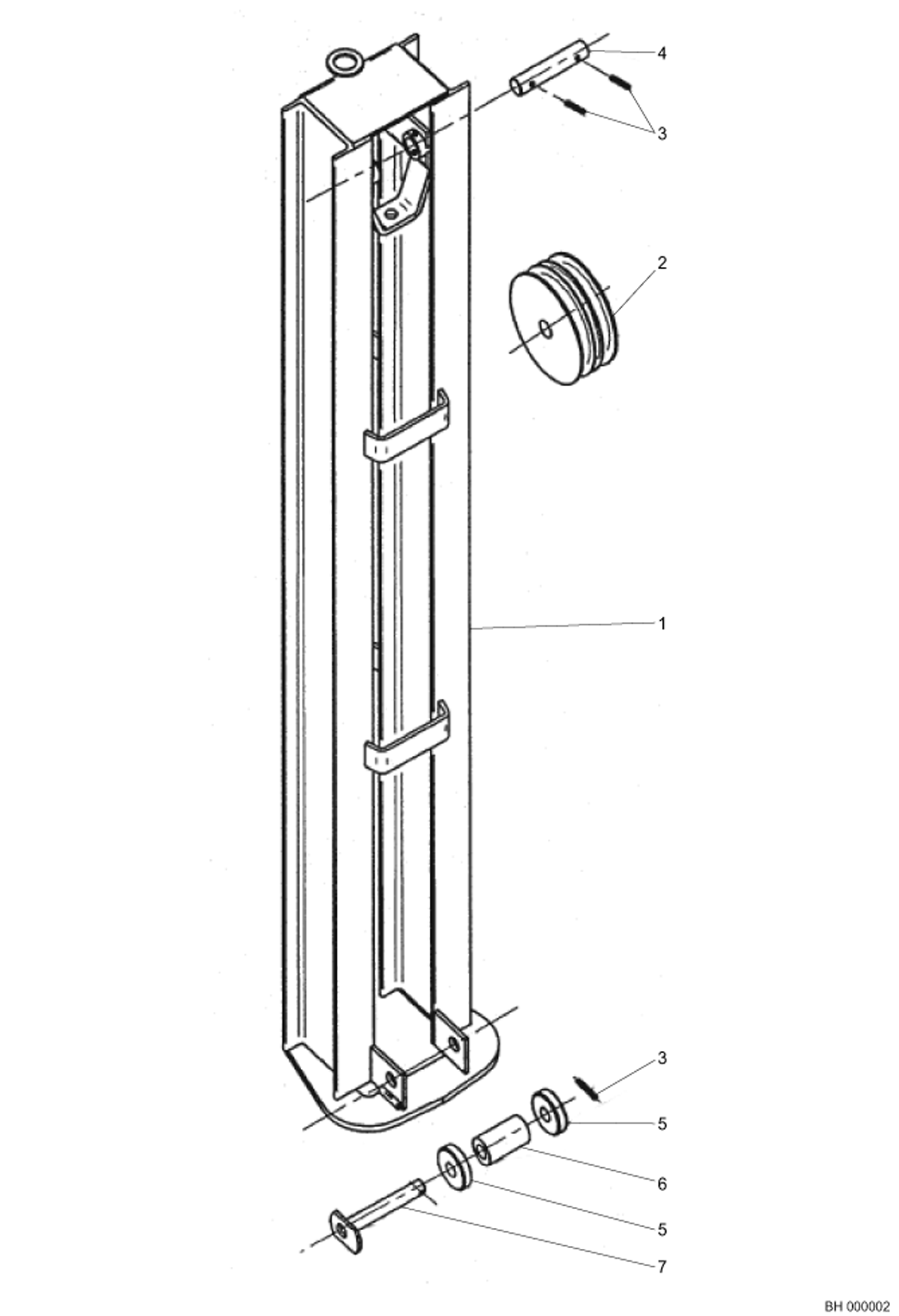
ПЕРЕДВИЖНАЯ РАМА

ПЕРЕДВИЖНАЯ РАМА

1Артикул: 6690542, Frame assy
2Артикул: 6690509, Pulley
3Артикул: 6690521, Pin
Подробнее >
СТАНДАРТНЫЙ ЗАХВАТ ДЛЯ ТЮКОВ

СТАНДАРТНЫЙ ЗАХВАТ ДЛЯ ТЮКОВ

1Артикул: 6690488, Arm R.H.
2Артикул: 6690489, Arm L.H.
3Артикул: 6690523, Tooth curve
Подробнее >
4 ЗАХВАТА ДЛЯ ТЮКОВ

4 ЗАХВАТА ДЛЯ ТЮКОВ

1Артикул: 6690496, Arm R.H. 4 tooth
2Артикул: 6690497, Arm L.H. 4 tooth
3Артикул: 6690523, Tooth curve
Подробнее >
КАРЕТКА

КАРЕТКА

1Артикул: 6690541, Carrier
2Артикул: 6690511, Nut
3Артикул: 6690551, Screw
Подробнее >
ТЮКОПОГРУЗЧИК

ТЮКОПОГРУЗЧИК

1Артикул: 6690490, Arm R.H. w/o tooth type 1
2Артикул: 6690492, Arm R.H. w/o tooth type 2
3Артикул: 6690491, Arm L.H. w/o tooth type 1
Подробнее >