+7 (701) 588 50 05 Телефон для связи
RU

WhatsApp

Позвонить

ПОГРУЗЧИК в Алматы

СКРЕБОК ПОВЫШЕННОЙ ПРОИЗВОДИТЕЛЬНОСТИ

СКРЕБОК ПОВЫШЕННОЙ ПРОИЗВОДИТЕЛЬНОСТИ

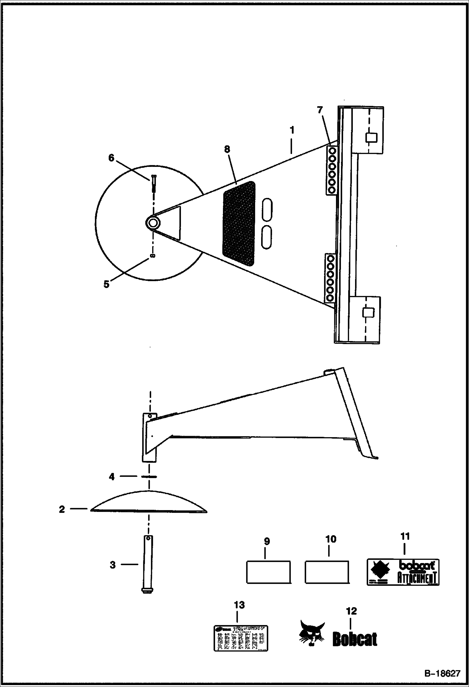
1Артикул: 6675300, MAIN FRAME
2Артикул: 6675301, DISC
3Артикул: 6675302, PIN
Подробнее >