+7 (701) 588 50 05 Телефон для связи
RU

WhatsApp

Позвонить

ПОВОРОТНАЯ РАМА И КАБИНА в Алматы

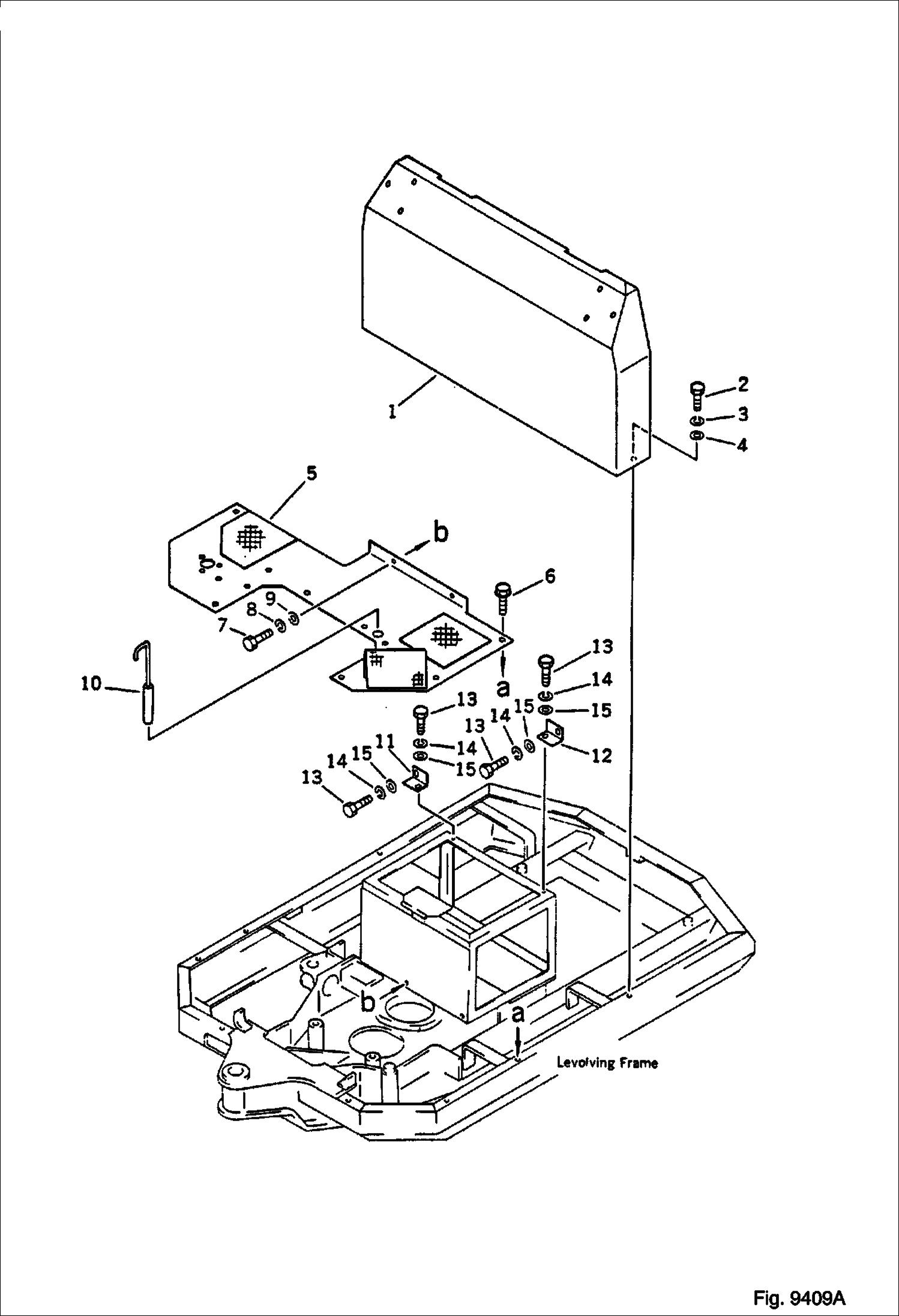
КАБИНА МАШИНЫ

КАБИНА МАШИНЫ

1Артикул: HOOD, HOOD Komatsu S/N 10401-10600 - Was 20M-54-31112
2Артикул: 6638010, SHIELD hood - Komatsu S/N 10601 & Abv.
3Артикул: 6639202, STOPPER cushion
Подробнее >
СИДЕНИЕ ОПЕРАТОРА

СИДЕНИЕ ОПЕРАТОРА

1Артикул: 6638017, SEAT
2Артикул: 6642292, BRACKET Komatsu S/N 10401-10600
3Артикул: 6638020, BRACKET Komatsu S/N 10601 & Abv.
Подробнее >
КАБИНА МАШИНЫ (С КЛЮЧОМ) ОПЦИЯ

КАБИНА МАШИНЫ (С КЛЮЧОМ) ОПЦИЯ

1Артикул: 6642276, HOOD ASSEMBLY Komatsu S/N 10601 & Abv.
2Артикул: 6642277, HOOD Komatsu S/N 10601 & Abv.
3Артикул: 6642839, LEVER Komatsu S/N 10601 & Abv.
Подробнее >
КРЫША НАД СИДЕНЬЕМ ВОДИТЕЛЯ

КРЫША НАД СИДЕНЬЕМ ВОДИТЕЛЯ

1Артикул: 6638796, SHIELD ASSEMBLY roof
2Артикул: 6642835, ROOF
3Артикул: 6642836, COVER
Подробнее >
ЛИСТ НАСТИЛА (ДЛЯ ДОПОЛНИТЕЛЬНОГО КЛАПАНА)

ЛИСТ НАСТИЛА (ДЛЯ ДОПОЛНИТЕЛЬНОГО КЛАПАНА)

1Артикул: 6642282, COVER Komatsu S/N 10601 & Abv.
2Артикул: 6636958, BOLT Komatsu S/N 10601 & Abv.
3Артикул: 6637134, WASHER spring - Komatsu S/N 10601 & Abv.
Подробнее >
ПОВОРОТНАЯ РАМА

ПОВОРОТНАЯ РАМА

1Артикул: 6638009, FRAME revolving - Komatsu S/N 10601 & Abv.
2Артикул: 6638007, STOPPER Komatsu S/N 10601 & Abv.
3Артикул: 6642007, BOLT Komatsu S/N 10601 & Abv.
Подробнее >