+7 (701) 588 50 05 Телефон для связи
RU

WhatsApp

Позвонить

Продажа: РАБОЧЕЕ ОБОРУДОВАНИЕ в Алматы и Астане Цены официального дилера с доставкой по всему Казахстану

Официальный дилер Все запчасти в наличии Лизинг / Рассрочка Сервис и гарантия
Спецтехника ОТВАЛ от Globus Machinery

ОТВАЛ

1Артикул: 6535312, ...
2Артикул: 6535313, ...
3Артикул: 6539741, ...
Подробнее >
Спецтехника ПОВОРОТНЫЙ КРОНШТЕЙН от Globus Machinery

ПОВОРОТНЫЙ КРОНШТЕЙН

1Артикул: 6538834, ...
2Артикул: 6538892, ...
3Артикул: 6538893, ...
Подробнее >
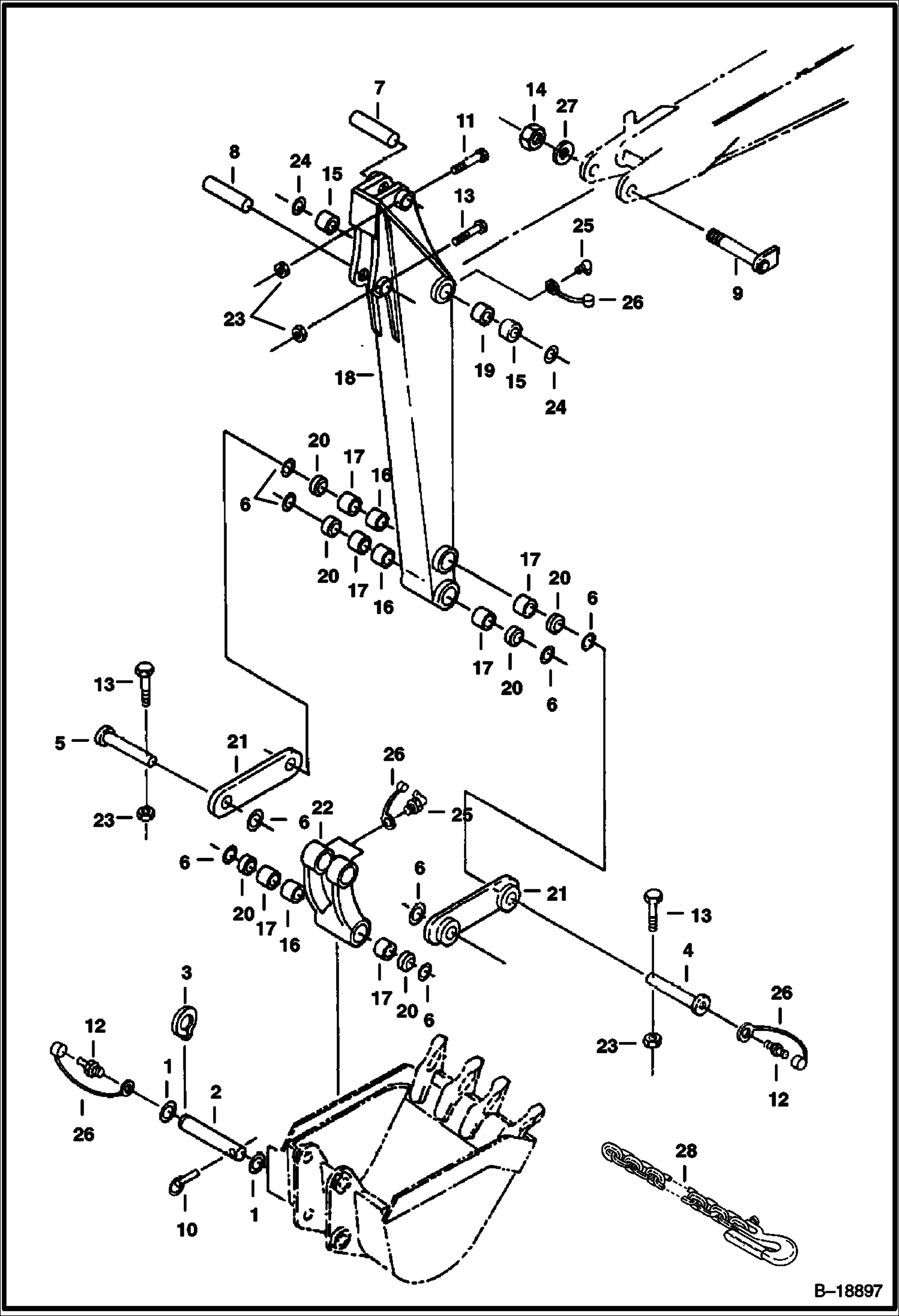
Спецтехника РУКОЯТЬ И СЕРЬГА КОВША от Globus Machinery

РУКОЯТЬ И СЕРЬГА КОВША

1Артикул: 6534111, ...
2Артикул: PIN, PIN ...
3Артикул: 6534154, ...
Подробнее >
Спецтехника СТРЕЛА от Globus Machinery

СТРЕЛА

1Артикул: 6539197, ...
2Артикул: 6539100, ...
3Артикул: 6539101, ...
Подробнее >