+7 (701) 588 50 05 Телефон для связи
RU

WhatsApp

Позвонить

РАМА в Алматы

КАБИНА ОПЕРАТОРА

КАБИНА ОПЕРАТОРА

1Артикул: CAB, CAB See BTI296 NLA - Was SALES
2Артикул: 17C840, BOLT
3Артикул: 6553709, WASHER
Подробнее >
СИДЕНИЕ И ОПОРА СИДЕНЬЯ

СИДЕНИЕ И ОПОРА СИДЕНЬЯ

1Артикул: 6591598, SEAT With Drain Holes - Was 6643253 - B
2Артикул: SEAT, SEAT BELT NLA - Use W/NLA 6565354 - 13.75-- (349 mm) Guide - Order Ref. 35 - Was 6564774 - A
3Артикул: SEAT, SEAT BELT NLA - Use W/NLA 6711907 - 12.25-- (311 mm) Guide - Order 6725403 Seat Belt - Was 6667375 - A
Подробнее >
ТОПЛИВНАЯ СИСТЕМА

ТОПЛИВНАЯ СИСТЕМА

1Артикул: 7273691, GROMMET 0.375-- ID - Was 6553411 - B
2Артикул: 6598908, ELBOW Was 6681462 - A
3Артикул: 42HS04, CLAMP, HOSE Was 6515575 - A
Подробнее >
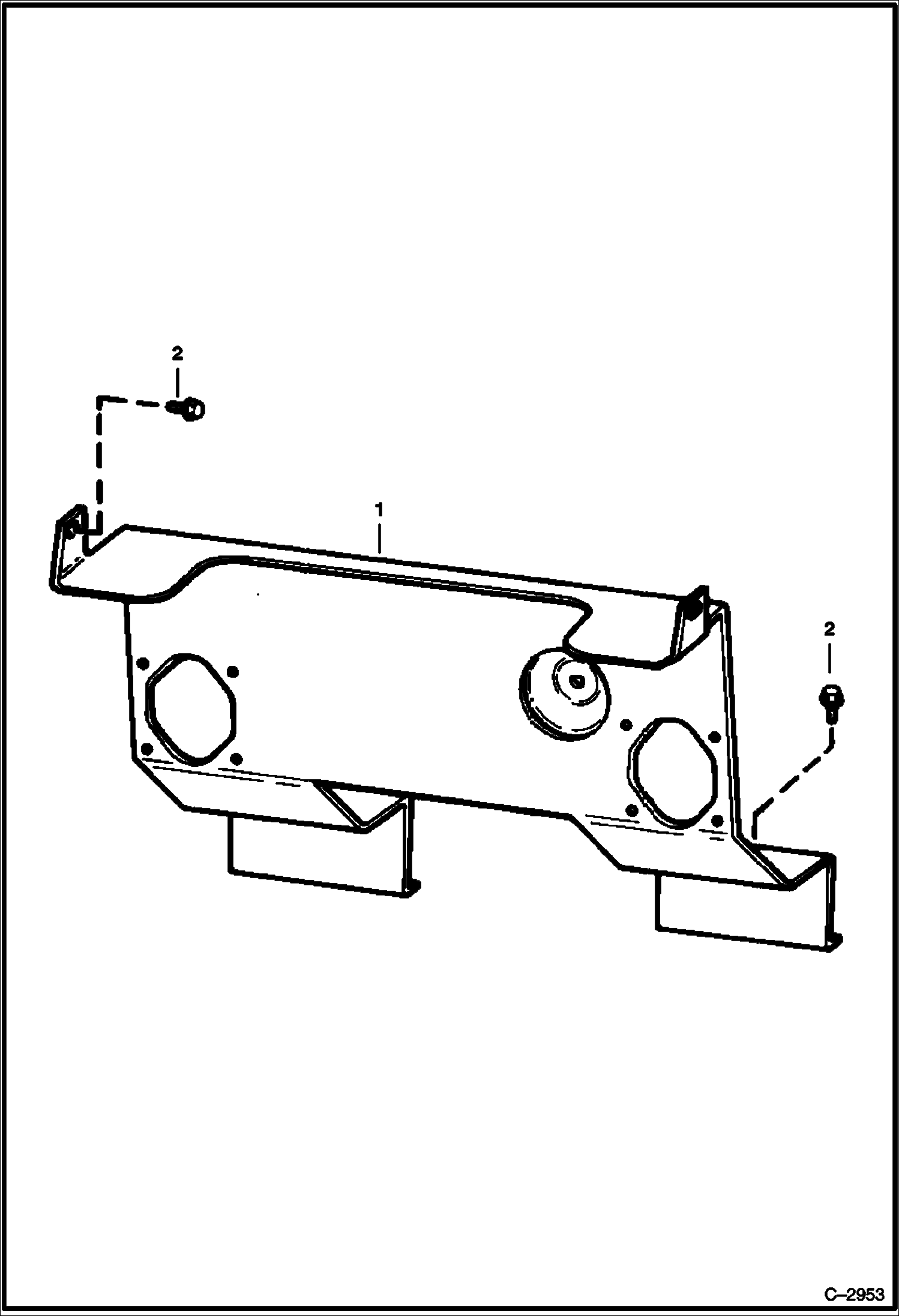
ПАНЕЛЬ

ПАНЕЛЬ

1Артикул: 6565328, SHIELD
2Артикул: 84G3712, BOLT 5
Подробнее >
ЗАДНЯЯ ДВЕРЬ

ЗАДНЯЯ ДВЕРЬ

1Артикул: 73G516, SCREW
2Артикул: 6511847, BUMPER
3Артикул: 25E16, WSHR
Подробнее >
ПОДЪЕМНЫЕ РУКОЯТИ

ПОДЪЕМНЫЕ РУКОЯТИ

1Артикул: 10C512, BOLT Was 6553808 - A
2Артикул: 7252630, PIN, RETAINING Was 6586307 - A
3Артикул: PIN,, PIN, PIVOT NLA - 2 side grooves - Was 7251588 - A
Подробнее >