+7 (701) 588 50 05 Телефон для связи
RU

WhatsApp

Позвонить

РАМА в Алматы

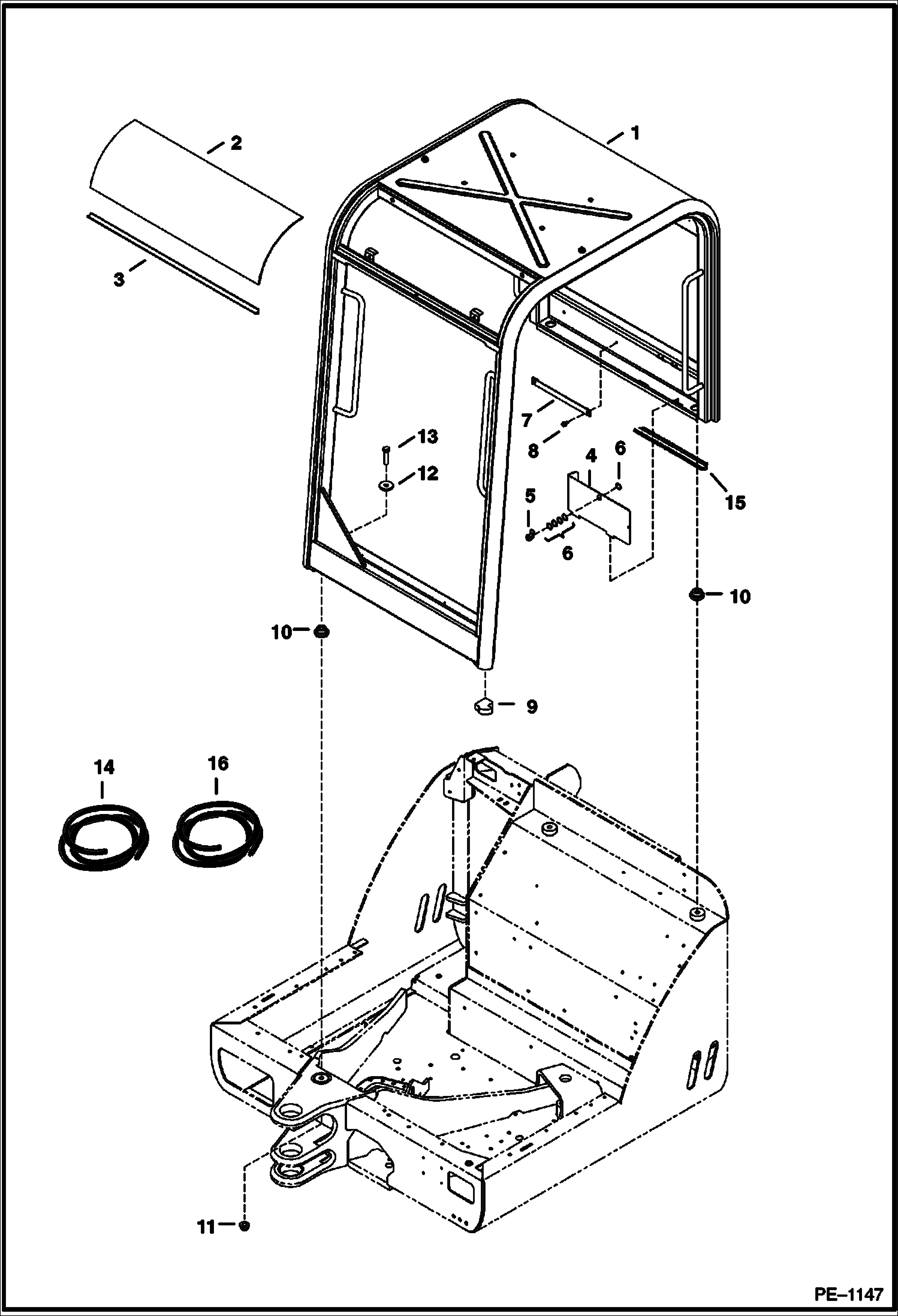
КОРПУС КУЗОВА

КОРПУС КУЗОВА

1Артикул: UPPERSTRUCTURE, UPPERSTRUCTURE See Illustration ENGINE & ATTACHING PARTS/ PE1201 See Illustration REAR DOOR/ PE1405 - NLA - Order 6810129, Ref. 37- 44, all items on Ill. PE-1405, Ref. 4, 28, 33, 34, 36, 38, 43, 45, 47, 48, 51 & 52 on Ill. PE-1201 - Was 6807951 - A
2Артикул: 6810129, UPPERSTRUCTURE See Illustration REAR DOOR/ PE1405 - Order 6810129, Ref. 37- 44, all items on Ill. PE-1405
3Артикул: UPPERSTRUCTURE, UPPERSTRUCTURE NLA
Подробнее >
РАБОЧЕЕ МЕСТО ВОДИТЕЛЯ И СИДЕНЬЕ

РАБОЧЕЕ МЕСТО ВОДИТЕЛЯ И СИДЕНЬЕ

1Артикул: 6588953, TREAD
2Артикул: 6589675, SCREW
3Артикул: 6589689, TETHERS
Подробнее >
КАБИНА ВОДИТЕЛЯ (ЛОБОВОЕ СТЕКЛО) (СЕРИЙНЫЙ НОМЕР 232512599, 232711575 И 232612686 И НИЖЕ)

КАБИНА ВОДИТЕЛЯ (ЛОБОВОЕ СТЕКЛО) (СЕРИЙНЫЙ НОМЕР 232512599, 232711575 И 232612686 И НИЖЕ)

1Артикул: WINDOW, WINDOW ASSY. NLA - Ref. 1-6, 10-17, 19-23, 25, 27-29 & 35 - order 6807874 - Was 6800880 - A
2Артикул: FRAME, FRAME NLA - order 6813673 & (2) 6680971 - Was 6800876 - A
3Артикул: 6801502, LATCH RH
Подробнее >
ИЗОЛЯЦИЯ

ИЗОЛЯЦИЯ

1Артикул: 6808484, INSULATION hood
2Артикул: 6808485, INSULATION hood
3Артикул: SEAL, SEAL NLA - tailgate - use 64-- of Ref. 22 - Was 6808486 - A
Подробнее >
ЗАДНЯЯ ДВЕРЬ (СЕРИЙНЫЙ НОМЕР 232511784, 232711126 И 232611437 И ВЫШЕ)

ЗАДНЯЯ ДВЕРЬ (СЕРИЙНЫЙ НОМЕР 232511784, 232711126 И 232611437 И ВЫШЕ)

1Артикул: 6564452, GRIP lever
2Артикул: 6808706, STOP
3Артикул: 6811376, LATCH
Подробнее >
КАБИНА ВОДИТЕЛЯ (ПРАВОСТОРОННЕЕ ОКНО)

КАБИНА ВОДИТЕЛЯ (ПРАВОСТОРОННЕЕ ОКНО)

1Артикул: WINDOW, WINDOW NLA - assy. - order Ref. 2 - Was 6805894 - A
2Артикул: 6676981, WINDOW front
3Артикул: 6676982, WINDOW rear
Подробнее >
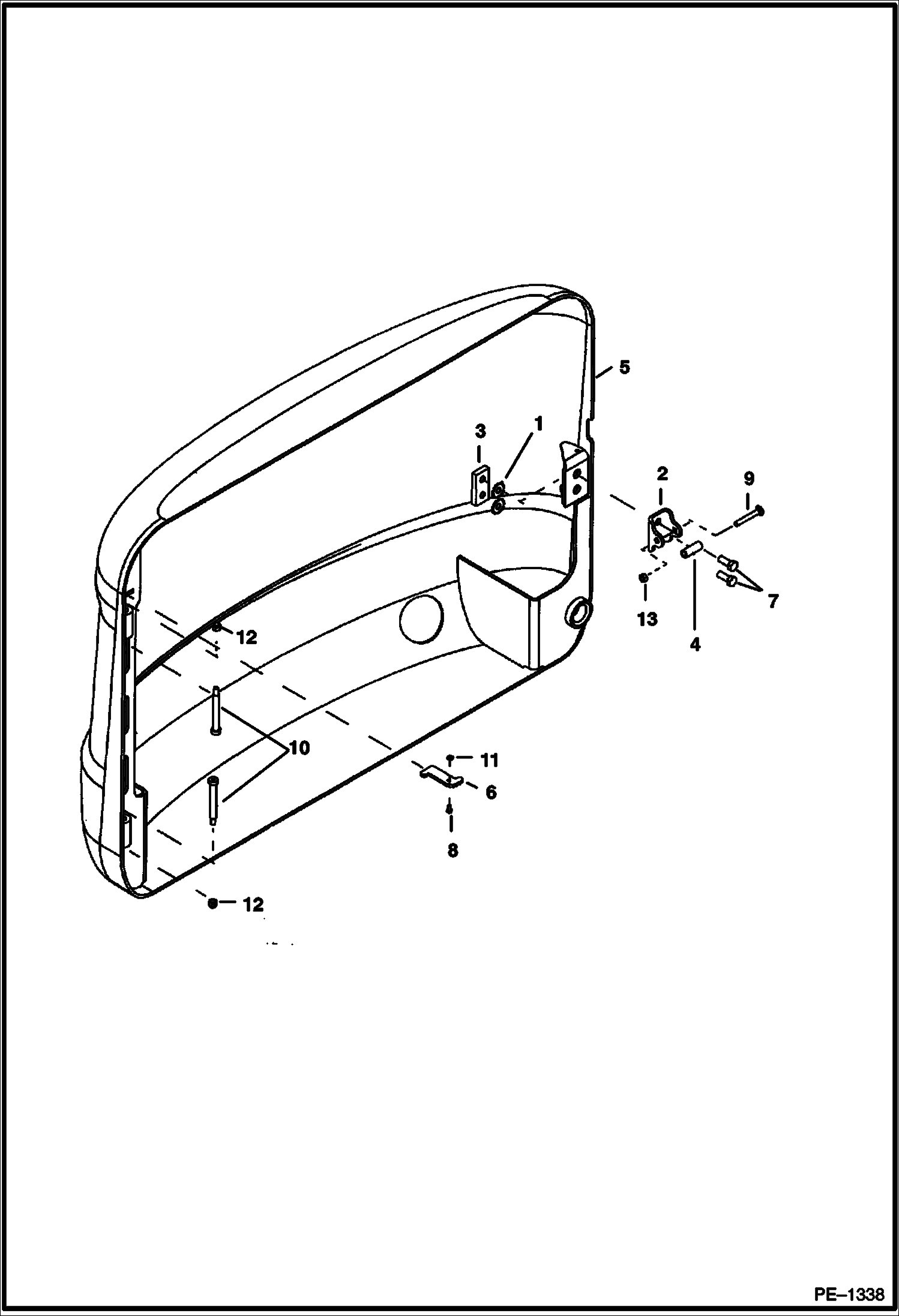
КАБИНА ОПЕРАТОРА (ДВЕРЦА)

КАБИНА ОПЕРАТОРА (ДВЕРЦА)

1Артикул: DOOR, DOOR NLA - assy. - Ref. 2 - 14 - Order components - Was 6807782 - A
2Артикул: 6805469, DOOR
3Артикул: 6805470, GLASS Upper
Подробнее >
СИДЕНЬЕ (ПОДВЕСКА)

СИДЕНЬЕ (ПОДВЕСКА)

1Артикул: SEAT, SEAT NLA - complete - cloth covered - W/Ref. 2-66 - order 6685657, redrill mounting holes as required - Was 6672519 - A
2Артикул: SEAT, SEAT NLA - complete - vinyl covered - W/Ref. 2-66 - Order 6685657 & redrill mounting holes as required - Was 6672520 - A
3Артикул: 6664180, CUSHION Bottom - vinyl
Подробнее >
ЗАДНЯЯ ДВЕРЬ (СЕРИЙНЫЙ НОМЕР 232511783, 232711125, И 232611784 И НИЖЕ)

ЗАДНЯЯ ДВЕРЬ (СЕРИЙНЫЙ НОМЕР 232511783, 232711125, И 232611784 И НИЖЕ)

1Артикул: 6675273, WASHER
2Артикул: 6719524, STRIKER
3Артикул: 6719525, BAR
Подробнее >
КРЫША НАД СИДЕНЬЕМ ВОДИТЕЛЯ

КРЫША НАД СИДЕНЬЕМ ВОДИТЕЛЯ

1Артикул: 6810595, CANOPY Was 6805906 - A
2Артикул: 6805903, WINDOW, CAB CURVED
3Артикул: SEAL, SEAL NLA - use 36-- of Ref. 14
Подробнее >
КАБИНА ВОДИТЕЛЯ (ЛОБОВОЕ СТЕКЛО) (СЕРИЙНЫЙ НОМЕР 232512600, 232711576 И 232612689 И ВЫШЕ)

КАБИНА ВОДИТЕЛЯ (ЛОБОВОЕ СТЕКЛО) (СЕРИЙНЫЙ НОМЕР 232512600, 232711576 И 232612689 И ВЫШЕ)

1Артикул: WINDOW, WINDOW NLA - assy. - Order components - Was 6807874 - A
2Артикул: SEAL, SEAL NLA - Order 119 in. (3018 mm) of Ref. 29
3Артикул: 6813674, WINDOW front
Подробнее >
ЗАМОК КОРПУСА КУЗОВА (УСТАНОВКА КОНСОЛИ)

ЗАМОК КОРПУСА КУЗОВА (УСТАНОВКА КОНСОЛИ)

1Артикул: 6567962, WASHER
2Артикул: 6567963, SPACER
3Артикул: 6586856, GRIP lever
Подробнее >
КАБИНА ОПЕРАТОРА

КАБИНА ОПЕРАТОРА

1Артикул: 6805882, CAB See Illustration OPERATOR CAB/ PE1084 - W/A - Was 6809821 - A
2Артикул: DOOR, DOOR See Illustration OPERATOR CAB/ PE1005 - NLA - Order components - Was 6807782 - A
3Артикул: 6809412, MAT floor
Подробнее >
ПРАВОСТОРОННЯЯ КРЫШКА

ПРАВОСТОРОННЯЯ КРЫШКА

1Артикул: 6563128, SPRING
2Артикул: 6563914, WASHER
3Артикул: 6649244, BALL STUD
Подробнее >