+7 (701) 588 50 05 Телефон для связи
RU

WhatsApp

Позвонить

РАМА в Алматы

КАБИНА ВОДИТЕЛЯ (СЕРИЙНЫЙ НОМЕР 19999 И НИЖЕ)

КАБИНА ВОДИТЕЛЯ (СЕРИЙНЫЙ НОМЕР 19999 И НИЖЕ)

1Артикул: 6569248, KIT cab - Ref. 2-24, 28 & 32 - Also Order 6569249
2Артикул: CAB, CAB See BTI245 NSS
3Артикул: 6569021, DECAL - Was 6557312 - A
Подробнее >
ПАНЕЛИ (СЕРИЙНЫЙ НОМЕР 11845 И ВЫШЕ)

ПАНЕЛИ (СЕРИЙНЫЙ НОМЕР 11845 И ВЫШЕ)

1Артикул: 6562807, SHIELD Wire Harness
2Артикул: 84G3716, SCREW 5
3Артикул: 6564674, SHIELD Also Order Ref. 16
Подробнее >
BOB-TACH

BOB-TACH

1Артикул: 6705172, KIT Ref. 4 & 20-28
2Артикул: BOB-TACH, BOB-TACH See Illustration DECALS/ B18944 NLA - W/Ref. 7 (NLA/6577445 Bushing) - 2.25 in (57,15 mm) O.D. weld on bushings - Order 6571744 Bob-tach & (2) Ref. 4 - Also Order 6561383 decal - Was 6705173 - A
3Артикул: 6571744, BOB-TACH W/Ref. 5 - 2.50 in (63,5 mm) O.D. weld on bushing - Also Order (2) Ref. 4 & 6561383 decal - Not in Kit
Подробнее >
СИДЕНИЕ

СИДЕНИЕ

1Артикул: SEAT, SEAT NLA - Order 6669135 - Was 6563140 - A
2Артикул: 6630468, CUSHION seat
3Артикул: 6630465, CUSHION back
Подробнее >
КАБИНА ВОДИТЕЛЯ (СЕРИЙНЫЙ НОМЕР 20001 И ВЫШЕ)

КАБИНА ВОДИТЕЛЯ (СЕРИЙНЫЙ НОМЕР 20001 И ВЫШЕ)

1Артикул: 6569249, OPERATOR CAB See BTI245 Includes Decals - Was SALES - A
2Артикул: 6568271, INSULATION
3Артикул: 6567890, INSULATION
Подробнее >
СИДЕНИЕ И ОПОРА СИДЕНЬЯ

СИДЕНИЕ И ОПОРА СИДЕНЬЯ

1Артикул: SEAT, SEAT See Illustration SEAT/ B7185 NEW
2Артикул: SEAT, SEAT BELT NLA - Order 6675074 seat belt & (2) of 6725373 spring plate - Was 6563214 - A
3Артикул: SEAT, SEAT BELT NLA - Order Ref. 33 - Was 6564774 - A
Подробнее >
ПАНЕЛИ (СЕРИЙНЫЙ НОМЕР 11844 И НИЖЕ)

ПАНЕЛИ (СЕРИЙНЫЙ НОМЕР 11844 И НИЖЕ)

1Артикул: 6562807, SHIELD Wire Harness
2Артикул: 84G3716, SCREW 5
3Артикул: 6562450, BRACE L.H.
Подробнее >
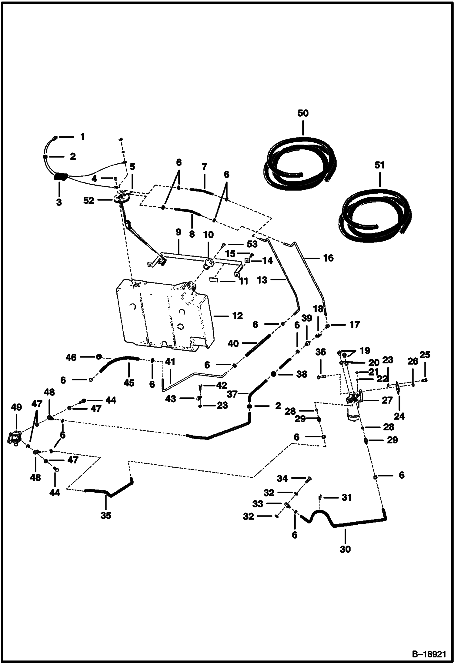
СИСТЕМА ПОДАЧИ ТОПЛИВА (СЕРИЙНЫЙ НОМЕР 11633 ЧЕРЕЗ 15090)

СИСТЕМА ПОДАЧИ ТОПЛИВА (СЕРИЙНЫЙ НОМЕР 11633 ЧЕРЕЗ 15090)

1Артикул: 6560117, WIRE
2Артикул: 742876, GROMMET
3Артикул: 6562606, SEAL
Подробнее >
СИСТЕМА ПОДАЧИ ТОПЛИВА (СЕРИЙНЫЙ НОМЕР 11632 И НИЖЕ)

СИСТЕМА ПОДАЧИ ТОПЛИВА (СЕРИЙНЫЙ НОМЕР 11632 И НИЖЕ)

1Артикул: 6560117, WIRE
2Артикул: 742876, GROMMET
3Артикул: 6562606, SEAL
Подробнее >
СИСТЕМА ПОДАЧИ ТОПЛИВА (СЕРИЙНЫЙ НОМЕР 15091 И ВЫШЕ)

СИСТЕМА ПОДАЧИ ТОПЛИВА (СЕРИЙНЫЙ НОМЕР 15091 И ВЫШЕ)

1Артикул: 6560117, WIRE
2Артикул: 742876, GROMMET
3Артикул: 6562606, SEAL
Подробнее >
ПОДЪЕМНЫЕ РУКОЯТИ И BOBTACH

ПОДЪЕМНЫЕ РУКОЯТИ И BOBTACH

1Артикул: 17C640, BOLT
2Артикул: 6547595, PIN
3Артикул: 6703953, LIFT ARM Was 6702894 - A
Подробнее >
СИДЕНИЕ (МИЧИГАН)

СИДЕНИЕ (МИЧИГАН)

1Артикул: SEAT, SEAT NLA - W/Ref. 2-5 & 8 - Order 6669135 Seat
2Артикул: 6669135, SEAT, OPERATOR VINYL See Illustration SEAT COVERS/ NA10386 W/Ref. 2-7
3Артикул: 6670160, CUSHION W/edging, clip & (2) grommets
Подробнее >
ЗАДНЯЯ ДВЕРЬ

ЗАДНЯЯ ДВЕРЬ

1Артикул: 6704328, REAR DOOR Was 6565073 - A
2Артикул: 85D5, NUT 5
3Артикул: 6563681, HANDLE
Подробнее >