+7 (701) 588 50 05 Телефон для связи
RU

WhatsApp

Позвонить

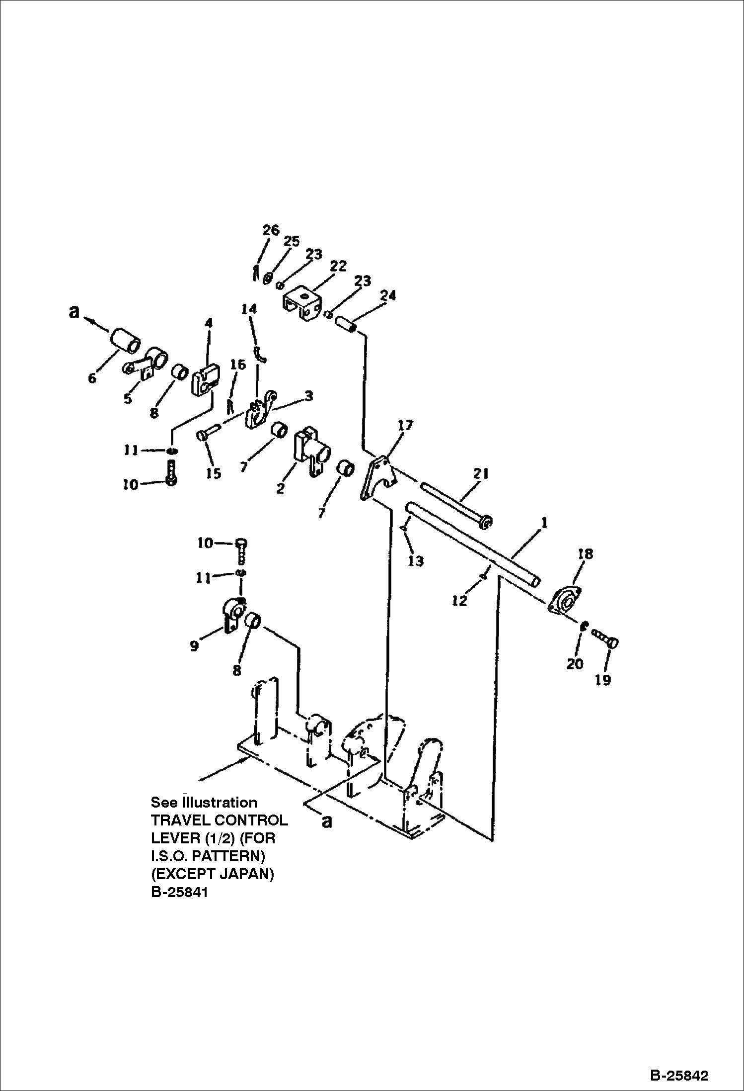
Продажа: РЫЧАГ УПРАВЛЕНИЯ ХОДОМ (2 в Алматы и Астане Цены официального дилера с доставкой по всему Казахстану

Официальный дилер Все запчасти в наличии Лизинг / Рассрочка Сервис и гарантия
Спецтехника 2) (ДЛЯ I.S.O. РЕЖИМА)(КРОМЕ ЯПОНИИ) от Globus Machinery

2) (ДЛЯ I.S.O. РЕЖИМА)(КРОМЕ ЯПОНИИ)

1Артикул: SHAFT, SH...
2Артикул: LEVER, LE...
3Артикул: LEVER, LE...
Подробнее >