+7 (701) 588 50 05 Телефон для связи
RU

WhatsApp

Позвонить

СИСТЕМА УПРАВЛЕНИЯ ОБОРУДОВАНИЕМ в Алматы

ТРУБОПРОВОД ГИДРАВЛИЧЕСКОЙ СИСТЕМЫ ( ХОД И ЛИНИЯ ОТВАЛОВ )

ТРУБОПРОВОД ГИДРАВЛИЧЕСКОЙ СИСТЕМЫ ( ХОД И ЛИНИЯ ОТВАЛОВ )

1Артикул: 6649166, HOSE
2Артикул: 6638058, HOSE
3Артикул: 6649164, HOSE
Подробнее >
ГИДРОПРИВОДНОЙ НАСОС 1 ИЗ 3

ГИДРОПРИВОДНОЙ НАСОС 1 ИЗ 3

1Артикул: 6649201, PUMP ASSY See Illustration HYDRAULIC PUMP/ 6103 See Illustration HYDRAULIC PUMP/ B25464 Includes all parts in ILL. B25463, B25464, & 6103
2Артикул: 6652477, PUMP ASY (SBR8A)
3Артикул: BRACKET, BRACKET NLA
Подробнее >
ГИДРОПРИВОДНОЙ НАСОС 3 OF 3

ГИДРОПРИВОДНОЙ НАСОС 3 OF 3

1Артикул: 6649201, PUMP ASSY See Illustration HYDRAULIC PUMP/ B25464 See Illustration HYDRAULIC PUMP/ B25463 Includes all parts in ILL. B25463, B25464, & 6103
2Артикул: 6654203, HYD PUMP (SBR6)
3Артикул: BRACKET, BRACKET NLA
Подробнее >
ТРУБОПРОВОД ГИДРАВЛИЧЕСКОЙ СИСТЕМЫ (ГИДРОМОТОР ПОВОРОТНОЙ ПЛАТФОРМЫ)

ТРУБОПРОВОД ГИДРАВЛИЧЕСКОЙ СИСТЕМЫ (ГИДРОМОТОР ПОВОРОТНОЙ ПЛАТФОРМЫ)

1Артикул: 6654049, HOSE
2Артикул: 6638580, ELBOW
3Артикул: 6637415, O-RING
Подробнее >
ТРУБОПРОВОД ГИДРАВЛИЧЕСКОЙ СИСТЕМЫ ( ОТ КЛАПАНА К БАКУ )

ТРУБОПРОВОД ГИДРАВЛИЧЕСКОЙ СИСТЕМЫ ( ОТ КЛАПАНА К БАКУ )

1Артикул: 6638422, NIPPLE
2Артикул: 6637417, O-RING
3Артикул: 6637605, HOSE
Подробнее >
ТРУБОПРОВОД ГИДРАВЛИЧЕСКОЙ СИСТЕМЫ ( ИЗ НАСОСА В КЛАПАН )

ТРУБОПРОВОД ГИДРАВЛИЧЕСКОЙ СИСТЕМЫ ( ИЗ НАСОСА В КЛАПАН )

1Артикул: TUBE, TUBE Was 20N-62-44130
2Артикул: 6653465, TUBE
3Артикул: 6637441, PLUG
Подробнее >
ТРУБОПРОВОД ГИДРАВЛИЧЕСКОЙ СИСТЕМЫ ( КАНАТ ПОВОРОТА СТРЕЛЫ )

ТРУБОПРОВОД ГИДРАВЛИЧЕСКОЙ СИСТЕМЫ ( КАНАТ ПОВОРОТА СТРЕЛЫ )

1Артикул: 6674026, TUBE hose
2Артикул: NIPPLE, NIPPLE Was 20N-62-48590
3Артикул: NIPPLE, NIPPLE Was 20N-62-48580
Подробнее >
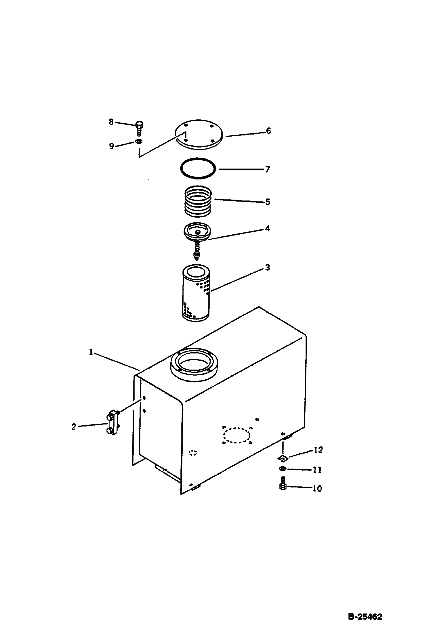
ГИДРАВЛИЧЕСКИЙ БАК

ГИДРАВЛИЧЕСКИЙ БАК

1Артикул: TANK, TANK Was 20N-60-41310
2Артикул: 6653520, OIL GAUGE level
3Артикул: 6649825, HYD FILTR
Подробнее >
ТРУБОПРОВОД ГИДРАВЛИЧЕСКОЙ СИСТЕМЫ ( ВОЗВРАТ ) ( ДЛЯ НАВЕСНОГО ОБОРУДОВАНИЯ )

ТРУБОПРОВОД ГИДРАВЛИЧЕСКОЙ СИСТЕМЫ ( ВОЗВРАТ ) ( ДЛЯ НАВЕСНОГО ОБОРУДОВАНИЯ )

1Артикул: 6638448, ELBOW
2Артикул: 6637417, O-RING
3Артикул: HOSE, HOSE Was 07260-21450
Подробнее >
5 ОБРАТНЫЙ КЛАПАН КАТУШКИ 1 ИЗ 2

5 ОБРАТНЫЙ КЛАПАН КАТУШКИ 1 ИЗ 2

1Артикул: VALVE, VALVE ASSY See Illustration 5 SPOOL CONTROL VALVE/ 6206 Includes all parts in ILL. B25465 & 6206 - Was 709-35-11300
2Артикул: BLOCK, BLOCK NLA
3Артикул: COVER, COVER NLA
Подробнее >
ТРУБОПРОВОД ГИДРАВЛИЧЕСКОЙ СИСТЕМЫ ( ИЗ БАКА В НАСОС )

ТРУБОПРОВОД ГИДРАВЛИЧЕСКОЙ СИСТЕМЫ ( ИЗ БАКА В НАСОС )

1Артикул: 6638414, TUBE
2Артикул: 6638413, STRAINER
3Артикул: 6637349, O-RING
Подробнее >
ГИДРОПРИВОДНОЙ НАСОС 2 OF 3

ГИДРОПРИВОДНОЙ НАСОС 2 OF 3

1Артикул: 6649201, PUMP ASSY See Illustration HYDRAULIC PUMP/ 6103 See Illustration HYDRAULIC PUMP/ B25463 Includes all parts in ILL. B25463, B25464, & 6103
2Артикул: 6652829, PUMP ASY (SBR8A)
3Артикул: BRACKET, BRACKET NLA
Подробнее >
2 ОБРАТНЫЙ КЛАПАН КАТУШКИ 2 ИЗ 2

2 ОБРАТНЫЙ КЛАПАН КАТУШКИ 2 ИЗ 2

1Артикул: VALVE, VALVE ASSY See Illustration 2 SPOOL CONTROL VALVE/ 6211 Includes all parts in ILL. 6211& 6212 - Was 709-32-12600
2Артикул: 6640249, VALVE Main Relief - Ref. 1-11
3Артикул: SLEEVE, SLEEVE NLA
Подробнее >
ПОВОРОТНОЕ СОЕДИНЕНИЕ

ПОВОРОТНОЕ СОЕДИНЕНИЕ

1Артикул: 6640262, CONNECTOR
2Артикул: 6640263, ROTOR
3Артикул: 6637375, O-RING
Подробнее >
ТРУБОПРОВОД ГИДРАВЛИЧЕСКОЙ СИСТЕМЫ ( ОТ КЛАПАНА К БАКУ ) ( ДЛЯ НАВЕСНОГО ОБОРУДОВАНИЯ )

ТРУБОПРОВОД ГИДРАВЛИЧЕСКОЙ СИСТЕМЫ ( ОТ КЛАПАНА К БАКУ ) ( ДЛЯ НАВЕСНОГО ОБОРУДОВАНИЯ )

1Артикул: ELBOW, ELBOW Was 20N-973-4120
2Артикул: 6637417, O-RING
3Артикул: TUBE, TUBE Was 20N-973-4130
Подробнее >
ТРУБОПРОВОД ГИДРАВЛИЧЕСКОЙ СИСТЕМЫ (ДОПОЛНИТЕЛЬНАЯ СИСТЕМА КЛАПАНОВ )

ТРУБОПРОВОД ГИДРАВЛИЧЕСКОЙ СИСТЕМЫ (ДОПОЛНИТЕЛЬНАЯ СИСТЕМА КЛАПАНОВ )

1Артикул: HOSE, HOSE Was 20N-973-4160
2Артикул: HOSE, HOSE Was 20N-973-4180
3Артикул: 6637417, O-RING
Подробнее >
ТРУБОПРОВОД ГИДРАВЛИЧЕСКОЙ СИСТЕМЫ ( ЛИНИЯ НАВЕСНОГО ОБОРУДОВАНИЯ )

ТРУБОПРОВОД ГИДРАВЛИЧЕСКОЙ СИСТЕМЫ ( ЛИНИЯ НАВЕСНОГО ОБОРУДОВАНИЯ )

1Артикул: HOSE, HOSE Was 20N-973-4220
2Артикул: HOSE, HOSE (TBG Spec.) - Was 20N-973-4320
3Артикул: CONNECTOR, CONNECTOR Was 07238-10422
Подробнее >
1 ОБРАТНЫЙ КЛАПАН КАТУШКИ ( ДЛЯ НАВЕСНОГО ОБОРУДОВАНИЯ )

1 ОБРАТНЫЙ КЛАПАН КАТУШКИ ( ДЛЯ НАВЕСНОГО ОБОРУДОВАНИЯ )

1Артикул: 6640570, VALVE ASSY
2Артикул: BLOCK, BLOCK NLA
3Артикул: BLOCK, BLOCK NLA
Подробнее >
2 ОБРАТНЫЙ КЛАПАН КАТУШКИ 1 ИЗ 2

2 ОБРАТНЫЙ КЛАПАН КАТУШКИ 1 ИЗ 2

1Артикул: VALVE, VALVE ASSY See Illustration 2 SPOOL CONTROL VALVE/ 6212 Includes all parts in ILL. 6211 & 6212 - Was 709-32-12600
2Артикул: COVER, COVER NLA
3Артикул: BLOCK, BLOCK NLA
Подробнее >
5 ОБРАТНЫЙ КЛАПАН КАТУШКИ 2 ИЗ 2

5 ОБРАТНЫЙ КЛАПАН КАТУШКИ 2 ИЗ 2

1Артикул: VALVE, VALVE ASSY See Illustration 5 SPOOL CONTROL VALVE/ B25465 Includes all parts in ILL. B25465 & 6206 - Was 709-35-11300
2Артикул: 6640249, VALVE Main Relief - Ref. 1-11
3Артикул: SLEEVE, SLEEVE NLA
Подробнее >
КЛАПАН ПЕРЕКЛЮЧЕНИЯ

КЛАПАН ПЕРЕКЛЮЧЕНИЯ

1Артикул: VALVE,, VALVE, SELECTOR Was 20M-60-39400
2Артикул: BODY, BODY NLA
3Артикул: SPOOL, SPOOL NLA
Подробнее >