+7 (701) 588 50 05 Телефон для связи
RU

WhatsApp

Позвонить

ТАНДЕМНЫЙ КАТОК в Алматы

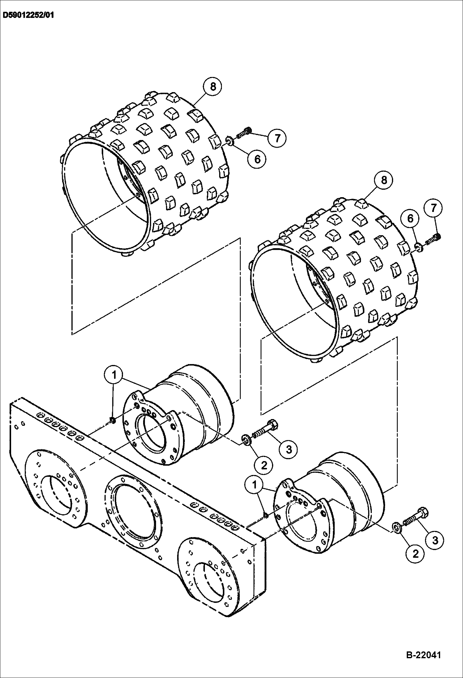
БАРАБАН И ПРИВОДНОЙ ЭЛЕКТРОДВИГАТЕЛЬ

БАРАБАН И ПРИВОДНОЙ ЭЛЕКТРОДВИГАТЕЛЬ

1Артикул: IR59073775, DRIVE MOTOR See Illustration DRIVE MOTOR/ B22057
2Артикул: IR96712237, WASHER
3Артикул: IR96714894, BOLT
Подробнее >
ВИБРАЦИОННАЯ МАШИНА В СБОРЕ

ВИБРАЦИОННАЯ МАШИНА В СБОРЕ

1Артикул: IR43845239, MOTOR, VIBRATION vibration - Was IR58954090 - A
2Артикул: IR59489658, SEAL KIT
3Артикул: IR96702469, BOLT
Подробнее >
ПРИВОДНОЙ ЭЛЕКТРОДВИГАТЕЛЬ (ВНУТРЕННИЙ ОСТАНОВ)

ПРИВОДНОЙ ЭЛЕКТРОДВИГАТЕЛЬ (ВНУТРЕННИЙ ОСТАНОВ)

1Артикул: IR59089169, SEAL KIT
2Артикул: IR59034637, SEAL KIT
3Артикул: IR59034645, SEAL KIT external
Подробнее >