+7 (701) 588 50 05 Телефон для связи
RU

WhatsApp

Позвонить

ТАНДЕМНЫЙ КАТОК в Алматы

ГИДРАВЛИЧЕСКИЙ ФИЛЬТР И МОНТАЖ КЛАПАНА

ГИДРАВЛИЧЕСКИЙ ФИЛЬТР И МОНТАЖ КЛАПАНА

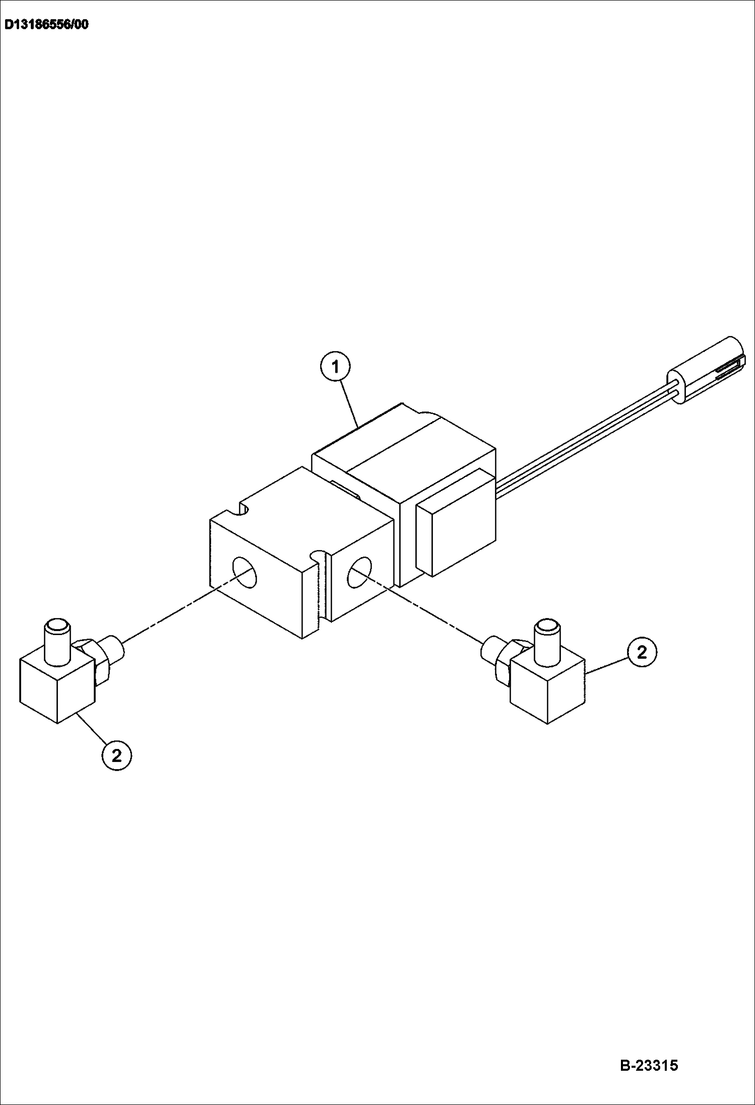
1Артикул: Valve, Valve Assy See Illustration BRAKE VALVE ASSEMBLY/ B23315 BRAKE
2Артикул: Filter, Filter Assy See Illustration HYDRAULIC FILTER ASSEMBLY/ B21878 HYDRAULIC
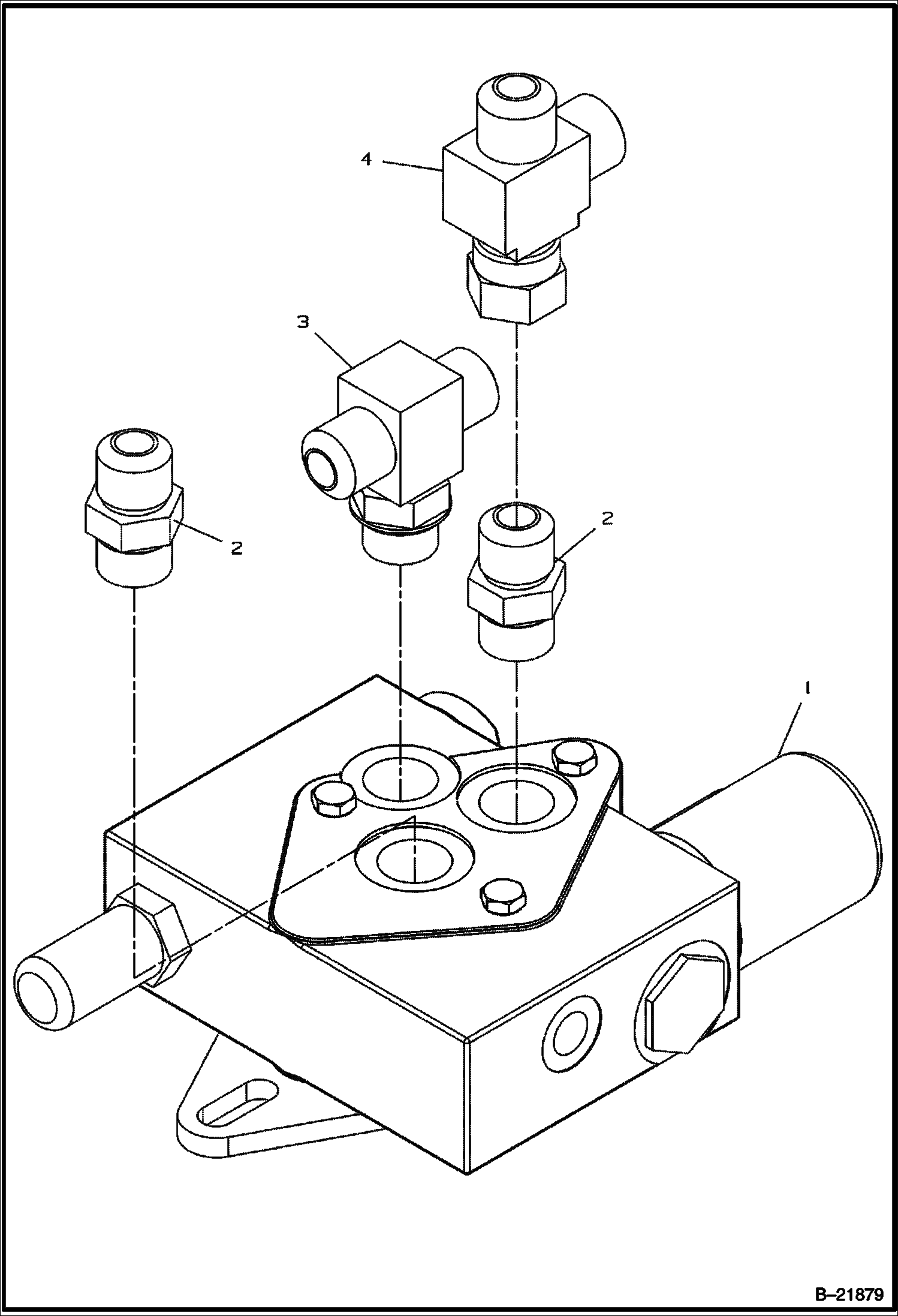
3Артикул: Valve, Valve Assy See Illustration VIBRATION VALVE ASSEMBLY/ B21879 VIBRATION
Подробнее >
КЛАПАН ВИБРАТОРА В СБОРЕ

КЛАПАН ВИБРАТОРА В СБОРЕ

1Артикул: IR59212894, Vibration Valve
2Артикул: IR54514591, Seal Kit
3Артикул: IR95303368, ADAPTER
Подробнее >
ТОРМОЗНОЙ КЛАПАН В СБОРЕ

ТОРМОЗНОЙ КЛАПАН В СБОРЕ

1Артикул: IR13184197, Brake Valve
2Артикул: IR13247630, COIL
3Артикул: IR13247655, Assembly Cartridge & Coil
Подробнее >
ЗАДНИЙ ВНУТРЕННИЙ СКРЕБОК В СБОРЕ (ОПЦИЯ)

ЗАДНИЙ ВНУТРЕННИЙ СКРЕБОК В СБОРЕ (ОПЦИЯ)

1Артикул: IR59296020, Scraper urethane
2Артикул: IR13188701, Support scraper
3Артикул: IR59296038, Backing Bar
Подробнее >
ГИДРАВЛИЧЕСКИЙ ПАТРУБОК И УСТАНОВКА ШЛАНГА

ГИДРАВЛИЧЕСКИЙ ПАТРУБОК И УСТАНОВКА ШЛАНГА

1Артикул: IR13197777, HOSE assembly - 16--
2Артикул: IR59328443, Hose assembly - 14--
3Артикул: IR13223300, HOSE assembly - 78--
Подробнее >
ГИДРАВЛИЧЕСКИЙ ФИЛЬТР В СБОРЕ

ГИДРАВЛИЧЕСКИЙ ФИЛЬТР В СБОРЕ

1Артикул: IR59259051, FILTER ASSY hydraulic
2Артикул: IR59213033, Filter Head hydraulic
3Артикул: IR43919083, FILTER, HYDRAULIC Was IR59026500 - A
Подробнее >
ПЕРЕДНИЙ ВНУТРЕННИЙ СКРЕПЕР В СБОРЕ (ОПЦИЯ)

ПЕРЕДНИЙ ВНУТРЕННИЙ СКРЕПЕР В СБОРЕ (ОПЦИЯ)

1Артикул: IR59296020, Scraper urethane
2Артикул: IR13165873, Support scraper
3Артикул: IR59296038, Backing Bar
Подробнее >
УСТАНОВКА ВНУТРЕННЕГО СКРЕБКА (ОПЦИЯ)

УСТАНОВКА ВНУТРЕННЕГО СКРЕБКА (ОПЦИЯ)

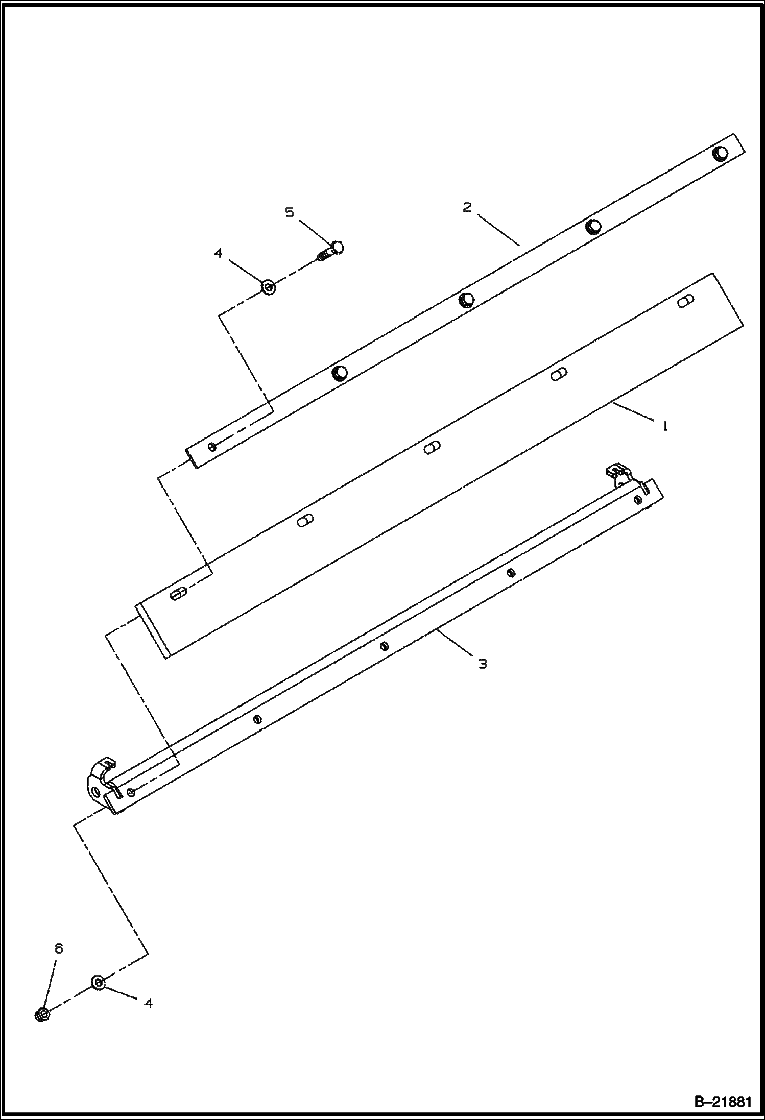
1Артикул: Scraper, Scraper Assy See Illustration REAR INSIDE SCRAPER ASSEMBLY/ B21881 - rear inside
2Артикул: IR54590831, Spring extension
3Артикул: IR96739594, Screw
Подробнее >