+7 (701) 588 50 05 Телефон для связи
RU

WhatsApp

Позвонить

ТРАНСМИССИЯ в Алматы

НАГНЕТАТЕЛЬ В СБОРЕ

НАГНЕТАТЕЛЬ В СБОРЕ

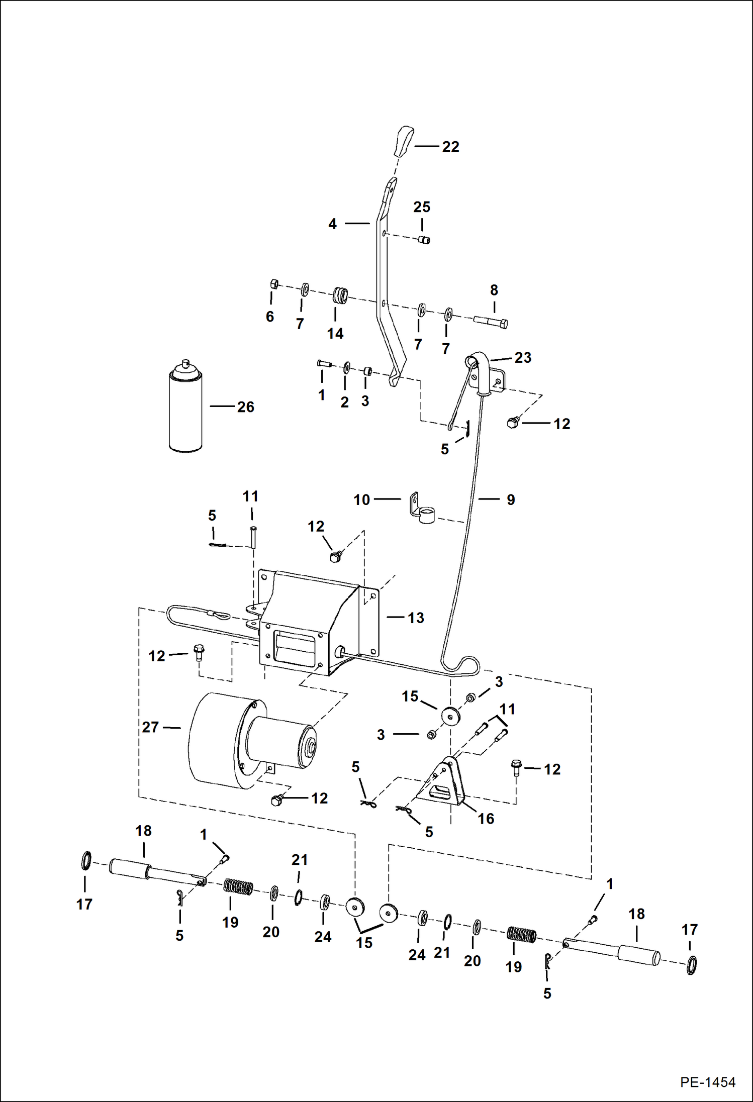
1Артикул: 6678901, BLOWER sealed - Ref. 2-8 - for mounting see Ill. PE1454 (page 25)
2Артикул: 6679674, RETAINER
3Артикул: 6679680, HOUSING blower
Подробнее >
ТОРМОЗА

ТОРМОЗА

1Артикул: 4F4051, PIN
2Артикул: 27E4, WASHER
3Артикул: 6732073, SPACER
Подробнее >