ЗАПЧАСТИ ДВИГАТЕЛЯ в Алматы
КОЛЛЕКТОРЫ (KUBOTA D722-EB-BC-4) (TIER I) (СЕРИЙНЫЙ НОМЕР 5236 11001 И ВЫШЕ, 5237 11001 И ВЫШЕ)
1Артикул: 6676061, MANIFOLD Intake - W/Ref. 2
2Артикул: 6670535, GASKET See Illustration ENGINE & GASKET KITS/ B16486 INCLUDED W/UPPER GASKET KIT
3Артикул: 3974289, STUD Was 6670532 - A
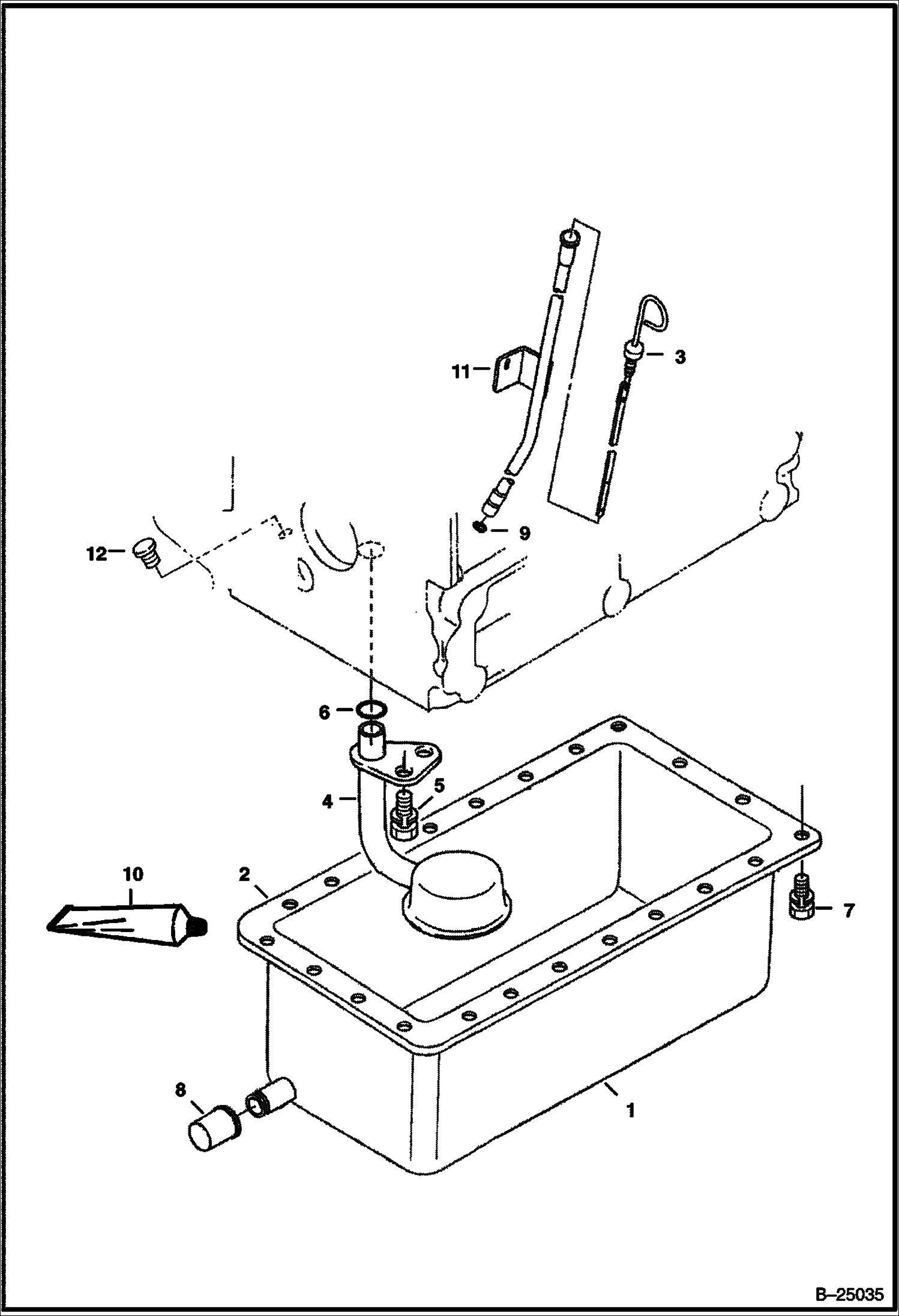
ПОДДОН КАРТЕРА (KUBOTA D722-EB-BC-4) (TIER I) (СЕРИЙНЫЙ НОМЕР 5236 11001 И ВЫШЕ, 5237 11001 И ВЫШЕ)
1Артикул: 6685739, PAN W/O Adapter
2Артикул: GASKET, GASKET NLA - Use Ref. 10
3Артикул: 6678938, DIPSTICK
ВОЗДУШНЫЙ ФИЛЬТР (СЕРИЙНЫЙ НОМЕР 523611001 И ВЫШЕ, 523711001 И ВЫШЕ)
1Артикул: 6675529, FILTER assy - W/Ref. 2-7
2Артикул: HOUSING, HOUSING NSS - Order Ref. 1
3Артикул: 6673753, FILTER, AIR INNER
ВОЗДУШНЫЙ ФИЛЬТР СЕРИЙНЫЙ НОМЕР 5287 11001 И ВЫШЕ, 5288 11001 И ВЫШЕ
1Артикул: FILTER, FILTER NLA - assy. - Order Ref. 2 - Was 6686859 - A
2Артикул: 6687263, FILTER, AIR INNER secondary - inner
3Артикул: 6687262, FILTER, AIR OUTER primary - outer
КОЛЛЕКТОРЫ (KUBOTA D722-E2B-BC-6) (TIER II) (СЕРИЙНЫЙ НОМЕР 5287 11001 И ВЫШЕ, 5288 11001 И ВЫШЕ)
1Артикул: 6688062, MANIFOLD intake - W/Ref. 2
2Артикул: 6670535, GASKET
3Артикул: 3974289, STUD
ВОДЯНАЯ ПОМПА (KUBOTA D722-EB-BC-4) (TIER I) 5236 11001 И ВЫШЕ, 5237 11001 И ВЫШЕ
1Артикул: 6670506, PUMP ASSY. Ref. 2-7
2Артикул: BODY, BODY NSS
3Артикул: BEARING, BEARING - A
ДВИГАТЕЛЬ И КРЕПЕЖНЫЕ ДЕТАЛИ (КРЕПЛЕНИЕ ДВИГАТЕЛЯ) (СЕРИЙНЫЙ НОМЕР 523611001 И ВЫШЕ, 523711001 И ВЫШЕ)
1Артикул: 6736471, SHIELD belt/muffler
2Артикул: 31C848, BOLT engine
3Артикул: 7113470, BRACKET engine - Was 6731306 - C
НАСОС ВПРЫСКА (KUBOTA D722-EB-BC-4) (TIER I) (СЕРИЙНЫЙ НОМЕР 5236 11001 И ВЫШЕ, 5237 11001 И ВЫШЕ)
1Артикул: 6670443, PLATE
2Артикул: 6657462, SCREW
3Артикул: 6657439, SPRING
ВОДЯНАЯ ПОМПА (KUBOTA D722-E2B-BC-6) (TIER II) (СЕРИЙНЫЙ НОМЕР 5287 11001 И ВЫШЕ, 5288 11001 И ВЫШЕ)
1Артикул: 6687713, PUMP, WATER Ref. 2-7
2Артикул: BODY, BODY NSS
3Артикул: BEARING, BEARING - A
ПОДДОН КАРТЕРА (KUBOTA D722-E2B-BC-6) (TIER II) (СЕРИЙНЫЙ НОМЕР 5287 11001 И ВЫШЕ, 5288 11001 И ВЫШЕ)
1Артикул: 6688056, OIL PAN W/O Adapter
2Артикул: GASKET, GASKET NLA - Use Ref. 10
3Артикул: 6687710, DIPSTICK
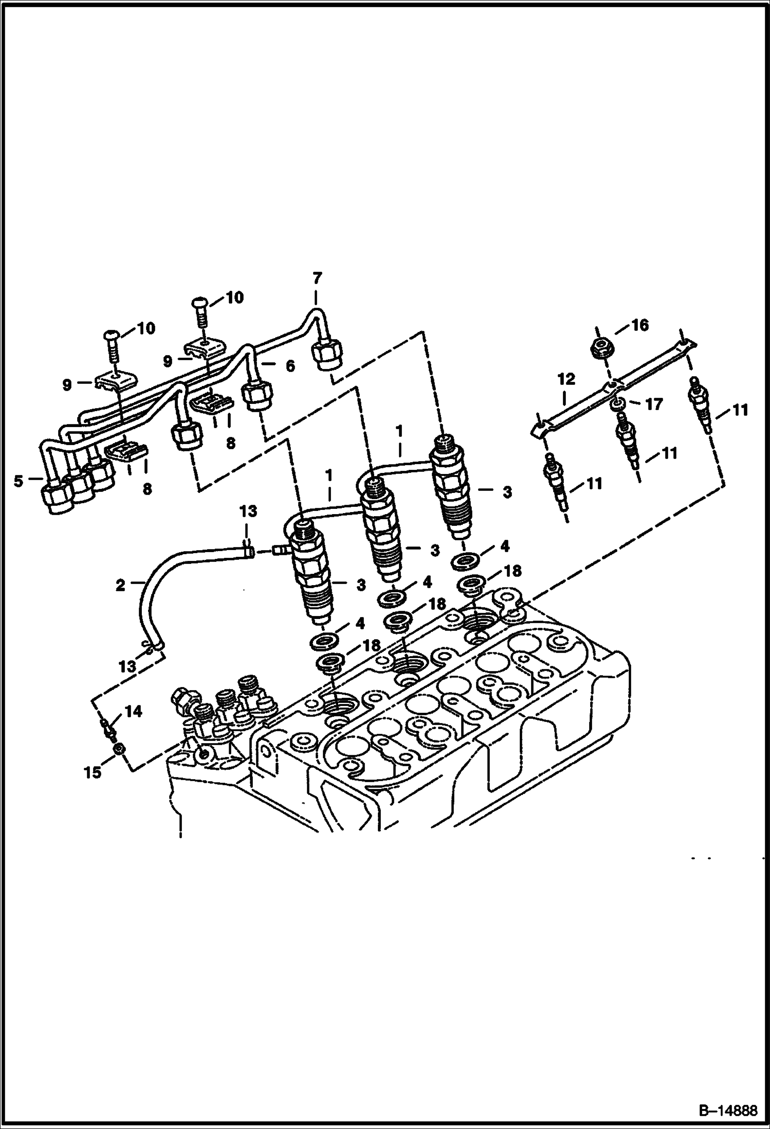
СОПЛО ФОРСУНКИ (KUBOTA D722-EB-BC-4) (TIER I) (СЕРИЙНЫЙ НОМЕР 5236 11001 И ВЫШЕ, 5237 11001 И ВЫШЕ)
1Артикул: 6670463, PIPE Injector Return Line
2Артикул: 6670464, HOSE Overflow - W/Ref. 13
3Артикул: NOZZLE, NOZZLE HOLDER See Illustration NOZZLE HOLDER/ B14862 - Was 6670465 - B
НАСОС ВПРЫСКА (KUBOTA D722-E2B-BC-6) (TIER II) (СЕРИЙНЫЙ НОМЕР 5287 11001 И ВЫШЕ, 5288 11001 И ВЫШЕ)
1Артикул: 6670432, PUMP, FUEL INJ W/Ref. 5 & 7-9
2Артикул: 6670432REM, PUMP, FUEL INJ. KUBOTA D722 W/Ref. 5 & 7-9
3Артикул: 6672396, PLUG
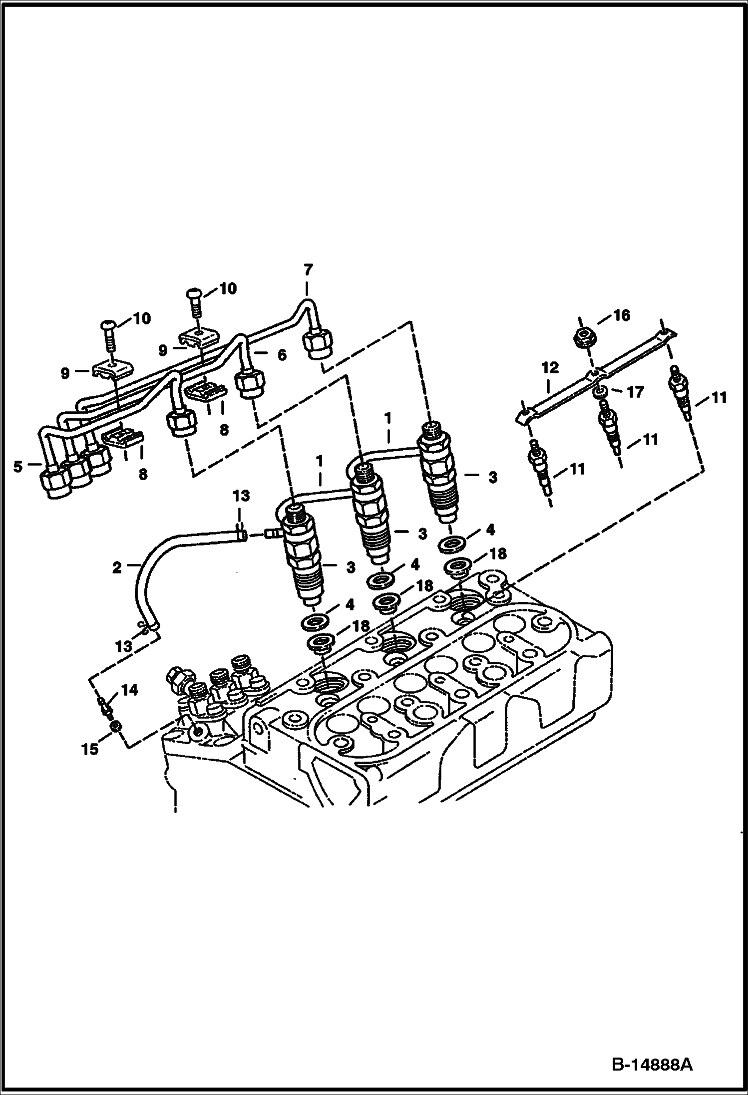
СОПЛО ФОРСУНКИ (KUBOTA D722-E2B-BC-6) (TIER II) (СЕРИЙНЫЙ НОМЕР 5287 11001 И ВЫШЕ, 5288 11001 И ВЫШЕ)
1Артикул: 6670463, PIPE Injector Return Line
2Артикул: 6670464, HOSE Overflow - W/Ref. 13
3Артикул: NOZZLE, NOZZLE HOLDER See Illustration NOZZLE HOLDER/ B14862A - Was 6670465 - B
ГОЛОВКА ЦИЛИНДРА (KUBOTA D722-EB-BC-4) (TIER I) (СЕРИЙНЫЙ НОМЕР 5236 11001 И ВЫШЕ, 5237 11001 И ВЫШЕ)
1Артикул: 6670350, HEAD, CYL ENG W/Ref. 2-8
2Артикул: 6598116, PLUG Was 6652797 - A
3Артикул: 6657465, PLUG