+7 (701) 588 50 05 Телефон для связи
RU

WhatsApp

Позвонить

ЗАПЧАСТИ ДВИГАТЕЛЯ в Алматы

СИСТЕМА ПОДАЧИ ТОПЛИВА И БАКИ (СЕРИЙНЫЙ НОМЕР 512913001 - 512915199)

СИСТЕМА ПОДАЧИ ТОПЛИВА И БАКИ (СЕРИЙНЫЙ НОМЕР 512913001 - 512915199)

1Артикул: 42HS04, CLAMP, HOSE Was 6515575 - A
2Артикул: HOSE, HOSE NLA - Order Ref. 31 (6577822 Hose) - 60-- (1530 mm) long
3Артикул: 6553411, BUSHING 0.38-- ID
Подробнее >
ДВИГАТЕЛЬ И КОМПЛЕКТ ПРОКЛАДОК (KUBOTA - V2203)

ДВИГАТЕЛЬ И КОМПЛЕКТ ПРОКЛАДОК (KUBOTA - V2203)

1Артикул: ENGINE, ENGINE See Illustration ENGINE & GASKET KITS/ B24687 See BTI388ldr - NLA - does not include starter, alternator, 2 groove crankshaft pulley, flywheel or flywheel housing - Order 6653482REM engine or 6685981 Tier II engine - Was 6653482 - A
2Артикул: 6653482REM, ENGINE, KUBOTA V2203 Was NLA - A
3Артикул: ENGINE,, ENGINE, KUBOTA V2203 for new engine order 6685981 engine - Was 6704441 - A
Подробнее >
СИСТЕМА ПОДАЧИ ТОПЛИВА И БАКИ (СЕРИЙНЫЙ НОМЕР 512915200 И ВЫШЕ, 516711001 И ВЫШЕ, 517711001 И ВЫШЕ)

СИСТЕМА ПОДАЧИ ТОПЛИВА И БАКИ (СЕРИЙНЫЙ НОМЕР 512915200 И ВЫШЕ, 516711001 И ВЫШЕ, 517711001 И ВЫШЕ)

1Артикул: 42HS04, CLAMP, HOSE Was 6515575 - A
2Артикул: HOSE, HOSE NLA - 60--(1530mm) long - Order Ref. 31
3Артикул: 6553411, BUSHING 0.38-- ID
Подробнее >
ТОПЛИВНЫЙ РАСПРЕДЕЛИТЕЛЬНЫЙ ВАЛ

ТОПЛИВНЫЙ РАСПРЕДЕЛИТЕЛЬНЫЙ ВАЛ

1Артикул: 6655211, CAMSHAFT Assy. - Ref. 2 - 14
2Артикул: CAMSHAFT, CAMSHAFT NLA - fuel - Order Ref. 1 - Was 6655875 - A
3Артикул: 851242, BEARING
Подробнее >
РАДИАТОР И КРОНШТЕЙН

РАДИАТОР И КРОНШТЕЙН

1Артикул: 6666682, RADIATOR
2Артикул: 3974310, CAP Radiator
3Артикул: 6596905, MOUNT Radiator
Подробнее >
ФОРСУНКОДЕРЖАТЕЛЬ

ФОРСУНКОДЕРЖАТЕЛЬ

1Артикул: 7023120, INJECTOR, FUEL ASSY nozzle - Ref. 2-12 - Was 6722147 - A
2Артикул: 6722147REM, NOZZLE, FUEL INJ. KUBOTA V2203 nozzle - Ref. 2-12
3Артикул: 6657460, NUT
Подробнее >
РЫЧАГ ОСТАНОВА ДВИГАТЕЛЯ

РЫЧАГ ОСТАНОВА ДВИГАТЕЛЯ

1Артикул: 3974975, IDLER Assy., idle - Ref. 2 - 6
2Артикул: 6653906, BOLT ASSY. Adjusting
3Артикул: 2DM8, NUT Adjusting
Подробнее >
ГОЛОВКА БЛОКА ЦИЛИНДРОВ

ГОЛОВКА БЛОКА ЦИЛИНДРОВ

1Артикул: 6655152, HOOK Engine
2Артикул: 6655160, PLUG
3Артикул: 1CM816, BOLT Was 4CM816 - A
Подробнее >
ТАБЛИЧКА РЕГУЛЯТОРА СКОРОСТИ

ТАБЛИЧКА РЕГУЛЯТОРА СКОРОСТИ

1Артикул: 3974970, BOLT Adjusting
2Артикул: 3974971, NUT
3Артикул: 3974972, GASKET
Подробнее >
ПЛЕЧО КОРОМЫСЛА КЛАПАНА

ПЛЕЧО КОРОМЫСЛА КЛАПАНА

1Артикул: 6655173, VALVE Inlet
2Артикул: 6655174, VALVE Exhaust
3Артикул: 3974514, SPRING 5 Valve
Подробнее >
ВОДЯНОЙ ФЛАНЕЦ И ТЕРМОСТАТ

ВОДЯНОЙ ФЛАНЕЦ И ТЕРМОСТАТ

1Артикул: 6655880, PIPE Water return
2Артикул: 3974988, PIPE Water return
3Артикул: 3974679, BAND Pipe
Подробнее >
РАСПРЕДВАЛ

РАСПРЕДВАЛ

1Артикул: 7015269, TAPPET Was 6667428 - A
2Артикул: 6655176, PUSHROD
3Артикул: 6655427, CAMSHAFT assy. - Ref. 4-8
Подробнее >
ВОЗДУХООЧИСТИТЕЛЬ (СЕРИЙНЫЙ НОМЕР 512915200 И ВЫШЕ, 516711001 И ВЫШЕ, 517711001 И ВЫШЕ)

ВОЗДУХООЧИСТИТЕЛЬ (СЕРИЙНЫЙ НОМЕР 512915200 И ВЫШЕ, 516711001 И ВЫШЕ, 517711001 И ВЫШЕ)

1Артикул: 6672045, AIR CLEANER W/Ref. 2-6
2Артикул: TANK, TANK NLA
3Артикул: 6666333, FILTER, AIR OUTER
Подробнее >
РЕГУЛЯТОР ОБОРОТОВ

РЕГУЛЯТОР ОБОРОТОВ

1Артикул: 6598174, LEVER Governor
2Артикул: 6655227, SPRING
3Артикул: 6655876, LEVER Fork - W/Ref. 4 - 7
Подробнее >
ВОДЯНАЯ ПОМПА

ВОДЯНАЯ ПОМПА

1Артикул: 6684225, WATER PUMP Ref. 2 - 6 - Was 6653941 - A
2Артикул: BODY, BODY NLA
3Артикул: 3974991, BEARING
Подробнее >
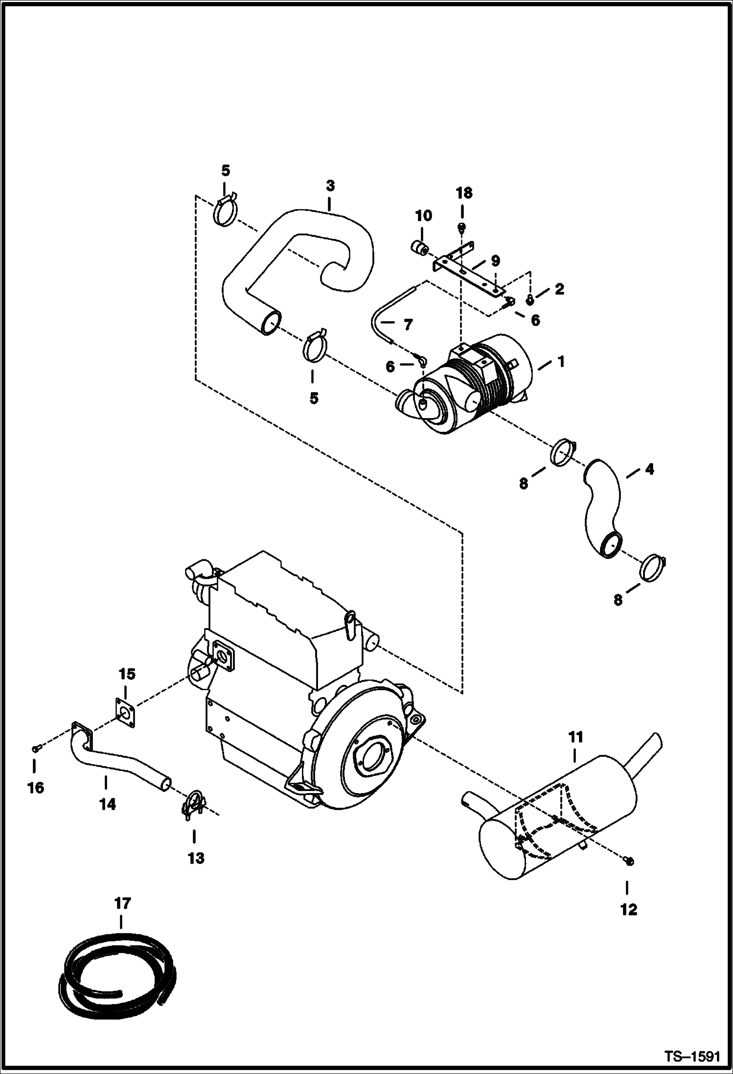
ВОЗДУХООЧИСТИТЕЛЬ И КРОНШТЕЙН ГЛУШИТЕЛЯ (СЕРИЙНЫЙ НОМЕР 512913001 - 512915199)

ВОЗДУХООЧИСТИТЕЛЬ И КРОНШТЕЙН ГЛУШИТЕЛЯ (СЕРИЙНЫЙ НОМЕР 512913001 - 512915199)

1Артикул: 6668759, AIR CLEANER See Illustration AIR CLEANER/ PE2909 Assy.
2Артикул: 26GM10020, BOLT
3Артикул: 6628380, HOSE
Подробнее >
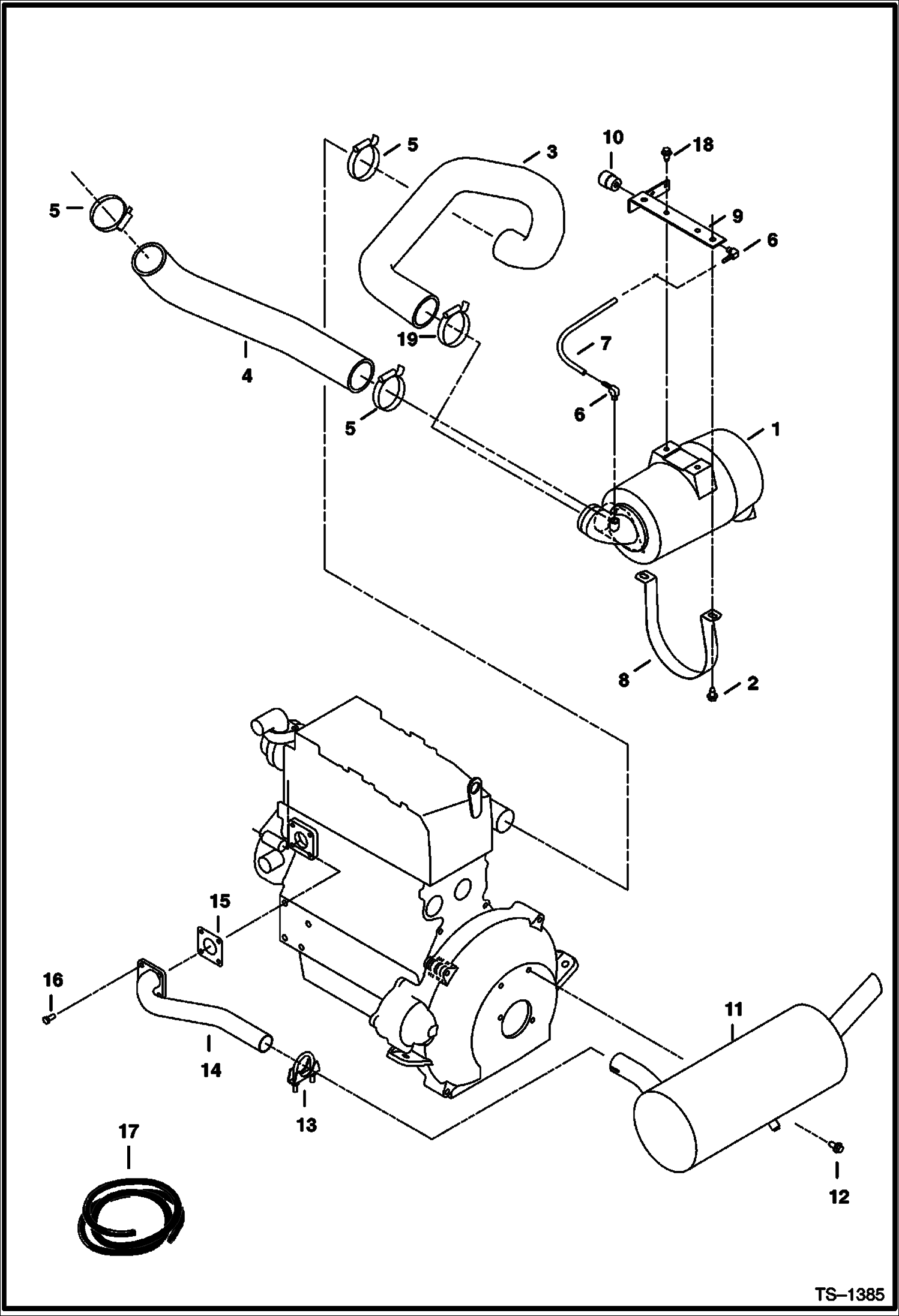
ВОЗДУХООЧИСТИТЕЛЬ И КРОНШТЕЙН ГЛУШИТЕЛЯ (СЕРИЙНЫЙ НОМЕР 512915200 И ВЫШЕ, 516711001 И ВЫШЕ, 517711001 И ВЫШЕ)

ВОЗДУХООЧИСТИТЕЛЬ И КРОНШТЕЙН ГЛУШИТЕЛЯ (СЕРИЙНЫЙ НОМЕР 512915200 И ВЫШЕ, 516711001 И ВЫШЕ, 517711001 И ВЫШЕ)

1Артикул: 6672045, AIR CLEANER See Illustration AIR CLEANER/ PE2908 Assy.
2Артикул: 26GM10020, BOLT
3Артикул: 6628380, HOSE
Подробнее >
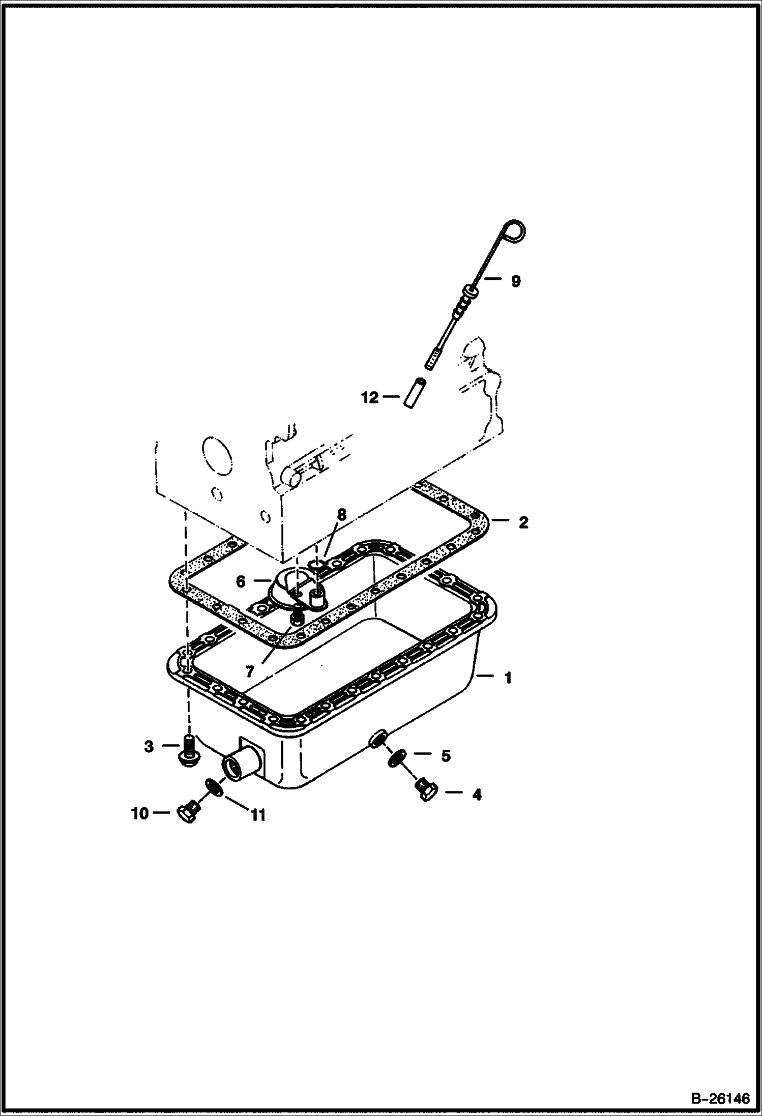
МАСЛЯНЫЙ ПОДДОН

МАСЛЯНЫЙ ПОДДОН

1Артикул: 6655151, PAN, OIL
2Артикул: 6666817, GASKET Oil pan
3Артикул: 6653798, BOLT
Подробнее >
ФОРСУНКИ

ФОРСУНКИ

1Артикул: HOLDER, HOLDER KIT See Illustration INJECTOR HOLDER/ B13154 - nozzle - W/Ref. 2 & 16 - Was 6722147
2Артикул: 6655218, GASKET
3Артикул: 6655219, PIPE Injection - 1
Подробнее >
КОЛЛЕКТОР

КОЛЛЕКТОР

1Артикул: 6651482, MANIFOLD, EXHAUST Exhaust
2Артикул: GASKET, GASKET NLA - Order Ref. 10 & 11
3Артикул: 6652670, STUD
Подробнее >
МОНТАЖ ДВИГАТЕЛЯ, МАХОВИК И СТАРТЕР (СЕРИЙНЫЙ НОМЕР 512913001 - 512915199)

МОНТАЖ ДВИГАТЕЛЯ, МАХОВИК И СТАРТЕР (СЕРИЙНЫЙ НОМЕР 512913001 - 512915199)

1Артикул: ENGINE, ENGINE See Illustration ENGINE & GASKET KITS/ B16450 See BTIE-060 NLA - Was 6653482 - A
2Артикул: 6589110, MOUNT
3Артикул: 6589107, MOUNT
Подробнее >
КРЫШКА КОРОМЫСЛА КЛАПАНА

КРЫШКА КОРОМЫСЛА КЛАПАНА

1Артикул: 3974924, PLATE Element
2Артикул: 3974925, PLATE Element
3Артикул: 3974926, BREATHER Breather
Подробнее >
ПОРШНИ И КОЛЕНВАЛ

ПОРШНИ И КОЛЕНВАЛ

1Артикул: PISTON, PISTON NLA - Std. - Order 6689595 piston and 2 of 6686997 cir-clip - Was 6655177. - A
2Артикул: PISTON, PISTON NLA - (0,5 mm - .0197) - Order 6689744 piston and 2 of 6686997 cir-clip - Was 6657695 - A
3Артикул: 6678075, RINGS Piston - Std. - Was 6655178 - A
Подробнее >
УСТАНОВКА ГЕНЕРАТОРА ПЕРЕМЕННОГО ТОКА И ШЛАНГИ РАДИАТОРА

УСТАНОВКА ГЕНЕРАТОРА ПЕРЕМЕННОГО ТОКА И ШЛАНГИ РАДИАТОРА

1Артикул: ALTERNATOR, ALTERNATOR See Illustration L.H. JOYSTICK CONTROLS/ B14600 - Was 6661611 - B
2Артикул: 6803397, BRACKET
3Артикул: 6596745, RETAINER
Подробнее >
ТОПЛИВНАЯ СИСТЕМА И НАСОС ВПРЫСКА

ТОПЛИВНАЯ СИСТЕМА И НАСОС ВПРЫСКА

1Артикул: 6655199, PUMP
2Артикул: PUMP, PUMP
3Артикул: 3974626, SHIM 0,20 mm - injection pump
Подробнее >
КАРТЕР ДВИГАТЕЛЯ

КАРТЕР ДВИГАТЕЛЯ

1Артикул: CRANKCASE, CRANKCASE NLA - assy - W/Ref. 2-15 - Order (1) each of 6689503, 6685483, 6685484, 6685486, 6655166, 6655184, 6685485, 6693412 and (2) each of 6685488 & 6685489, (4) of 6685487 - Was 6655149 - A
2Артикул: 3974871, CONNECTOR
3Артикул: 6652574, PLUG
Подробнее >
ВОЗДУХООЧИСТИТЕЛЬ (СЕРИЙНЫЙ НОМЕР 512913001 - 512915199)

ВОЗДУХООЧИСТИТЕЛЬ (СЕРИЙНЫЙ НОМЕР 512913001 - 512915199)

1Артикул: 6668759, AIR CLEANER W/Ref. 2-6
2Артикул: TANK, TANK NLA
3Артикул: 6666333, FILTER, AIR OUTER
Подробнее >
МОНТАЖ ДВИГАТЕЛЯ, МАХОВИК И СТАРТЕР (СЕРИЙНЫЙ НОМЕР 512915200 И ВЫШЕ, 516711001 И ВЫШЕ, 517711001 И ВЫШЕ)

МОНТАЖ ДВИГАТЕЛЯ, МАХОВИК И СТАРТЕР (СЕРИЙНЫЙ НОМЕР 512915200 И ВЫШЕ, 516711001 И ВЫШЕ, 517711001 И ВЫШЕ)

1Артикул: ENGINE, ENGINE See Illustration ENGINE & GASKET KITS/ B16450 NLA - Was 6704441 - A
2Артикул: 6589110, MOUNT
3Артикул: 6589107, MOUNT
Подробнее >
РЕДУКТОР

РЕДУКТОР

1Артикул: CASE, CASE ASSY. NLA - W/Ref. 3-7 & 29 - Order 6688640 & Ref. 4-7 & 29 - Was 6655479 - A
2Артикул: 6688640, HOUSING GEAR W/Ref. 3
3Артикул: 6675517, FILTER, OIL ENG 12 oil filter - 12 Pack - Was 3974896 - A
Подробнее >