+7 (701) 588 50 05 Телефон для связи
RU

WhatsApp

Позвонить

БЛОК ЦИЛИНДРОВ — Продажа в Казахстане Цены от официального дилера с доставкой в Алматы, Астану и регионы

Техника доступна в:
Полный спектр услуг:
Для Вашего удобства:
Характеристики и описание
Габариты, схема
Техническая документация
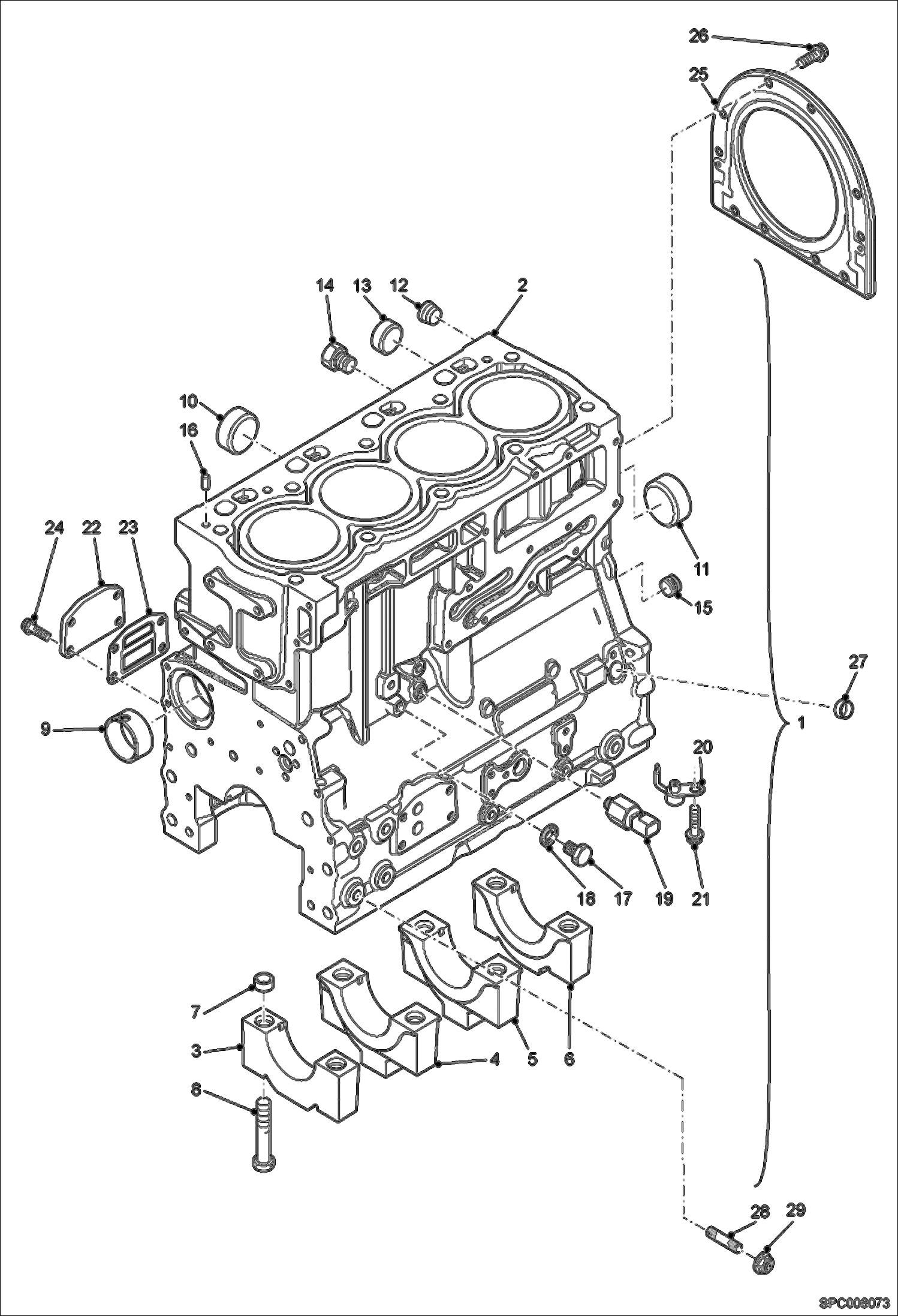
1 Артикул: 6924941, SHORT ENGINE - ASSEMBLY W/Ref. 2-24
2 Артикул: CYLINDER, CYLINDER BLOCK NAP - Order Ref. 1
3 Артикул: CAP,, CAP, BEARING NAP - Order Ref. 1
4 Артикул: CAP,, CAP, BEARING NAP - Order Ref. 1
5 Артикул: CAP,, CAP, BEARING NAP - Order Ref. 1
6 Артикул: CAP,, CAP, BEARING NAP - Order Ref. 1
7 Артикул: 64627.3, Bush
8 Артикул: 6513096, BOLT Was 64628.1 - A
9 Артикул: 7023999, BUSHING CAMSHAFT Was 7017216 - A
10 Артикул: 6911936, PLUG Was 7017217 - A
11 Артикул: 6911937, PLUG Was 7017218 - A
12 Артикул: 7017219, PLUG Was 6911858 - A
13 Артикул: 7017220, PLUG Was 6911859 - A
14 Артикул: 7017221, PLUG Was 6911932 - A
15 Артикул: 6911928, PLUG Was 7017222 - A
16 Артикул: 93379.6, Dowel Was 7017137 - B
17 Артикул: 6668565, SCREW Was 7017271 - A
18 Артикул: 6924949, WASHER Was 7017223 - A
19 Артикул: 7013137, SWITCH, OIL PRESSURE Was 6924913 - A
20 Артикул: 6924924, PISTON COOLING JET Was 7017224 - A
21 Артикул: 71564.9, Screw Was 71564.9 - A
22 Артикул: 6911964, BLANKING PLATE
23 Артикул: 6911983, SEAL
24 Артикул: 6668495, SCREW Was 7022456 - A
25 Артикул: 7017227, SEAL - OIL HOUSING Was 6911887 - A
26 Артикул: 6912051, METRIC BOLT Was 6912051 - A
27 Артикул: 6911893, CORE PLUG
28 Артикул: 7017256, STUD Was 64988.9 - A
29 Артикул: 7017257, NUT Was 6924910 - A

БЛОК ЦИЛИНДРОВ: Техника, которая работает на результат

БЛОК ЦИЛИНДРОВ на телескопический погрузчик Bobcat T35120L A8GJ11001 И ВЫШЕ, A8GV11001 И ВЫШЕ

Габаритные размеры

Габаритные размеры и схема БЛОК ЦИЛИНДРОВ

Нажмите на схему для увеличения

Документация

Документация временно недоступна.

Похожая техника в категории: ЗАПЧАСТИ ДВИГАТЕЛЯ (Bobcat)

Спецтехника ФИЛЬТР ПРЕДВАРИТЕЛЬНОЙ ОЧИСТКИ ТОПЛИВА

ФИЛЬТР ПРЕДВАРИТЕЛЬНОЙ ОЧИСТКИ ТОПЛИВА

1Артикул: 1CM820...
2Артикул: 4CM103...
3Артикул: 01697....
Подробнее >
Спецтехника УСТАНОВКА СИСТЕМЫ ОХЛАЖДЕНИЯ (СЕРИЙНЫЙ НОМЕР A8GV11001 - A8GV12111, A8GJ11001 - A8GJ12029)

УСТАНОВКА СИСТЕМЫ ОХЛАЖДЕНИЯ (СЕРИЙНЫЙ НОМЕР A8GV11001 - A8GV12111, A8GJ11001 - A8GJ12029)

1Артикул: 000350...
2Артикул: 662428...
3Артикул: 01590....
Подробнее >
Спецтехника УСТАНОВКА СИСТЕМЫ ОХЛАЖДЕНИЯ (СЕРИЙНЫЙ НОМЕР A8GV15064 И ВЫШЕ, A8GJ15147 И ВЫШЕ)

УСТАНОВКА СИСТЕМЫ ОХЛАЖДЕНИЯ (СЕРИЙНЫЙ НОМЕР A8GV15064 И ВЫШЕ, A8GJ15147 И ВЫШЕ)

1Артикул: 000350...
2Артикул: 662428...
3Артикул: 01590....
Подробнее >
Спецтехника РАДИАТОР

РАДИАТОР

1Артикул: 693394...
2Артикул: 700812...
3Артикул: 700812...
Подробнее >
Спецтехника ВОДЯНАЯ ПОМПА И ТЕРМОСТАТ

ВОДЯНАЯ ПОМПА И ТЕРМОСТАТ

1Артикул: 701233...
2Артикул: PUMP,,...
3Артикул: COVER,...
Подробнее >
Спецтехника БЛОК ПРОКЛАДОК ДВИГАТЕЛЯ

БЛОК ПРОКЛАДОК ДВИГАТЕЛЯ

1Артикул: 691202...
2Артикул: 691201...
3-
Подробнее >
Спецтехника СИСТЕМА ВЫПУСКА

СИСТЕМА ВЫПУСКА

1Артикул: 1CM102...
2Артикул: 4CM103...
3Артикул: 1EM100...
Подробнее >
Спецтехника КРЫШКА ГОЛОВКИ ЦИЛИНДРА

КРЫШКА ГОЛОВКИ ЦИЛИНДРА

1Артикул: 691201...
2Артикул: COVER,...
3Артикул: 691196...
Подробнее >
Спецтехника ГЕНЕРАТОР

ГЕНЕРАТОР

1Артикул: 691137...
2Артикул: 727042...
3Артикул: 57506....
Подробнее >
Спецтехника ПОДАЧА ТОПЛИВА

ПОДАЧА ТОПЛИВА

1Артикул: 691215...
2Артикул: PUMP,,...
3Артикул: 691190...
Подробнее >
Спецтехника УСТАНОВКА ГОЛОВКИ ЦИЛИНДРА

УСТАНОВКА ГОЛОВКИ ЦИЛИНДРА

1Артикул: 701058...
2Артикул: 691196...
3Артикул: 691193...
Подробнее >
Спецтехника УСТАНОВКА СИСТЕМЫ ОХЛАЖДЕНИЯ (СЕРИЙНЫЙ НОМЕР A8GV12112 - A8GV15063, A8GJ12030 - A8GJ15146)

УСТАНОВКА СИСТЕМЫ ОХЛАЖДЕНИЯ (СЕРИЙНЫЙ НОМЕР A8GV12112 - A8GV15063, A8GJ12030 - A8GJ15146)

1Артикул: 000350...
2Артикул: 662428...
3Артикул: 01590....
Подробнее >