+7 (701) 588 50 05 Телефон для связи
RU

WhatsApp

Позвонить

КАМЕРА ОХЛАЖДЕНИЯ В СБОРЕ — Продажа в Казахстане Цены от официального дилера с доставкой в Алматы, Астану и регионы

Техника доступна в:
Полный спектр услуг:
Для Вашего удобства:
Характеристики и описание
Габариты, схема
Техническая документация
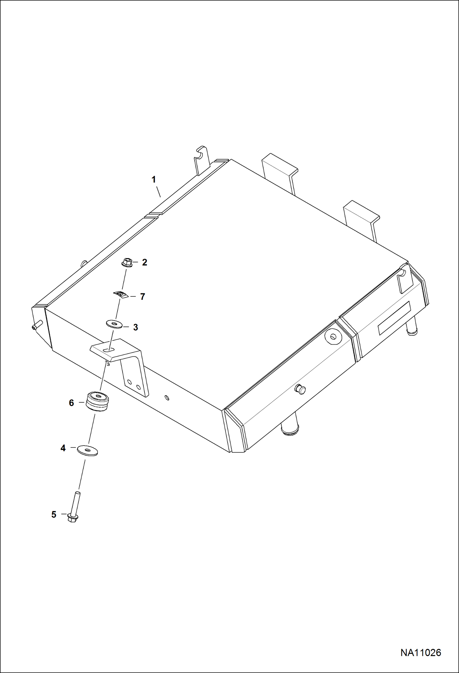
1 Артикул: 7274980, EXCHANGER, OIL WATER
2 Артикул: 83D6, NUT 5
3 Артикул: 6737388, WASHER
4 Артикул: 7241790, WASHER
5 Артикул: 35C632, BOLT
6 Артикул: 7237725, MOUNT, ISOLATOR
7 Артикул: 6684033, NUT

КАМЕРА ОХЛАЖДЕНИЯ В СБОРЕ: Техника, которая работает на результат

РАДИАТОР/КАМЕРА ОХЛАЖДЕНИЯ В СБОРЕ на мини-погрузчик Bobcat S550 A3NM11001 И ВЫШЕ, AZN911001 И ВЫШЕ

Габаритные размеры

Габаритные размеры и схема КАМЕРА ОХЛАЖДЕНИЯ В СБОРЕ

Нажмите на схему для увеличения

Документация

Документация временно недоступна.

Похожая техника в категории: РАДИАТОР (Bobcat)