МОСТ — Продажа в Казахстане Цены от официального дилера с доставкой в Алматы, Астану и регионы
×
❮
❯
Характеристики и описание
Габариты, схема
Техническая документация
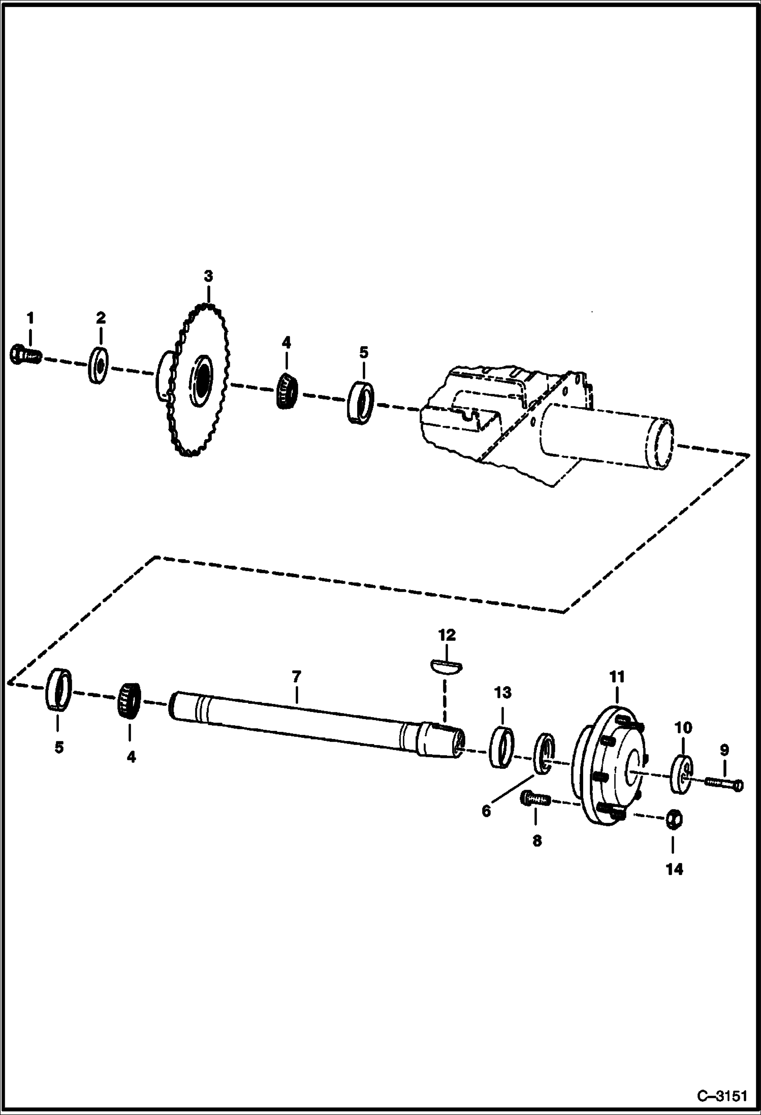
| 1 | Артикул: 2C1626, BOLT |
| 2 | Артикул: 6558694, WASHER |
| 3 | Артикул: 6568918, SPROCKET, AXLE |
| 4 | Артикул: 1321608, BEARING, CONE |
| 5 | Артикул: 1321607, CUP, BEARING |
| 6 | Артикул: 6658229, SEAL, OIL 3.22-- I.D. - Before ordering seal, Ref. 6, determine if axle, Ref. 7, uses wear ring. W/wear ring Order 6658229, W/O wear ring Order 6671138 |
| 7 | Артикул: 6671138, SEAL, OIL 3.097-- I.D. - Before ordering seal, Ref. 6, determine if axle, Ref. 7, uses wear ring. W/wear ring Order 6658229, W/O wear ring Order Ref. 6671138 |
| 8 | Артикул: 6709757, SHAFT, AXLE W/O wear ring |
| 9 | Артикул: 6709170, BOLT, WHEEL |
| 10 | Артикул: 17C1024, BOLT |
| 11 | Артикул: 6565947, WASHER recessed |
| 12 | Артикул: 6578857, HUB, WHEEL W/Ref. 8 |
| 13 | Артикул: 6J1664, KEY |
| 14 | Артикул: 6558693, WEAR RING wear |
| 15 | Артикул: 6564669, NUT, 10 wheel |
МОСТ: Техника, которая работает на результат
МОСТ на Bobcat 800s Bobcat 863 514440001 И ВЫШЕ, 514540001 И ВЫШЕ, 514640001 И ВЫШЕГабаритные размеры
Нажмите на схему для увеличения
Документация
Документация временно недоступна.
Похожая техника в категории: ТРАНСМИССИЯ (Bobcat)
ДИСКОВЫЙ ТОРМОЗ (СЕРИЙНЫЙ НОМЕР 514446001, 514541001, 514641001 И ВЫШЕ)
1Артикул: 17C412...
2Артикул: 668151...
3Артикул: 84G371...
Подробнее >
ДИСКОВЫЙ ТОРМОЗ (СЕРИЙНЫЙ НОМЕР 514445999, 514540999, 514640999 И НИЖЕ)
1Артикул: 17C412...
2Артикул: 668151...
3Артикул: 84G371...
Подробнее >
АВТОТРАНСПОРТЕР (УСТАНОВКА ПРИВОДНОГО ДВИГАТЕЛЯ В СБОРЕ)
1Артикул: 671729...
2Артикул: 729392...
3Артикул: 666484...
Подробнее >