+7 (701) 588 50 05 Телефон для связи
RU

WhatsApp

Позвонить

НАТЯЖИТЕЛЬ ГУСЕНИЦЫ (БЕЗ СМЕННОГО ВАЛА) — Продажа в Казахстане Цены от официального дилера с доставкой в Алматы, Астану и регионы

Техника доступна в:
Полный спектр услуг:
Для Вашего удобства:
Характеристики и описание
Габариты, схема
Техническая документация
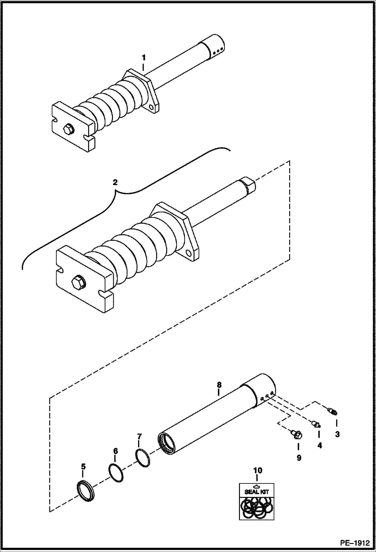
1 Артикул: CYLINDER, CYLINDER See Illustration TRACK TENSIONER/ PE3894 - NLA - Ref. 2-9 - Order 7181322 - for rubber tracks only - Was 7101491 - A
2 Артикул: CYLINDER, CYLINDER See Illustration TRACK TENSIONER/ PE3894 - NLA - Ref. 2-9 - Order 7181322 cylinder and 7164410 spacer - for steel tracks only - Was 7101556 - A
3 Артикул: SPRING, SPRING NSS - Assy. - Order Ref. 1 - Was 6804143 - A
4 Артикул: 6645812, SCREW, BLEED bleeder
5 Артикул: 6655752, FITTING 68,900 kpa (10,000 psi) - DO NOT SUBSTITUTE
6 Артикул: 6686968, SEAL, WIPER ROD Was 6684410 - A
7 Артикул: 6685154, RING, BACK-UP back-up - Was 6672342 - A
8 Артикул: 6672338, O-RING Was 6685153 - A
9 Артикул: 6816242, CYLINDER
10 Артикул: 26GM10020, BOLT
11 Артикул: 7102860, SEAL KIT Ref. 3-5

НАТЯЖИТЕЛЬ ГУСЕНИЦЫ (БЕЗ СМЕННОГО ВАЛА): Техника, которая работает на результат

НАТЯЖИТЕЛЬ ГУСЕНИЦЫ (БЕЗ СМЕННОГО ВАЛА) на мини-экскаватор Bobcat 337 233211001 И ВЫШЕ, 233311001 И ВЫШЕ, 234911001 И ВЫШЕ

Габаритные размеры

Габаритные размеры и схема НАТЯЖИТЕЛЬ ГУСЕНИЦЫ (БЕЗ СМЕННОГО ВАЛА)

Нажмите на схему для увеличения

Документация

Документация временно недоступна.

Похожая техника в категории: НАДСТРОЙКА (Bobcat)