+7 (701) 588 50 05 Телефон для связи
RU

WhatsApp

Позвонить

ОРГАНЫ УПРАВЛЕНИЯ — Продажа в Казахстане Цены от официального дилера с доставкой в Алматы, Астану и регионы

Техника доступна в:
Полный спектр услуг:
Для Вашего удобства:
Характеристики и описание
Габариты, схема
Техническая документация
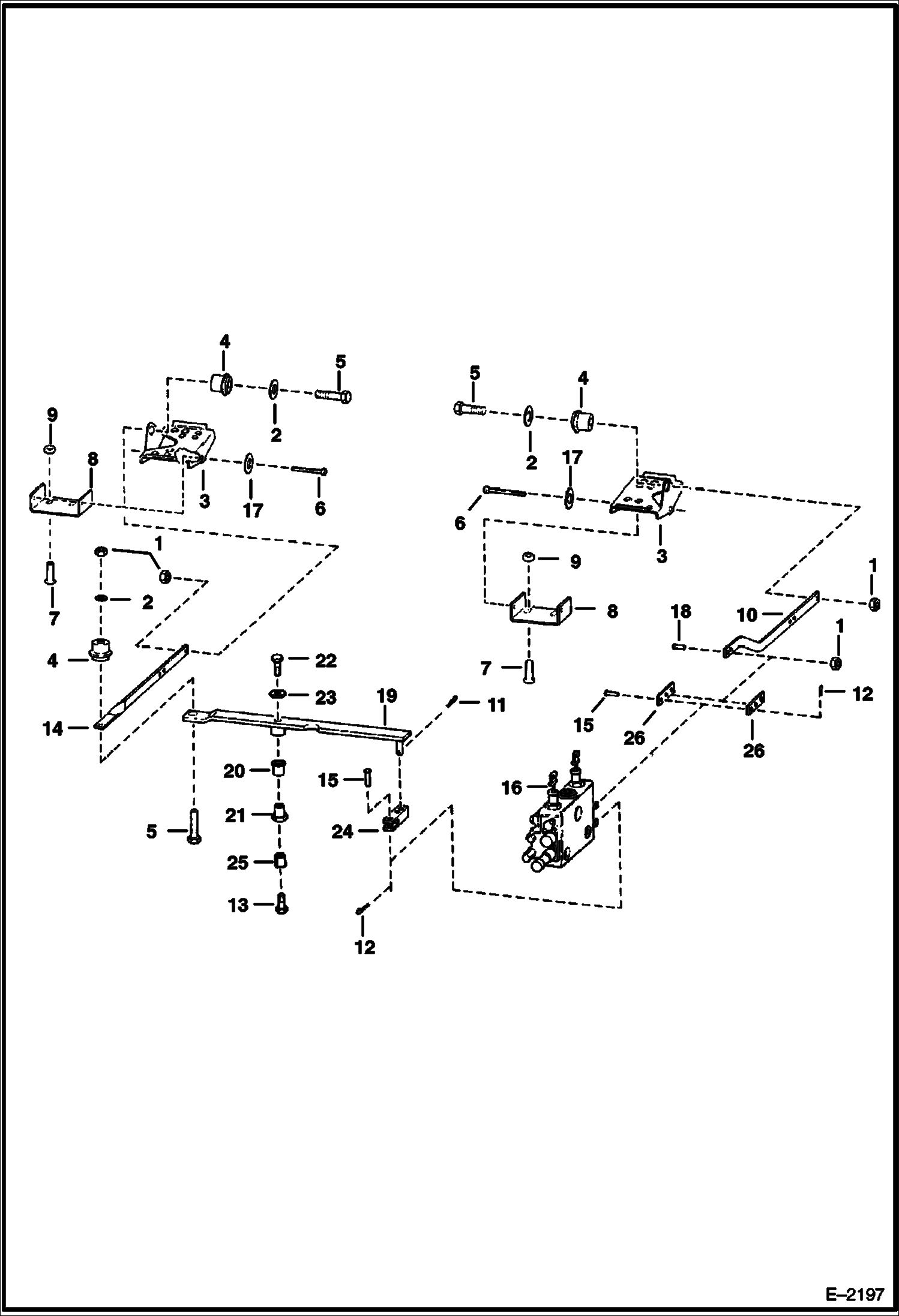
1 Артикул: 95D6, NUT Was 91D-6 - A
2 Артикул: 6563914, WASHER
3 Артикул: 7115219, PEDAL Was 6726680 - A
4 Артикул: 6665701, BUSHING, PRESS FIT
5 Артикул: 17C624, BOLT 5
6 Артикул: 6564657, PIN
7 Артикул: 7C620, BOLT Was 6704349 - B
8 Артикул: 6726679, MOUNT Was 6564658 - A
9 Артикул: 57D6, NUT 5
10 Артикул: 6577813, BAR
11 Артикул: 1306637, CLIP
12 Артикул: 6513495, COTTER PIN
13 Артикул: 35C612, BOLT Was 31C000612B - A
14 Артикул: 6576302, BAR
15 Артикул: 6564654, PIN
16 Артикул: VALVE, VALVE See Illustration HYDRAULIC CONTROL VALVE/ B20046
17 Артикул: 25E21, WASHER 5 Use if serrations on pins are too long
18 Артикул: 6704349, BOLT
19 Артикул: 6706103, LEVER
20 Артикул: 6512026, BUSHING
21 Артикул: 6706104, RETAINING NUT
22 Артикул: 17C612, BOLT 5
23 Артикул: 619021, WASHER, 5
24 Артикул: 6706105, YOKE
25 Артикул: 6544654, BUSHING space
26 Артикул: 6708009, LINK Was 6706680 - A

ОРГАНЫ УПРАВЛЕНИЯ: Техника, которая работает на результат

ОРГАНЫ УПРАВЛЕНИЯ на Bobcat 600s Bobcat 653 514811001 И ВЫШЕ

Габаритные размеры

Габаритные размеры и схема ОРГАНЫ УПРАВЛЕНИЯ

Нажмите на схему для увеличения

Документация

Документация временно недоступна.

Похожая техника в категории: ГИДРАВЛИЧЕСКАЯ СИСТЕМА (Bobcat)

Спецтехника СХЕМА ГИДРАВЛИЧЕСКОЙ СИСТЕМЫ (С КЛАПАНОМ РЕГУЛИРОВКИ ПОЛОЖЕНИЯ КОВША) (СЕРИЙНЫЙ НОМЕР 5148 11115 И НИЖЕ)

СХЕМА ГИДРАВЛИЧЕСКОЙ СИСТЕМЫ (С КЛАПАНОМ РЕГУЛИРОВКИ ПОЛОЖЕНИЯ КОВША) (СЕРИЙНЫЙ НОМЕР 5148 11115 И НИЖЕ)

1Артикул: CYLIND...
2Артикул: 657766...
3Артикул: 672784...
Подробнее >
Спецтехника ЦИЛИНДР ПОДЪЕМА

ЦИЛИНДР ПОДЪЕМА

1Артикул: 714283...
2Артикул: 714283...
3Артикул: 667719...
Подробнее >
Спецтехника РЕГУЛИРУЮЩИЙ КЛАПАН СИСТЕМЫ БЛОКИРОВКИ УПРАВЛЕНИЯ (BICS) (СЕРИЙНЫЙ НОМЕР 514811116 И ВЫШЕ)

РЕГУЛИРУЮЩИЙ КЛАПАН СИСТЕМЫ БЛОКИРОВКИ УПРАВЛЕНИЯ (BICS) (СЕРИЙНЫЙ НОМЕР 514811116 И ВЫШЕ)

1Артикул: VALVE,...
2Артикул: 729707...
3Артикул: 668973...
Подробнее >
Спецтехника ПОДЪЕМНОЕ УСТРОЙСТВО И СИСТЕМА УПРАВЛЕНИЯ КОВШОМ (СЕРИЙНЫЙ НОМЕР 5148 11115 И НИЖЕ)

ПОДЪЕМНОЕ УСТРОЙСТВО И СИСТЕМА УПРАВЛЕНИЯ КОВШОМ (СЕРИЙНЫЙ НОМЕР 5148 11115 И НИЖЕ)

1Артикул: KNOB, ...
2Артикул: 673752...
3Артикул: 7D4, N...
Подробнее >
Спецтехника ЦИЛИНДРА НАКЛОНА (С ОТВЕРСТИЕМ ДЛЯ МАСЛЕНКИ ДЛЯ СМАЗКИ ГОЛОВКИ ШАТУНА)

ЦИЛИНДРА НАКЛОНА (С ОТВЕРСТИЕМ ДЛЯ МАСЛЕНКИ ДЛЯ СМАЗКИ ГОЛОВКИ ШАТУНА)

1Артикул: 680469...
2Артикул: 680470...
3Артикул: 680469...
Подробнее >
Спецтехника ВСПОМОГАТЕЛЬНЫЕ ГИДРАВЛИЧЕСКИЕ МЕХАНИЗМЫ (СЕРИЙНЫЙ НОМЕР 5148 11081 И ВЫШЕ)

ВСПОМОГАТЕЛЬНЫЕ ГИДРАВЛИЧЕСКИЕ МЕХАНИЗМЫ (СЕРИЙНЫЙ НОМЕР 5148 11081 И ВЫШЕ)

1Артикул: 672915...
2Артикул: 671173...
3Артикул: 671173...
Подробнее >
Спецтехника ЦИЛИНДРА НАКЛОНА (БЕЗ ОТВЕРСТИЯ ДЛЯ МАСЛЕНКИ ДЛЯ СМАЗКИ ГОЛОВКИ ШАТУНА)

ЦИЛИНДРА НАКЛОНА (БЕЗ ОТВЕРСТИЯ ДЛЯ МАСЛЕНКИ ДЛЯ СМАЗКИ ГОЛОВКИ ШАТУНА)

1Артикул: CYLIND...
2Артикул: CASE, ...
3Артикул: 658690...
Подробнее >
Спецтехника ГИДРАВЛИЧЕСКИЙ РЕГУЛИРУЮЩИЙ КЛАПАН (С КЛАПАНОМ СИСТЕМЫ БЛОКИРОВКИ УПРАВЛЕНИЯ (BICS)) (РЕЗЕРВНЫЙ КЛАПАН)

ГИДРАВЛИЧЕСКИЙ РЕГУЛИРУЮЩИЙ КЛАПАН (С КЛАПАНОМ СИСТЕМЫ БЛОКИРОВКИ УПРАВЛЕНИЯ (BICS)) (РЕЗЕРВНЫЙ КЛАПАН)

1Артикул: VALVE,...
2Артикул: VALVE,...
3Артикул: 658956...
Подробнее >
Спецтехника РУКОВОДСТВО ПО ЭКСПЛУАТАЦИИ КЛАПАНА УСТРОЙСТВА ДЛЯ ОТПУСКАНИЯ (СЕРИЙНЫЙ НОМЕР 514811116 И ВЫШЕ)

РУКОВОДСТВО ПО ЭКСПЛУАТАЦИИ КЛАПАНА УСТРОЙСТВА ДЛЯ ОТПУСКАНИЯ (СЕРИЙНЫЙ НОМЕР 514811116 И ВЫШЕ)

1Артикул: 723049...
2Артикул: BLOCK,...
3Артикул: 666908...
Подробнее >
Спецтехника ПОДЪЕМНОЕ УСТРОЙСТВО И СИСТЕМА УПРАВЛЕНИЯ КОВШОМ (СЕРИЙНЫЙ НОМЕР 5148 11116 И ВЫШЕ)

ПОДЪЕМНОЕ УСТРОЙСТВО И СИСТЕМА УПРАВЛЕНИЯ КОВШОМ (СЕРИЙНЫЙ НОМЕР 5148 11116 И ВЫШЕ)

1Артикул: 15K5, ...
2Артикул: ADAPTE...
3Артикул: 97K6, ...
Подробнее >
Спецтехника ГИДРАВЛИЧЕСКИЙ РЕГУЛИРУЮЩИЙ КЛАПАН (СЕРИЙНЫЙ НОМЕР 514811037 - 11115)

ГИДРАВЛИЧЕСКИЙ РЕГУЛИРУЮЩИЙ КЛАПАН (СЕРИЙНЫЙ НОМЕР 514811037 - 11115)

1Артикул: VALVE,...
2Артикул: 29G412...
3Артикул: 22E4, ...
Подробнее >
Спецтехника ГИДРОЗАМОК ПОДЪЕМА (СЕРИЙНЫЙ НОМЕР 514811115 И НИЖЕ)

ГИДРОЗАМОК ПОДЪЕМА (СЕРИЙНЫЙ НОМЕР 514811115 И НИЖЕ)

1Артикул: 666485...
2Артикул: 666549...
3Артикул: 666560...
Подробнее >