+7 (701) 588 50 05 Телефон для связи
RU

WhatsApp

Позвонить

ПОГРУЗОЧНОЕ ОБОРУДОВАНИЕ — Продажа в Казахстане Цены от официального дилера с доставкой в Алматы, Астану и регионы

Техника доступна в:
Полный спектр услуг:
Для Вашего удобства:
Характеристики и описание
Габариты, схема
Техническая документация
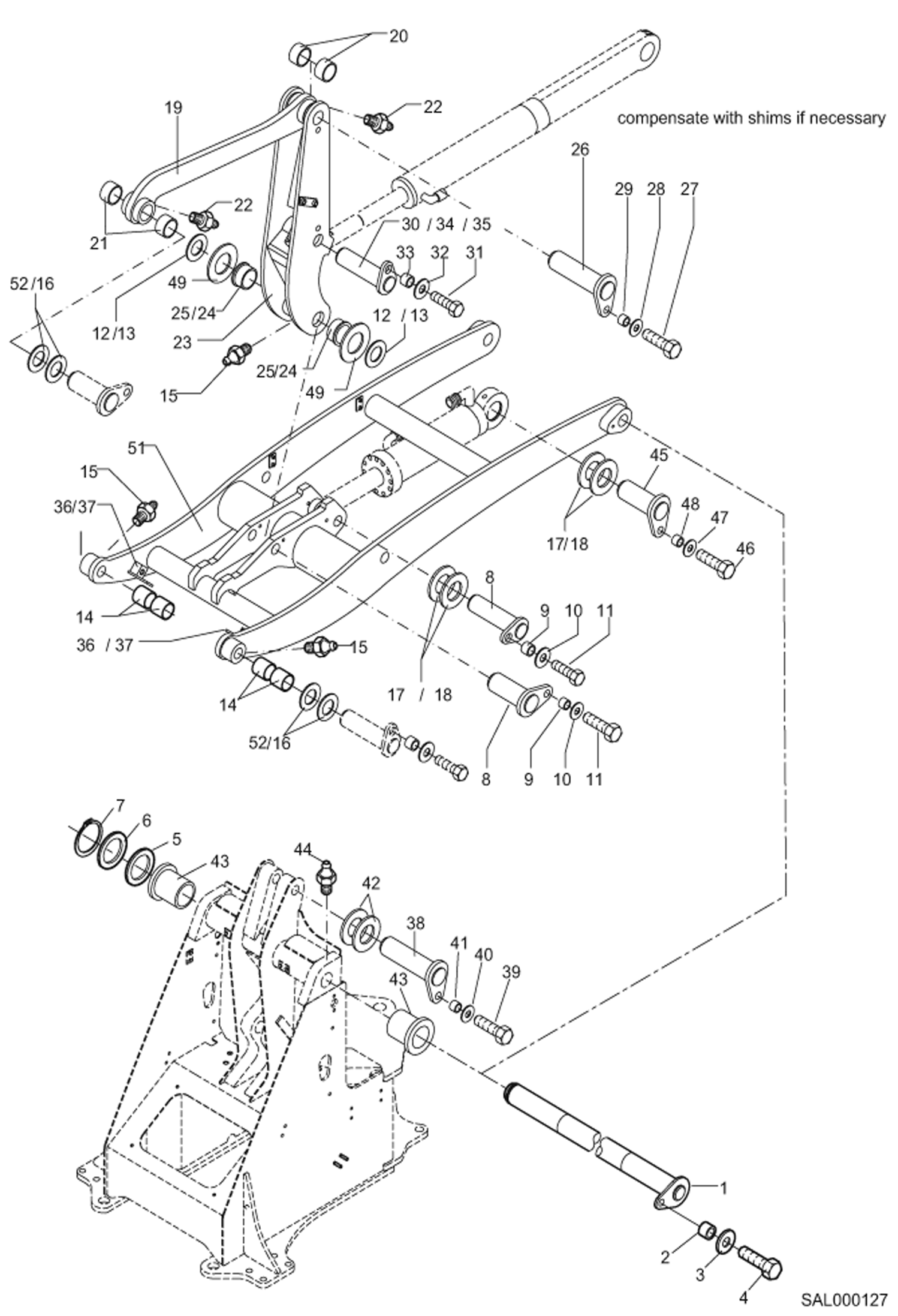
1 Артикул: 6393521004, PIN
2 Артикул: 0156029033, SPACER
3 Артикул: 1343707061, WASHER
4 Артикул: 1008707829, BOLT
5 Артикул: 1309412425, SHIM
6 Артикул: 1309412412, SHIM
7 Артикул: 1455622750, SNAP RING
8 Артикул: 6393521015, PIN
9 Артикул: 0156029033, SPACER
10 Артикул: 1343707061, WASHER
11 Артикул: 1008707829, BOLT
12 Артикул: 0151524043, WASHER
13 Артикул: 0151524044, WASHER
14 Артикул: 5557313800, BUSHING
15 Артикул: 1607003010, GREASE NIPPLE
16 Артикул: 1309412815, SHIM
17 Артикул: 1309412224, SHIM
18 Артикул: 1309412012, SHIM
19 Артикул: 6393524001, LINKAGE
20 Артикул: 5557205202, BUSHING
21 Артикул: 5557200900, BUSHING
22 Артикул: 1607003006, GREASE NIPPLE
23 Артикул: 6462423001, TILTING LEVER
24 Артикул: 5809625681, BUSHING
25 Артикул: 6452021004, BUSHING
26 Артикул: 6393521012, PIN
27 Артикул: 1008707829, BOLT
28 Артикул: 1343707061, WASHER
29 Артикул: 0156029033, SPACER
30 Артикул: 0336002005, PIN CPL.FLAG
31 Артикул: 1008707829, BOLT
32 Артикул: 1343707061, WASHER
33 Артикул: 0333023033, SPACER BUSHING
34 Артикул: 1309412225, SHIM
35 Артикул: 1309412813, SHIM
36 Артикул: 0332806107, DISTRIBUTOR
37 Артикул: 6460520019, PROTECTION
38 Артикул: 0390102006, PIN
39 Артикул: 1008707829, BOLT
40 Артикул: 1343707061, WASHER
41 Артикул: 0333023033, SPACER BUSHING
42 Артикул: 1309412423, SHIM
43 Артикул: 0337002008, BUSHING
44 Артикул: 1607003010, GREASE NIPPLE
45 Артикул: 6332502010, PIN
46 Артикул: 1008707829, BOLT
47 Артикул: 1343707061, WASHER
48 Артикул: 0156029033, SPACER
49 Артикул: 0157624143, SHIM
50 Артикул: 6452020001, LIFTING FRAME
51 Артикул: 1309412926, SHIM

ПОГРУЗОЧНОЕ ОБОРУДОВАНИЕ: Техника, которая работает на результат

ПОГРУЗОЧНОЕ ОБОРУДОВАНИЕ на шарнирно-сочлененный погрузчик Bobcat AL350 A01M11000 И ВЫШЕ

Габаритные размеры

Габаритные размеры и схема ПОГРУЗОЧНОЕ ОБОРУДОВАНИЕ

Нажмите на схему для увеличения

Документация

Документация временно недоступна.

Похожая техника в категории: РАМА (Bobcat)

Спецтехника НАКЛЕЙКИ

НАКЛЕЙКИ

1Артикул: - - -,...
2Артикул: 194000...
3Артикул: 535866...
Подробнее >
Спецтехника ПРАВАЯ ДВЕРЦА КАБИНЫ

ПРАВАЯ ДВЕРЦА КАБИНЫ

1Артикул: 538866...
2Артикул: 538866...
3Артикул: 538866...
Подробнее >
Спецтехника БЛОК РУЛЕВОГО УПРАВЛЕНИЯ С УСИЛЕНИЕМ В СБОРЕ

БЛОК РУЛЕВОГО УПРАВЛЕНИЯ С УСИЛЕНИЕМ В СБОРЕ

1Артикул: 555170...
2Артикул: 555170...
3Артикул: 555170...
Подробнее >
Спецтехника ТОПЛИВНЫЙ БАК

ТОПЛИВНЫЙ БАК

1Артикул: 526701...
2Артикул: 015751...
3Артикул: 543058...
Подробнее >
Спецтехника ИНСТРУМЕНТЫ

ИНСТРУМЕНТЫ

1Артикул: 646143...
2Артикул: 185800...
3Артикул: 185800...
Подробнее >
Спецтехника ОБОРУДОВАНИЕ КАБИНЫ 2

ОБОРУДОВАНИЕ КАБИНЫ 2

1Артикул: 538866...
2Артикул: 538866...
3Артикул: 538866...
Подробнее >
Спецтехника ПЕРЕДНЕЕ ШАССИ

ПЕРЕДНЕЕ ШАССИ

1Артикул: 645200...
2Артикул: 633750...
3Артикул: 194570...
Подробнее >
Спецтехника КРЫШКА ДВИГАТЕЛЯ

КРЫШКА ДВИГАТЕЛЯ

1Артикул: 552902...
2Артикул: 046351...
3Артикул: 106990...
Подробнее >
Спецтехника ЗАДНЕЕ ШАССИ, БРЫЗГОВИК

ЗАДНЕЕ ШАССИ, БРЫЗГОВИК

1Артикул: 645200...
2Артикул: 045400...
3Артикул: 100870...
Подробнее >
Спецтехника МЕХАНИЧЕСКАЯ БЫСТРОУСТАНАВЛИВАЕМАЯ СЦЕПКА

МЕХАНИЧЕСКАЯ БЫСТРОУСТАНАВЛИВАЕМАЯ СЦЕПКА

1Артикул: 646160...
2Артикул: 646160...
3Артикул: 646060...
Подробнее >
Спецтехника КАБИНА-ОБОГРЕВ

КАБИНА-ОБОГРЕВ

1Артикул: 538866...
2Артикул: 538866...
3Артикул: 538866...
Подробнее >
Спецтехника ОБОРУДОВАНИЕ КАБИНЫ 1

ОБОРУДОВАНИЕ КАБИНЫ 1

1Артикул: 538866...
2Артикул: 538866...
3Артикул: 538866...
Подробнее >