+7 (701) 588 50 05 Телефон для связи
RU

WhatsApp

Позвонить

РЕГУЛИРУЮЩИЙ КЛАПАН В СБОРЕ (3 КАТУШКА) (СЕРИЙНЫЙ НОМЕР 511720001 - 511721411) — Продажа в Казахстане Цены от официального дилера с доставкой в Алматы, Астану и регионы

Техника доступна в:
Полный спектр услуг:
Для Вашего удобства:
Характеристики и описание
Габариты, схема
Техническая документация
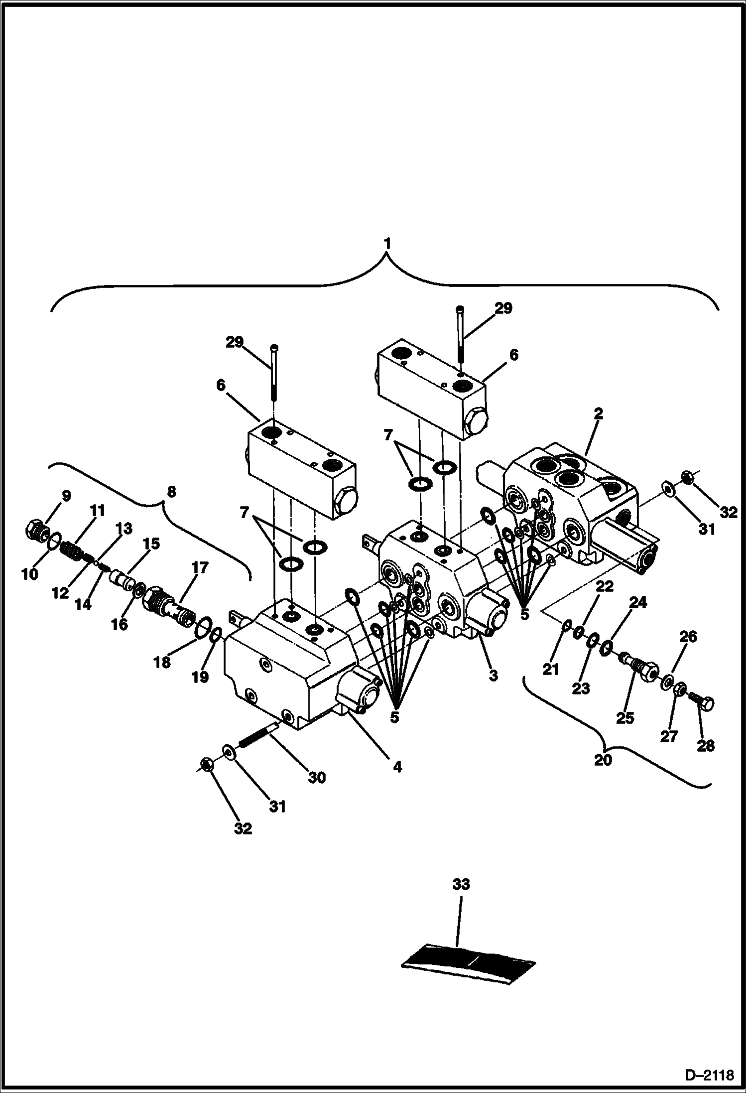
1 Артикул: VALVE, VALVE NLA - Assy. - W/Ref. 2-32 - Was 6661593 - A
2 Артикул: 6662206, VALVE See Illustration INLET VALVE SECTION/ D2103 Swing Motor
3 Артикул: 6662205, VALVE See Illustration VALVE SECTION/ C3278 Blade
4 Артикул: 6658324, VALVE See Illustration OUTLET VALVE SECTION/ C3232 Boom Swing
5 Артикул: 6658319, SEAL KIT Valve Section
6 Артикул: See, See Illustration CHECK VALVE/ D3234 NLA - Was 6658327
7 Артикул: 6658328, O-RING
8 Артикул: VALVE, VALVE NLA - Pressure - W/Ref. 9-19 - Set at 200 PSI - Non-adjustable - Was 6662207 - A
9 Артикул: PLUG, PLUG NSS
10 Артикул: 6656432, O-RING
11 Артикул: SPRING, SPRING NSS
12 Артикул: PLUG, PLUG NSS
13 Артикул: BALL, BALL NSS
14 Артикул: SPRING, SPRING NSS
15 Артикул: PISTON, PISTON NSS
16 Артикул: SNAP, SNAP RING NSS
17 Артикул: HOUSING, HOUSING NSS
18 Артикул: 6656435, O-RING
19 Артикул: 6658340, O-RING
20 Артикул: 6658416, RELIEF VALVE W/Ref. 21-28 - Set at 2300-2400 PSI
21 Артикул: O-RING, O-RING NSS - Included W/Ref. 33
22 Артикул: BACK-UP, BACK-UP RING NSS - Included W/Ref. 33
23 Артикул: O-RING, O-RING NSS - Included W/Ref. 33
24 Артикул: BACK-UP, BACK-UP RING NSS - Included W/Ref. 33
25 Артикул: HOUSING, HOUSING NSS
26 Артикул: WASHER, WASHER NSS
27 Артикул: NUT, NUT NSS
28 Артикул: BOLT, BOLT NSS
29 Артикул: 6658321, BOLT
30 Артикул: 6658318, TIE ROD Includes 3 tie rods
31 Артикул: WASHER, WASHER NLA - Was 6658320 - A
32 Артикул: 6658322, NUT
33 Артикул: 6656281, SEAL KIT Relief Valve - W/Ref. 21-24

РЕГУЛИРУЮЩИЙ КЛАПАН В СБОРЕ (3 КАТУШКА) (СЕРИЙНЫЙ НОМЕР 511720001 - 511721411): Техника, которая работает на результат

РЕГУЛИРУЮЩИЙ КЛАПАН В СБОРЕ (3 КАТУШКА) (СЕРИЙНЫЙ НОМЕР 511720001 - 511721411) на мини-экскаватор Bobcat 320 511720001 И ВЫШЕ

Габаритные размеры

Габаритные размеры и схема РЕГУЛИРУЮЩИЙ КЛАПАН В СБОРЕ (3 КАТУШКА) (СЕРИЙНЫЙ НОМЕР 511720001 - 511721411)

Нажмите на схему для увеличения

Документация

Документация временно недоступна.

Похожая техника в категории: ГИДРАВЛИЧЕСКАЯ СИСТЕМА (Bobcat)

Спецтехника ЦИЛИНДР РУКОЯТИ (СЕРИЙНЫЙ НОМЕР 511721116 И ВЫШЕ)

ЦИЛИНДР РУКОЯТИ (СЕРИЙНЫЙ НОМЕР 511721116 И ВЫШЕ)

1Артикул: 680304...
2Артикул: 680305...
3Артикул: 658946...
Подробнее >
Спецтехника СЕКЦИЯ ВЫХОДНОГО ПАТРУБКА (ПОВОРОТ СТРЕЛЫ) (СЕРИЙНЫЙ НОМЕР 511720001 - 511721411)

СЕКЦИЯ ВЫХОДНОГО ПАТРУБКА (ПОВОРОТ СТРЕЛЫ) (СЕРИЙНЫЙ НОМЕР 511720001 - 511721411)

1Артикул: 665832...
2Артикул: HOUSIN...
3Артикул: SPOOL,...
Подробнее >
Спецтехника ШЕСТЕРЕННЫЙ НАСОС (ВСПОМОГАТЕЛЬНЫЙ)(EATON)

ШЕСТЕРЕННЫЙ НАСОС (ВСПОМОГАТЕЛЬНЫЙ)(EATON)

1Артикул: PUMP,,...
2Артикул: 703025...
3-
Подробнее >
Спецтехника РЕГУЛИРУЮЩИЙ КЛАПАН В СБОРЕ (3 КАТУШКА) (СЕРИЙНЫЙ НОМЕР 511722859 И ВЫШЕ)

РЕГУЛИРУЮЩИЙ КЛАПАН В СБОРЕ (3 КАТУШКА) (СЕРИЙНЫЙ НОМЕР 511722859 И ВЫШЕ)

1Артикул: 666687...
2Артикул: 667168...
3Артикул: 666544...
Подробнее >
Спецтехника РЕГУЛИРУЮЩИЙ КЛАПАН В СБОРЕ (6-КАТУШКА) (СЕРИЙНЫЙ НОМЕР 511720001 - 511721411)

РЕГУЛИРУЮЩИЙ КЛАПАН В СБОРЕ (6-КАТУШКА) (СЕРИЙНЫЙ НОМЕР 511720001 - 511721411)

1Артикул: 666159...
2Артикул: See, S...
3Артикул: 666221...
Подробнее >
Спецтехника СХЕМА ГИДРАВЛИЧЕСКОЙ СИСТЕМЫ (ИЗ НАСОСА В КЛАПАН В КАМЕРУ ОХЛАЖДЕНИЯ В ФИЛЬТР) (СЕРИЙНЫЙ НОМЕР 511725131 И ВЫШЕ)

СХЕМА ГИДРАВЛИЧЕСКОЙ СИСТЕМЫ (ИЗ НАСОСА В КЛАПАН В КАМЕРУ ОХЛАЖДЕНИЯ В ФИЛЬТР) (СЕРИЙНЫЙ НОМЕР 511725131 И ВЫШЕ)

1Артикул: 666500...
2Артикул: 784568...
3Артикул: 79K10,...
Подробнее >
Спецтехника СХЕМА ГИДРАВЛИЧЕСКОЙ СИСТЕМЫ (ДЖОЙСТИК УПРАВЛЕНИЯ) (ISO) (СЕРИЙНЫЙ НОМЕР 511721412 И 511724214)

СХЕМА ГИДРАВЛИЧЕСКОЙ СИСТЕМЫ (ДЖОЙСТИК УПРАВЛЕНИЯ) (ISO) (СЕРИЙНЫЙ НОМЕР 511721412 И 511724214)

1Артикул: 665412...
2Артикул: 665411...
3Артикул: 1CM625...
Подробнее >
Спецтехника ЦИЛИНДР РУКОЯТИ (СЕРИЙНЫЙ НОМЕР 511720001 - 511721115)

ЦИЛИНДР РУКОЯТИ (СЕРИЙНЫЙ НОМЕР 511720001 - 511721115)

1Артикул: 658829...
2Артикул: 658708...
3Артикул: 658672...
Подробнее >
Спецтехника СЕКЦИЯ РАСПРЕДЕЛИТЕЛЯ (ПРАВОСТОРОННИЙ ХОД И ЛЕВОСТОРОННИЙ ХОД) (СЕРИЙНЫЙ НОМЕР 511721412 И ВЫШЕ)

СЕКЦИЯ РАСПРЕДЕЛИТЕЛЯ (ПРАВОСТОРОННИЙ ХОД И ЛЕВОСТОРОННИЙ ХОД) (СЕРИЙНЫЙ НОМЕР 511721412 И ВЫШЕ)

1Артикул: 666545...
2Артикул: 666545...
3Артикул: 93G406...
Подробнее >
Спецтехника СЕКЦИЯ РАСПРЕДЕЛИТЕЛЯ (СТРЕЛА, КОВШ И РУКОЯТЬ) (СЕРИЙНЫЙ НОМЕР 511721412 И ВЫШЕ)

СЕКЦИЯ РАСПРЕДЕЛИТЕЛЯ (СТРЕЛА, КОВШ И РУКОЯТЬ) (СЕРИЙНЫЙ НОМЕР 511721412 И ВЫШЕ)

1Артикул: 666545...
2Артикул: 666545...
3Артикул: 666545...
Подробнее >
Спецтехника СХЕМА ГИДРАВЛИЧЕСКОЙ СИСТЕМЫ (ДЖОЙСТИК УПРАВЛЕНИЯ) (ISO) (СЕРИЙНЫЙ НОМЕР 511720001 - 511721411)

СХЕМА ГИДРАВЛИЧЕСКОЙ СИСТЕМЫ (ДЖОЙСТИК УПРАВЛЕНИЯ) (ISO) (СЕРИЙНЫЙ НОМЕР 511720001 - 511721411)

1Артикул: 665412...
2Артикул: 665411...
3Артикул: 1CM625...
Подробнее >
Спецтехника ПРАВОСТОРОННИЙ ДЖОЙСТИК УПРАВЛЕНИЯ (СЕРИЙНЫЙ НОМЕР 511724215 И ВЫШЕ)

ПРАВОСТОРОННИЙ ДЖОЙСТИК УПРАВЛЕНИЯ (СЕРИЙНЫЙ НОМЕР 511724215 И ВЫШЕ)

1Артикул: 666772...
2Артикул: 666879...
3Артикул: 666880...
Подробнее >