+7 (701) 588 50 05 Телефон для связи
RU

WhatsApp

Позвонить

УСТАНОВКА ЦИЛИНДРА НАКЛОНА — Продажа в Казахстане Цены от официального дилера с доставкой в Алматы, Астану и регионы

Техника доступна в:
Полный спектр услуг:
Для Вашего удобства:
Характеристики и описание
Габариты, схема
Техническая документация
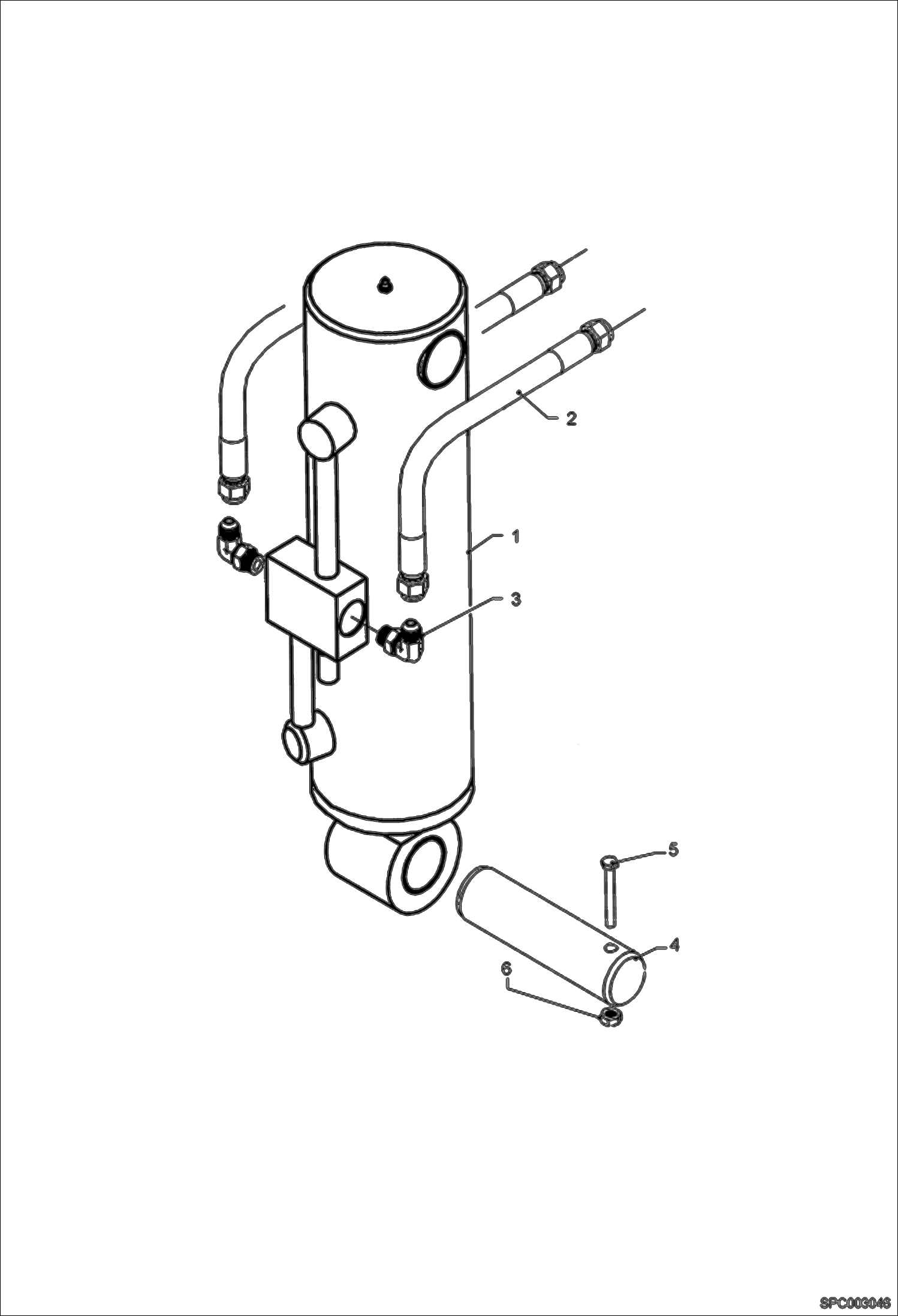
1 Артикул: TILT, TILT CYLINDER NLA - Was 90790.7 - A
2 Артикул: 6917921, CYLINDER, RAM See Illustration TILT CYLINDER/ SPC003175
3 Артикул: 7247212, HOSE, HYD Was 80407.0 - A
4 Артикул: 7244882, FITTING, HYD ELBOW Was 65285.9 - A
5 Артикул: 7214127, PIN Was 80400.5 - A
6 Артикул: 7CM10100, SCREW HEX Was 65397.2 - A
7 Артикул: 7252655, NUT Was 100345-09A - A

УСТАНОВКА ЦИЛИНДРА НАКЛОНА: Техника, которая работает на результат

УСТАНОВКА ЦИЛИНДРА НАКЛОНА на телескопический погрузчик Bobcat T2566 363011001 - 363011999, 363111001 - 363111999

Габаритные размеры

Габаритные размеры и схема УСТАНОВКА ЦИЛИНДРА НАКЛОНА

Нажмите на схему для увеличения

Документация

Документация временно недоступна.

Похожая техника в категории: ГИДРАВЛИЧЕСКАЯ СИСТЕМА (Bobcat)

Спецтехника ГИДРАВЛИЧЕСКАЯ СИСТЕМА СТОЯНОЧНОГО ТОРМОЗА (АККУМУЛЯТОР)

ГИДРАВЛИЧЕСКАЯ СИСТЕМА СТОЯНОЧНОГО ТОРМОЗА (АККУМУЛЯТОР)

1Артикул: 690933...
2Артикул: 10167....
3Артикул: 94574....
Подробнее >
Спецтехника БЫСТРОУСТАНАВЛИВАЕМОЕ УСТРОЙСТВО

БЫСТРОУСТАНАВЛИВАЕМОЕ УСТРОЙСТВО

1Артикул: 722515...
2Артикул: 722516...
3Артикул: 722515...
Подробнее >
Спецтехника УСТАНОВКА ДЖОЙСТИКА (БЕЗ АВАРИЙНОГО ОГРАНИЧИТЕЛЯ ХОДА СТРЕЛЫ (AMA))

УСТАНОВКА ДЖОЙСТИКА (БЕЗ АВАРИЙНОГО ОГРАНИЧИТЕЛЯ ХОДА СТРЕЛЫ (AMA))

1Артикул: 691526...
2Артикул: 01593....
3Артикул: 01696....
Подробнее >
Спецтехника ГИДРАВЛИЧЕСКАЯ СИСТЕМА СТРЕЛЫ (СЕРИЙНЫЙ НОМЕР 363111001 - 363112000)

ГИДРАВЛИЧЕСКАЯ СИСТЕМА СТРЕЛЫ (СЕРИЙНЫЙ НОМЕР 363111001 - 363112000)

1Артикул: 96460....
2Артикул: 724494...
3Артикул: 85433....
Подробнее >
Спецтехника АВАРИЙНЫЙ ОГРАНИЧИТЕЛЬ ХОДА СТРЕЛЫ (AMA) - МОНТАЖ

АВАРИЙНЫЙ ОГРАНИЧИТЕЛЬ ХОДА СТРЕЛЫ (AMA) - МОНТАЖ

1Артикул: 691020...
2Артикул: COLLEC...
3Артикул: 691253...
Подробнее >
Спецтехника ПОДЪЕМНОЕ УСТРОЙСТВО И УСТАНОВКА ЦИЛИНДРА КОМПЕНСАЦИИ (СЕРИЙНЫЙ НОМЕР 363011001 - 363012000)

ПОДЪЕМНОЕ УСТРОЙСТВО И УСТАНОВКА ЦИЛИНДРА КОМПЕНСАЦИИ (СЕРИЙНЫЙ НОМЕР 363011001 - 363012000)

1Артикул: 92242....
2Артикул: 691885...
3Артикул: 93131....
Подробнее >
Спецтехника ГИДРАВЛИЧЕСКАЯ СИСТЕМА СТРЕЛЫ (СЕРИЙНЫЙ НОМЕР 363011001 - 363012000)

ГИДРАВЛИЧЕСКАЯ СИСТЕМА СТРЕЛЫ (СЕРИЙНЫЙ НОМЕР 363011001 - 363012000)

1Артикул: 92699....
2Артикул: 724494...
3Артикул: 85433....
Подробнее >
Спецтехника ГИДРАВЛИЧЕСКАЯ СИСТЕМА СТОЯНОЧНОГО ТОРМОЗА

ГИДРАВЛИЧЕСКАЯ СИСТЕМА СТОЯНОЧНОГО ТОРМОЗА

1Артикул: LEVER,...
2Артикул: 691552...
3Артикул: 10167....
Подробнее >
Спецтехника ГИДРАВЛИЧЕСКАЯ СИСТЕМА РАБОЧЕГО ТОРМОЗА

ГИДРАВЛИЧЕСКАЯ СИСТЕМА РАБОЧЕГО ТОРМОЗА

1Артикул: 90807....
2Артикул: 78927....
3Артикул: 000350...
Подробнее >
Спецтехника УСТАНОВКА ДЖОЙСТИКА (С АВАРИЙНЫМ ОГРАНИЧИТЕЛЕМ ХОДА СТРЕЛЫ (AMA))

УСТАНОВКА ДЖОЙСТИКА (С АВАРИЙНЫМ ОГРАНИЧИТЕЛЕМ ХОДА СТРЕЛЫ (AMA))

1Артикул: 691526...
2Артикул: 01593....
3Артикул: 01696....
Подробнее >
Спецтехника ШЛАНГ РУЛЕВОГО УПРАВЛЕНИЯ И ФИТИНГИ (БЕЗ ДЕМПФЕРА)

ШЛАНГ РУЛЕВОГО УПРАВЛЕНИЯ И ФИТИНГИ (БЕЗ ДЕМПФЕРА)

1Артикул: 690980...
2Артикул: 722942...
3Артикул: 008372...
Подробнее >
Спецтехника УПРАВЛЕНИЕ ГИДРАВЛИКОЙ КАБИНЫ

УПРАВЛЕНИЕ ГИДРАВЛИКОЙ КАБИНЫ

1Артикул: 010370...
2Артикул: 67196....
3Артикул: 008372...
Подробнее >