+7 (701) 588 50 05 Телефон для связи
RU

WhatsApp

Позвонить

50 ОПЦИОННЫЕ ЗАПЧАСТИ в Алматы

СИСТЕМА ВИДЕОНАБЛЮДЕНИЯ В СБОРЕ

СИСТЕМА ВИДЕОНАБЛЮДЕНИЯ В СБОРЕ

1Артикул: 537-00043, CCTV ASS`Y
2Артикул: 563-00009, CABLE;CAMERA
3Артикул: 537-00047, MONITOR;CCTV
Подробнее >
5310 FENDER & LADDER-FOR GERMAN

5310 FENDER & LADDER-FOR GERMAN

1Артикул: 621-01806, FENDER & BUCKET
2Артикул: 180307-00335, FENDER KIT;(GERMANY)
3Артикул: 621-01785B, FENDER;FULL (R.H)
Подробнее >
5190 BUCKET - 3.0гЋҐ - CUTTING EDGE

5190 BUCKET - 3.0гЋҐ - CUTTING EDGE

1Артикул: 704-00253A, BUCKET ASS`Y-3.0гЋҐ
2Артикул: 704-00253B, BUCKET ASS`Y-3.0гЋҐ
3Артикул: 230104-00255A, BUCKET ASSY;3.0M3 CUTTING EDGE,2920MM
Подробнее >
LIS В СБОРЕ(ЭЛЕКТРИКА)

LIS В СБОРЕ(ЭЛЕКТРИКА)

1Артикул: 500-00269, LIS ASS`Y-ELECTRIC
2Артикул: 300619-01138, ELECTRIC ASSY;LIS(OPT)
3Артикул: 2549-9098, SWITCH;ROCKER
Подробнее >
КОЛЕСА В СБОРЕ - ОПЦИЯ

КОЛЕСА В СБОРЕ - ОПЦИЯ

1Артикул: K1011732, WHEEL ASS`Y
2Артикул: K1011732A, WHEEL ASS`Y
3Артикул: 278-00100, RIM 19.5X25
Подробнее >
5330 CABIN(1)-ROPS & FOPS

5330 CABIN(1)-ROPS & FOPS

1Артикул: 622-00381A, CABIN ASS`Y
2Артикул: -, CABIN BODY
3Артикул: 2120-2166D19, BOLT
Подробнее >
5180 BUCKET - 3.3гЋҐ - CUTTING EDGE

5180 BUCKET - 3.3гЋҐ - CUTTING EDGE

1Артикул: 704-00268A, BUCKET ASS`Y(3.3гЋҐ-EDGE;CUTTING)
2Артикул: 704-00268B, BUCKET ASS`Y(3.3гЋҐ-EDGE;CUTTING)
3Артикул: 230104-00262A, BUCKET ASSY;3.3M3 CUTTING EDGE,2920MM
Подробнее >
5340 CABIN(2)-ROPS & FOPS

5340 CABIN(2)-ROPS & FOPS

1Артикул: 622-00381A, CABIN ASS`Y
2Артикул: 622-00382, DOOR ASS`Y
3Артикул: 622-00383, . DOOR
Подробнее >
РУКОЯТЬ УДАРНАЯ В СБОРЕ - ЭЛЕКТРИКА

РУКОЯТЬ УДАРНАЯ В СБОРЕ - ЭЛЕКТРИКА

1Артикул: 500-00046B, FLOAT KICK-OUT ASS`Y-OPT.
2Артикул: 2549-9098, SWITCH;ROCKER
3Артикул: K9000353, . LAMP;PILOT
Подробнее >
5130 BUCKET - 2.9гЋҐ - TOOTH

5130 BUCKET - 2.9гЋҐ - TOOTH

1Артикул: 704-00129C, BUCKET ASS`Y
2Артикул: 704-00129E, BUCKET ASS`Y
3Артикул: 230104-00252A, BUCKET ASSY;2.9M3 TOOTH,2920MM
Подробнее >
ТРУБОПРОВОД СЕРВОУПРАВЛЕНИЯ (РЫЧАГ ПЕРЕДАЧИ - 2 КАТУШКИ)

ТРУБОПРОВОД СЕРВОУПРАВЛЕНИЯ (РЫЧАГ ПЕРЕДАЧИ - 2 КАТУШКИ)

1Артикул: K1010338, PILOT PIPING(FNR - 2 SPOOL)
2Артикул: 420212-01860, PIPING,PILOT;KAYABA FNR-2ND 2SPOOL
3Артикул: 426-00254, JOYSTICK VALVE
Подробнее >
СИДЕНИЕ В СБОРЕ

СИДЕНИЕ В СБОРЕ

1Артикул: 901-00040, SEAT ASS`Y
2Артикул: 4901-9036, SEAT
3Артикул: 2114-1898D2, WASHER
Подробнее >
5370 ROTATING BEACON

5370 ROTATING BEACON

1Артикул: 534-00118, ROTATING BEACON ASS`Y
2Артикул: 2549-9098, SWITCH;ROCKER
3Артикул: K9000353, . LAMP;PILOT
Подробнее >
РЕШЕТКА РИДИАТОРА-В ТРОПИЧЕСКИХ УСЛОВИЯХ

РЕШЕТКА РИДИАТОРА-В ТРОПИЧЕСКИХ УСЛОВИЯХ

1Артикул: 623-00051B, GRILL;RADIATOR
2Артикул: 623-00051C, RADIATOR GRILL
3Артикул: 623-00053A, GRILL;RADIATOR
Подробнее >
ЗАДНЯЯ ЛАМПА В СБОРЕ-ЕВРОПА

ЗАДНЯЯ ЛАМПА В СБОРЕ-ЕВРОПА

1Артикул: 534-00093, REAR LAMP ASS`Y
2Артикул: 534-00082, LAMP;REAR
3Артикул: 530-00075, HARNESS;REAR LAMP
Подробнее >
5350 CABIN(3)-ROPS & FOPS

5350 CABIN(3)-ROPS & FOPS

1Артикул: 622-00381A, CABIN ASS`Y
2Артикул: 4903-1224, GLASS
3Артикул: 4903-1225A, GLASS
Подробнее >
ПАЛЛЕТНЫЕ ВИЛЫ В СБОРЕ

ПАЛЛЕТНЫЕ ВИЛЫ В СБОРЕ

1Артикул: 732-00005, PALLET FORK ASS`Y
2Артикул: 195-01793, SUPPORT
3Артикул: 4732-1010, FORK 70X180X1800mm
Подробнее >
5260 SEAT

5260 SEAT

1Артикул: 4901-9036, SEAT
2Артикул: 175932, UPPER ASS`Y
3Артикул: 175933, BACK COVER
Подробнее >
АКУСТИЧЕСКАЯ НОПЛАСТОВАЯ ИЗОЛЯЦИЯ-КАБИНА

АКУСТИЧЕСКАЯ НОПЛАСТОВАЯ ИЗОЛЯЦИЯ-КАБИНА

1Артикул: 161-00670, ACOUSTIC FOAM-CABIN
2Артикул: 161-00671, FOAM;RUETHANE
3Артикул: 161-00672, FOAM;RUETHANE
Подробнее >
РЕКУЛИРУЮЩИЙ КЛАПАН ТРУБОПРОВОДА - 2 КАТУШКИ

РЕКУЛИРУЮЩИЙ КЛАПАН ТРУБОПРОВОДА - 2 КАТУШКИ

1Артикул: K1007194, CONTROL VALVE PIPING
2Артикул: K1007194A, CONTROL VALVE PIPING
3Артикул: K1003040, CONTROL VALVE-2 SPOOL
Подробнее >
5295 LOAD ISOLATION SYSTEM [3136~]

5295 LOAD ISOLATION SYSTEM [3136~]

1Артикул: K1008002, LIS PIPING
2Артикул: K1008002A, LIS PIPING
3Артикул: 460-00006A, ACCUMULATOR KIT
Подробнее >
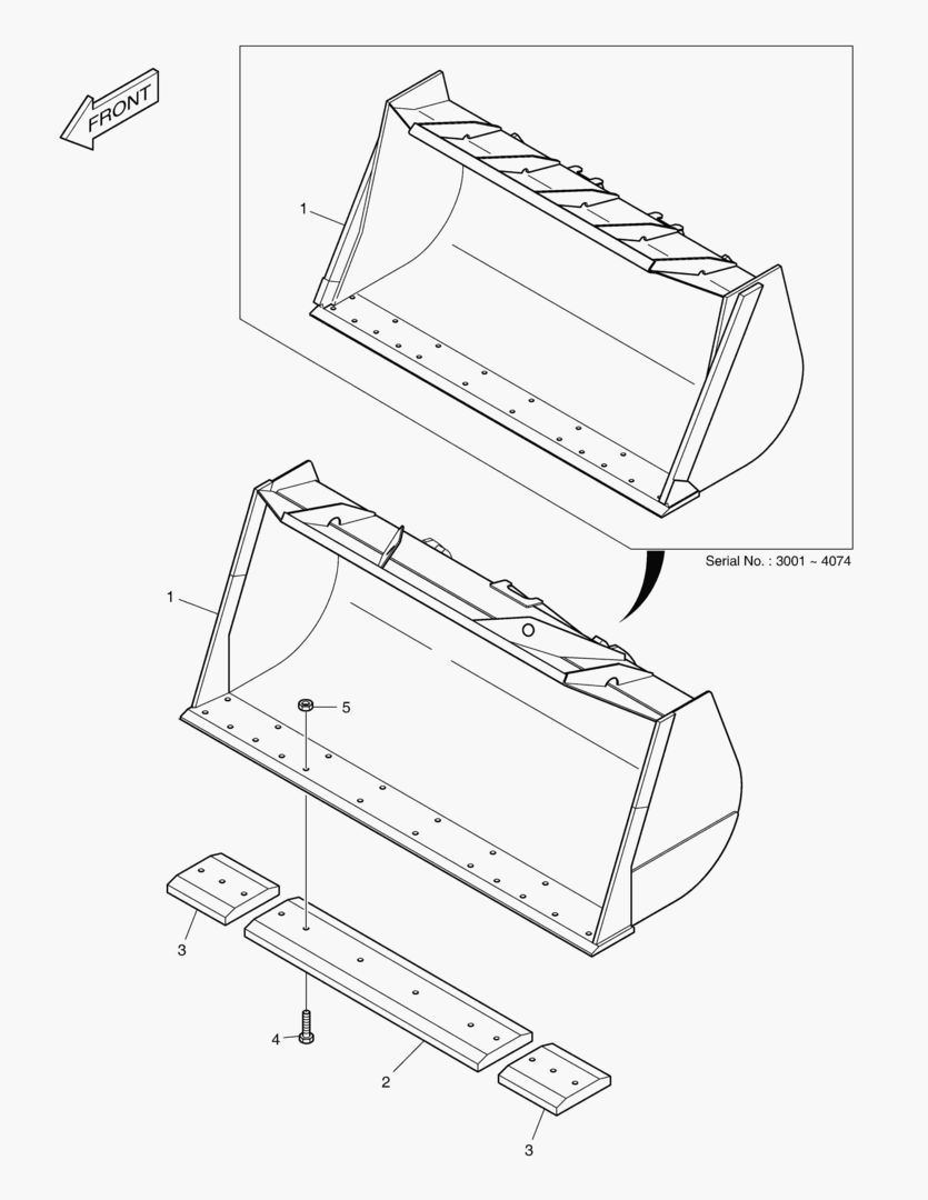
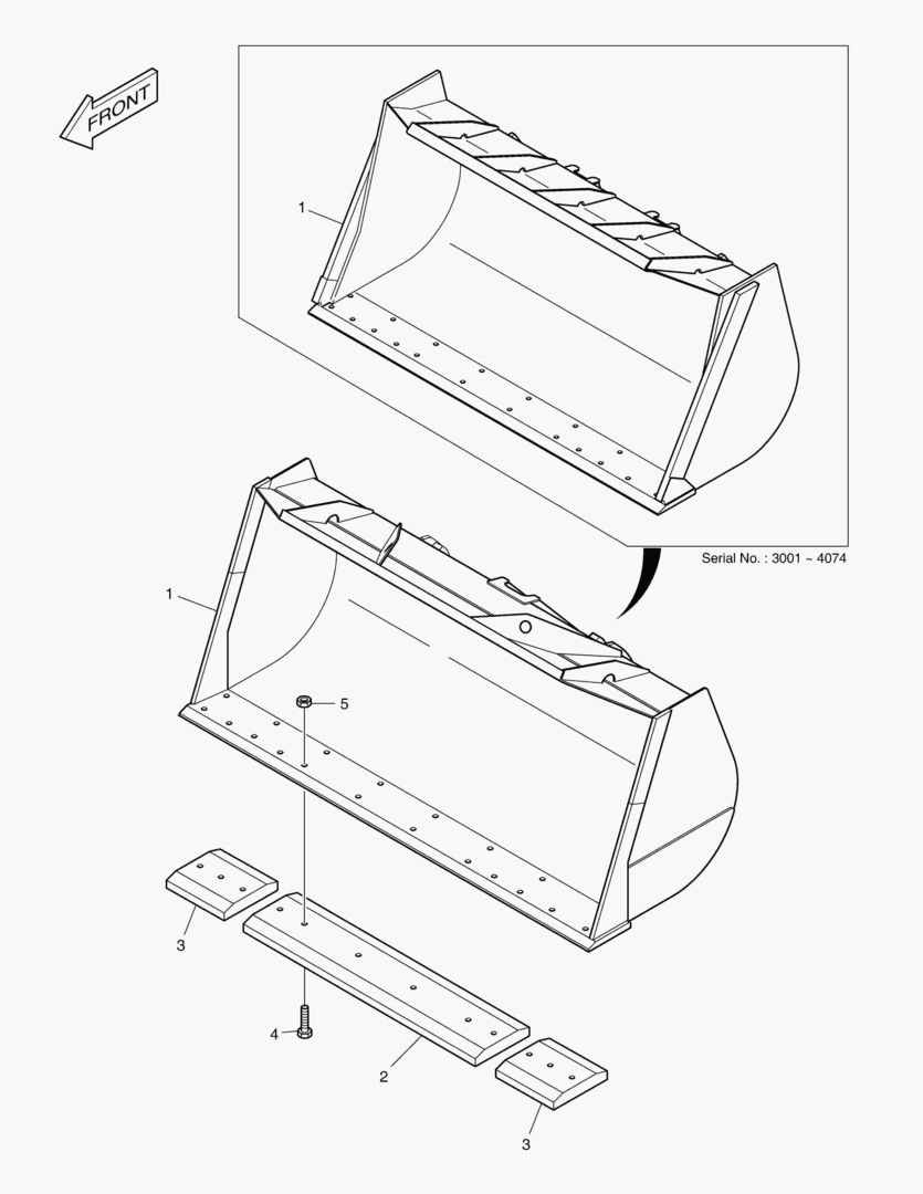
5110 BUCKET - 2.7гЋҐ - TOOTH

5110 BUCKET - 2.7гЋҐ - TOOTH

1Артикул: 704-00140B, BUCKET ASS`Y(2.7гЋҐ-TOOTH)
2Артикул: 704-00140C, BUCKET ASS`Y(2.7гЋҐ-TOOTH)
3Артикул: 230104-00249A, BUCKET ASSY;2.7M3 TOOTH,2730MM
Подробнее >
ТРУБОПРОВОД СЕРВОУПРАВЛЕНИЯ (РЫЧАГ ПЕРЕКЛЮЧЕНИЯ ПЕРЕДАЧИ - 2 КАТУШКИ)

ТРУБОПРОВОД СЕРВОУПРАВЛЕНИЯ (РЫЧАГ ПЕРЕКЛЮЧЕНИЯ ПЕРЕДАЧИ - 2 КАТУШКИ)

1Артикул: K1006826, PILOT PIPING-FNR (2 SPOOL)
2Артикул: 420212-01857, PIPING,PILOT;FNR-2ND 2SPOOL
3Артикул: 426-00254, JOYSTICK VALVE
Подробнее >
АВАРИЙНОЕ РУЛЕВОЕ УПРАВЛЕНИЕ(ЭЛЕКТРИКА)

АВАРИЙНОЕ РУЛЕВОЕ УПРАВЛЕНИЕ(ЭЛЕКТРИКА)

1Артикул: 500-00349, EMERGENCY STEERING-ELEC.
2Артикул: 2549-9110, SWITCH;WASHER
3Артикул: K9000353, . LAMP;PILOT
Подробнее >
5220 EMERGENCY STEERING

5220 EMERGENCY STEERING

1Артикул: 400-01438A, EMERGENCY STEERING PIPING
2Артикул: 420212-01234, PIPING,EMERGENCY STEER
3Артикул: 401-00129A, EMERGENCY DC MOTOR
Подробнее >
5160 BUCKET - 3.1гЋҐ - CUTTING EDGE

5160 BUCKET - 3.1гЋҐ - CUTTING EDGE

1Артикул: 704-00219A, BUCKET ASS`Y(3.1гЋҐ-EDGE;CUTTING)
2Артикул: 704-00219B, BUCKET ASS`Y(3.1гЋҐ-EDGE;CUTTING)
3Артикул: 230104-00259A, BUCKET ASSY;3.1M3 CUTTING EDGE,3110MM
Подробнее >
5100 FUEL FILLER PUMP

5100 FUEL FILLER PUMP

1Артикул: 401-00124, FUEL PUMP ASS`Y
2Артикул: 2401-1277A, PUMP;FUEL
3Артикул: 2181-2755B, . ADAPTER
Подробнее >
ФИЛЬТР ШУМОПОДАВЛЕНИЯ(ЗАДНИЙ СТЕКЛООЧИСТИТЕЛЬ)-ЕВРОПА

ФИЛЬТР ШУМОПОДАВЛЕНИЯ(ЗАДНИЙ СТЕКЛООЧИСТИТЕЛЬ)-ЕВРОПА

1Артикул: 471-00076, NOISE FILTER ASS`Y
2Артикул: 530-00224, HARNESS;JOINT
3Артикул: 2471-6062, FILTER,NOISE(BLOWER)
Подробнее >
СИСТЕМА ИЗОЛЯЦИИ НАГРУЗКИ

СИСТЕМА ИЗОЛЯЦИИ НАГРУЗКИ

1Артикул: 400-00340, LIS PIPING
2Артикул: 460-00006A, ACCUMULATOR KIT
3Артикул: 4420-9446C, VALVE;SOLENOID
Подробнее >
5140 BUCKET - 2.9гЋҐ - CUTTING EDGE

5140 BUCKET - 2.9гЋҐ - CUTTING EDGE

1Артикул: 704-00223A, BUCKET ASS`Y
2Артикул: 704-00223B, BUCKET ASS`Y
3Артикул: 230104-00253A, BUCKET ASSY;2.9M3 CUTTING EDGE,2920MM
Подробнее >
5150 BUCKET - 3.1гЋҐ - TOOTH

5150 BUCKET - 3.1гЋҐ - TOOTH

1Артикул: 704-00218B, BUCKET ASS`Y(3.1гЋҐ-TOOTH)
2Артикул: 704-00218C, BUCKET ASS`Y(3.1гЋҐ-TOOTH)
3Артикул: 230104-00258A, BUCKET ASSY;3.1M3 TOOTH,3110MM
Подробнее >
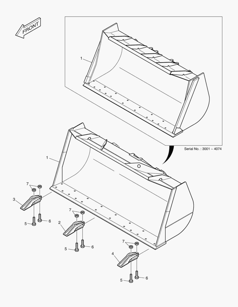
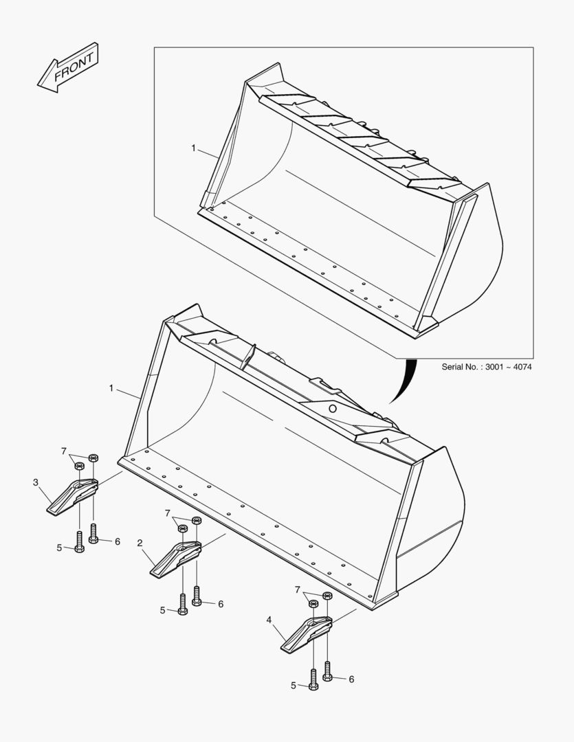
5120 BUCKET - 2.7гЋҐ - CUTTING EDGE

5120 BUCKET - 2.7гЋҐ - CUTTING EDGE

1Артикул: 704-00142A, BUCKET ASS`Y(2.7гЋҐ-EDGE;CUTTING)
2Артикул: 704-00142B, BUCKET ASS`Y(2.7гЋҐ-EDGE;CUTTING)
3Артикул: 230104-00250A, BUCKET ASSY;2.7M3 CUTTING EDGE,2730MM
Подробнее >
РЕШЕТКА РИДИАТОРА-ДЛЯ СИСТЕМЫ ВИДЕОНАБЛЮДЕНИЯ

РЕШЕТКА РИДИАТОРА-ДЛЯ СИСТЕМЫ ВИДЕОНАБЛЮДЕНИЯ

1Артикул: 623-00048B, GRILL;RADIATOR
2Артикул: 623-00048C, GRILL;RADIATOR
3Артикул: 623-00046B, GRILL;RADIATOR
Подробнее >
РУКОЯТЬ УДАРНАЯ В СБОРЕ

РУКОЯТЬ УДАРНАЯ В СБОРЕ

1Артикул: 715-00010A, ARM FLOAT KICK OUT
2Артикул: 195-01209, BRACKET
3Артикул: 621-01078, PLATE
Подробнее >
5170 BUCKET - 3.3гЋҐ - TOOTH

5170 BUCKET - 3.3гЋҐ - TOOTH

1Артикул: 704-00267A, BUCKET ASS`Y(3.3гЋҐ-TOOTH)
2Артикул: 704-00267B, BUCKET ASS`Y(3.3гЋҐ-TOOTH)
3Артикул: 230104-00261A, BUCKET ASSY;3.3M3 TOOTH,2920MM
Подробнее >
ФИЛЬТР В СБОРЕ

ФИЛЬТР В СБОРЕ

1Артикул: 471-00054, FILTER ASS`Y-OPT.
2Артикул: 2471-6062, FILTER,NOISE(BLOWER)
3Артикул: 2471-6063, FILTER;NOISE(CONDENSER)
Подробнее >
КОЛЕСА В СБОРЕ - 23.5XR25XL3

КОЛЕСА В СБОРЕ - 23.5XR25XL3

1Артикул: K1036554, WHEEL ASSY
2Артикул: 278-00100A, RIM 19.5X25
3Артикул: 2.422-00007, . VALVE
Подробнее >
КОЛЕСА В СБОРЕ - ТРЕУГОЛЬНИК

КОЛЕСА В СБОРЕ - ТРЕУГОЛЬНИК

1Артикул: K1011151, WHEEL ASS`Y
2Артикул: 278-00100A, RIM 19.5X25
3Артикул: 2.422-00007, . VALVE
Подробнее >