ГИДРАВЛИЧЕСКАЯ СИСТЕМА в Алматы
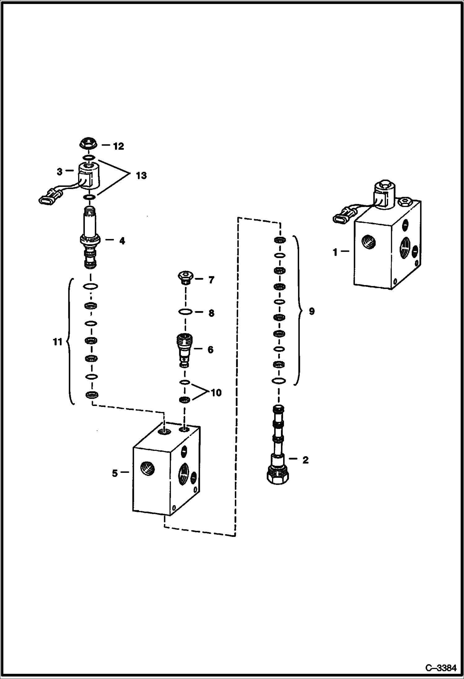
ГИДРОЗАМОК НАКЛОНА
1Артикул: 6665108, VALVE Ref. 2-11
2Артикул: 6667125, VALVE
3Артикул: COIL, COIL NLA - W/O Diode - Was 6667138 - A
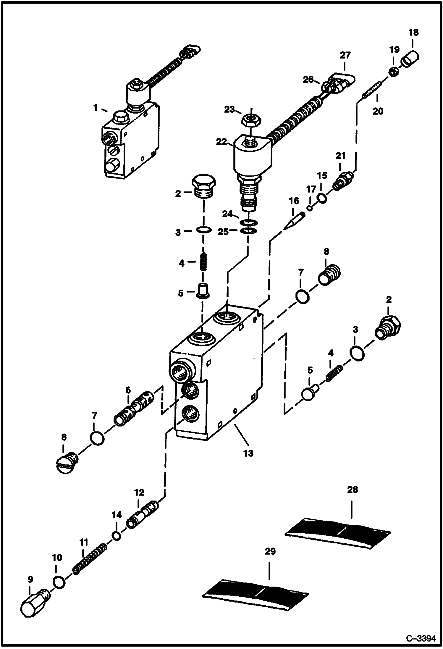
КЛАПАН РЕГУЛИРОВКИ ПОЛОЖЕНИЯ КОВША
1Артикул: 6673958, VALVE W/Ref. 2 - 22 - Was 6666342 - A
2Артикул: 6647784, PLUG W/Ref. 3
3Артикул: 79K10, O RING 10
РЕГУЛИРУЮЩИЙ КЛАПАН
1Артикул: 6669982, VALVE Was 6631419 - A
2Артикул: 6631530, SECTION outlet
3Артикул: 25K40316, O RING 10
СХЕМА ГИДРАВЛИЧЕСКОЙ СИСТЕМЫ
1Артикул: 6588974, CYLINDER, TILT See Illustration TILT CYLINDER/ B13926 TILT
2Артикул: 6800789, HOSE W/Cover - Was 6595808 - A
3Артикул: 6567045, BLOCK Was 6576017 - A
ЦИЛИНДР ПОДЪЕМА
1Артикул: 6595512, CYLINDER Ref. 2 - 17
2Артикул: 6595958, CASE
3Артикул: 92D14, NUT
ВСПОМОГАТЕЛЬНАЯ ГИДРАВЛИЧЕСКАЯ ЦЕПЬ
1Артикул: 6850032, HOSE Was 6595319 - A
2Артикул: 6568938, TUBE
3Артикул: 6568939, TUBE
ГИДРОЗАМОК ПОДЪЕМА
1Артикул: 6665109, VALVE Ref. 2-12
2Артикул: 6665490, VALVE
3Артикул: 6665609, CHECK VALVE
ЦИЛИНДР НАКЛОНА
1Артикул: 6588974, CYLINDER, TILT W/Ref. 2 - 17 - Counter bore on rod side of piston
2Артикул: 6588973, CASE
3Артикул: 6810539, NUT Was 6804592 - A