+7 (701) 588 50 05 Телефон для связи
RU

WhatsApp

Позвонить

ЦИЛИНДР КОВША И РУКОЯТЬ СТРЕЛЫ ЧЕРПАКА 923S И 923SA — Продажа в Казахстане Цены от официального дилера с доставкой в Алматы, Астану и регионы

Техника доступна в:
Полный спектр услуг:
Для Вашего удобства:
Характеристики и описание
Габариты, схема
Техническая документация
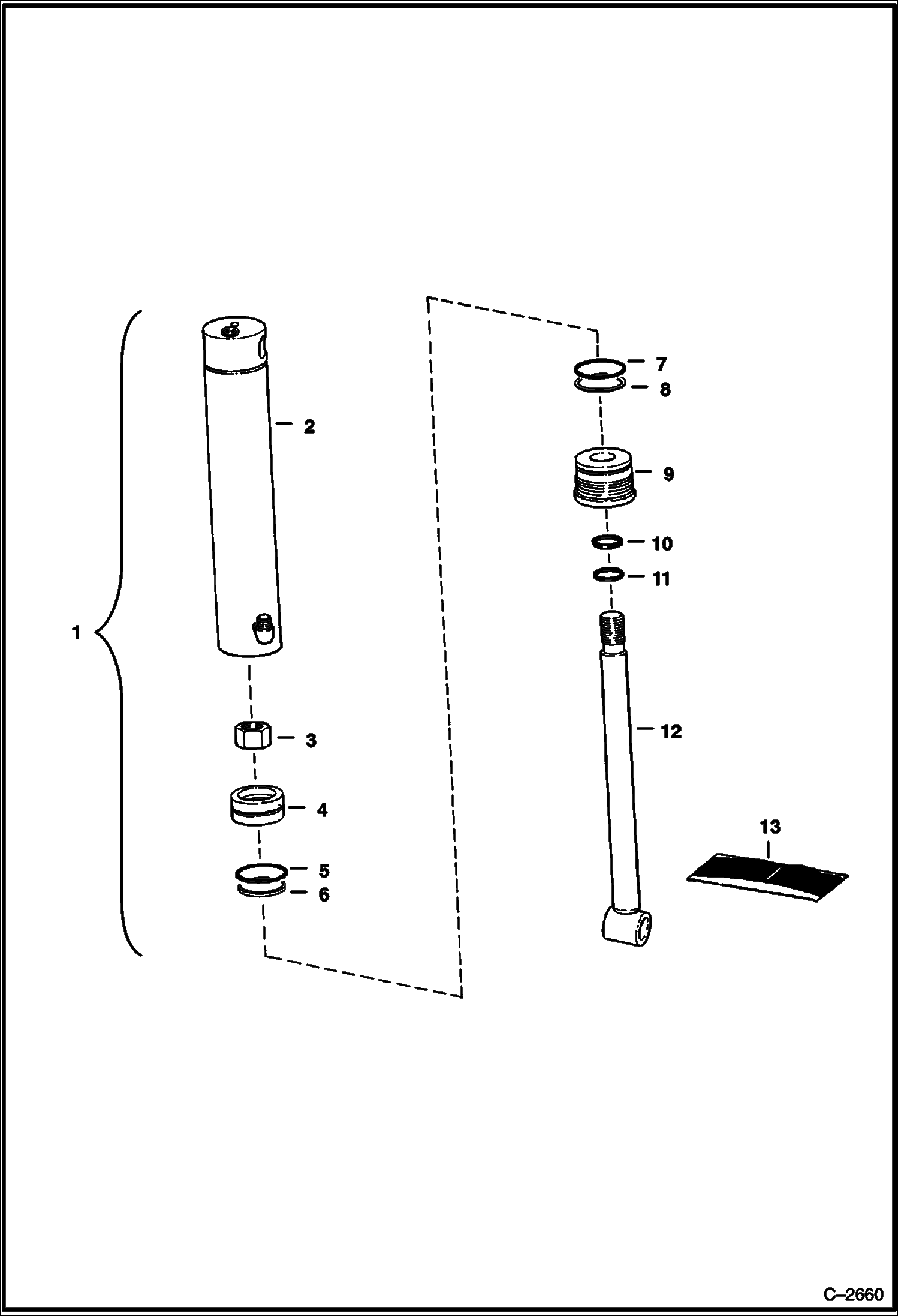
1 Артикул: 6591927, CYLINDER W/Ref. 2-12
2 Артикул: 6592022, CASE
3 Артикул: 6803253, NUT Was 86D000018B - A
4 Артикул: 6803870, PISTON Was 6553912 - A
5 Артикул: 25K30218, O RING 10 Was 54K30218 - B
6 Артикул: 947088, RING, BACK-UP Was NSS - D
7 Артикул: 25K40224, RING,O Was 54K40224 - B
8 Артикул: 73K232, RING, BACK-UP back-up - Was 80K232 - A
9 Артикул: HEAD, HEAD NLA - Was 6531649 - A
10 Артикул: 6667326, SEAL Rod - Was 6538141 - A
11 Артикул: 6690707, WIPER, ROD CYL Was 6665086 - A
12 Артикул: 6529274, SHAFT ASSY.
13 Артикул: 6803272, SEAL KIT Ref. 5-8, 10 & 11 - Was 6589798 - A

ЦИЛИНДР КОВША И РУКОЯТЬ СТРЕЛЫ ЧЕРПАКА 923S И 923SA: Техника, которая работает на результат

ЦИЛИНДР КОВША И РУКОЯТЬ СТРЕЛЫ ЧЕРПАКА 923S И 923SA на навесное оборудование Bobcat BOBCAT ЭКСКАВАТОР-ПОГРУЗЧИК БОКОВОЕ СМЕЩЕНИЕ ВИЛ ПОГРУЗЧИКА

Габаритные размеры

Габаритные размеры и схема ЦИЛИНДР КОВША И РУКОЯТЬ СТРЕЛЫ ЧЕРПАКА 923S И 923SA

Нажмите на схему для увеличения

Документация

Документация временно недоступна.

Похожая техника в категории: 923S ЭКСКАВАТОР-ПОГРУЗЧИК (Bobcat)

Спецтехника КОМПЛЕКТ КРОНШТЕЙНА - 753 923S

КОМПЛЕКТ КРОНШТЕЙНА - 753 923S

1Артикул: KIT, K...
2Артикул: 653169...
3Артикул: 653169...
Подробнее >
Спецтехника СХЕМА ГИДРАВЛИЧЕСКОЙ СИСТЕМЫ - СТРЕЛА 923S И 923SA

СХЕМА ГИДРАВЛИЧЕСКОЙ СИСТЕМЫ - СТРЕЛА 923S И 923SA

1Артикул: 79K8, ...
2Артикул: 15K6, ...
3Артикул: VALVE,...
Подробнее >
Спецтехника КОВШИ ЭКСКАВАТОРА-ПОГРУЗЧИКА 923S И 923SA ЭКСКАВАТОР-ПОГРУЗЧИК

КОВШИ ЭКСКАВАТОРА-ПОГРУЗЧИКА 923S И 923SA ЭКСКАВАТОР-ПОГРУЗЧИК

1Артикул: BUCKET...
2Артикул: 659318...
3Артикул: 659318...
Подробнее >
Спецтехника УСТРОЙСТВА УПРАВЛЕНИЯ 923S И 923SA

УСТРОЙСТВА УПРАВЛЕНИЯ 923S И 923SA

1Артикул: 653260...
2Артикул: 661007...
3Артикул: 7D6, N...
Подробнее >
Спецтехника САЛАЗКИ - ПОВОРОТНАЯ ПЛАТФОРМА 923S И 923SA

САЛАЗКИ - ПОВОРОТНАЯ ПЛАТФОРМА 923S И 923SA

1Артикул: 653189...
2Артикул: 17C104...
3Артикул: 85D10,...
Подробнее >
Спецтехника ЦИЛИНДР СТРЕЛЫ 923S И 923SA

ЦИЛИНДР СТРЕЛЫ 923S И 923SA

1Артикул: 659218...
2Артикул: 659212...
3Артикул: 681053...
Подробнее >
Спецтехника АВТОСЦЕПКА В СБОРЕ 923S И 923SA

АВТОСЦЕПКА В СБОРЕ 923S И 923SA

1Артикул: 656260...
2Артикул: WHEEL,...
3Артикул: HOUSIN...
Подробнее >
Спецтехника КОМПЛЕКТ ВСПОМОГАТЕЛЬНОЙ ГИДРАВЛИКИ 923S

КОМПЛЕКТ ВСПОМОГАТЕЛЬНОЙ ГИДРАВЛИКИ 923S

1Артикул: KIT, K...
2Артикул: 791979...
3Артикул: 664668...
Подробнее >
Спецтехника ЦИЛИНДР ПОВОРОТА 923S И 923SA

ЦИЛИНДР ПОВОРОТА 923S И 923SA

1Артикул: 653857...
2Артикул: 653858...
3Артикул: 666520...
Подробнее >
Спецтехника СТАБИЛИЗАТОР ЦИЛИНДРА С УРАВНОВЕШИВАЮЩИМ КЛАПАНОМ 923S И 923SA

СТАБИЛИЗАТОР ЦИЛИНДРА С УРАВНОВЕШИВАЮЩИМ КЛАПАНОМ 923S И 923SA

1Артикул: 658984...
2Артикул: 659500...
3Артикул: 92D12,...
Подробнее >
Спецтехника РАМА ШАССИ 923S И 923SA

РАМА ШАССИ 923S И 923SA

1Артикул: 658997...
2Артикул: MAIN, ...
3Артикул: 653197...
Подробнее >
Спецтехника ЦИЛИНДР ПОВОРОТА - TEXAS ГИДРАВЛИКА 923S И 923SA

ЦИЛИНДР ПОВОРОТА - TEXAS ГИДРАВЛИКА 923S И 923SA

1Артикул: CYLIND...
2Артикул: 653231...
3Артикул: SEAL, ...
Подробнее >