+7 (701) 588 50 05 Телефон для связи
RU

WhatsApp

Позвонить

ЭКСКАВАТОР-ПОГРУЗЧИК (ЦИЛИНДР КОВША) (911B) — Продажа в Казахстане Цены от официального дилера с доставкой в Алматы, Астану и регионы

Техника доступна в:
Полный спектр услуг:
Для Вашего удобства:
Характеристики и описание
Габариты, схема
Техническая документация
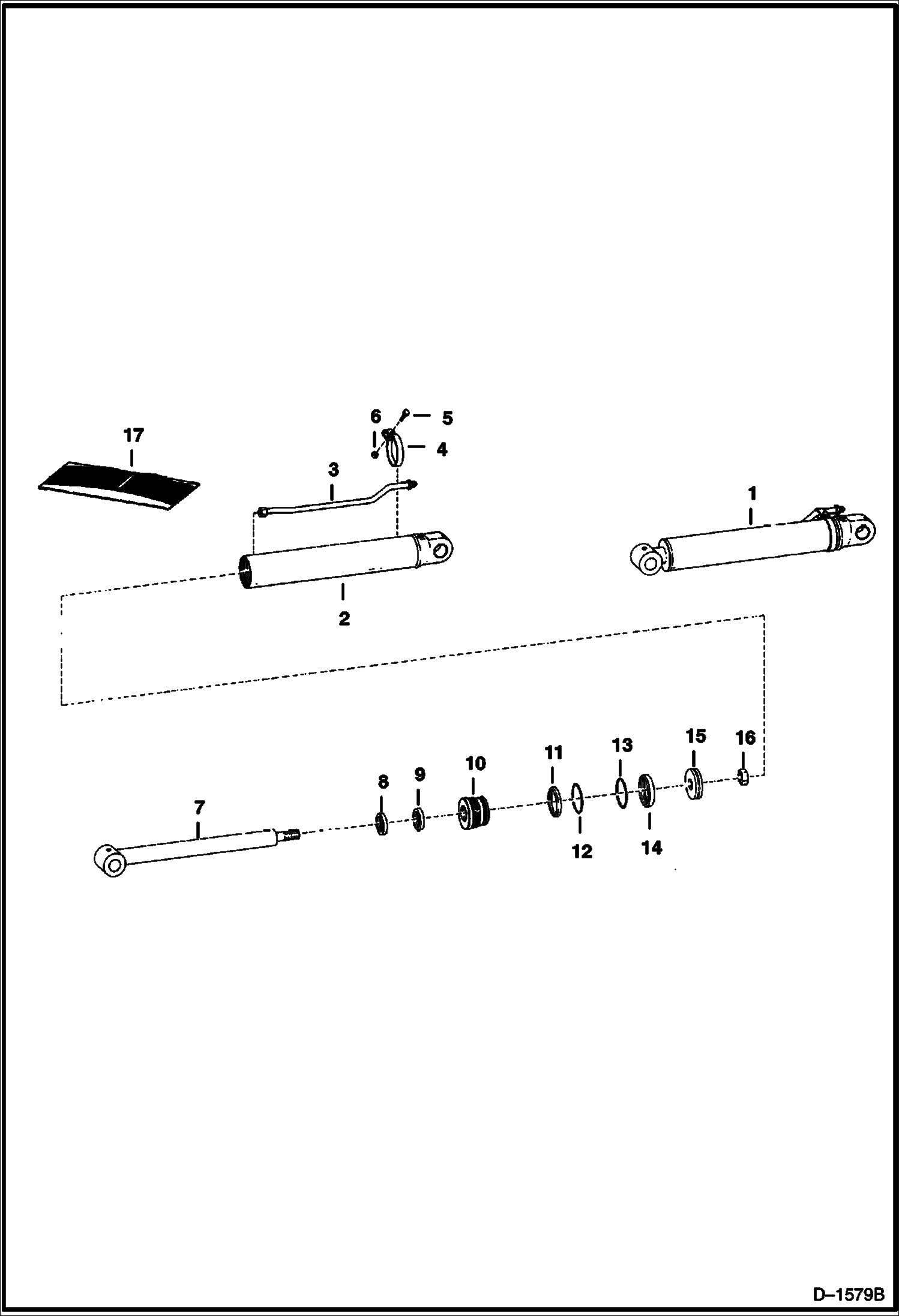
1 Артикул: CYLINDER, CYLINDER NLA - W/tube - Order 6591977 cyl. & 6529332 hose
2 Артикул: 6591977, CYLINDER W/O tube - Ref. 7-16
3 Артикул: 6592039, CASE
4 Артикул: 6591973, TUBE
5 Артикул: 6591976, CLAMP
6 Артикул: 17C520, BOLT 5
7 Артикул: 85D5, NUT 5
8 Артикул: 6591982, PISTON ROD piston
9 Артикул: 6686998, WIPER, ROD CYL Was 6666545 - A
10 Артикул: 6538277, SEAL u-cup - Was NSS - D
11 Артикул: 6546508, HEAD
12 Артикул: 73K232, RING, BACK-UP back-up - Was 80K232 - A
13 Артикул: 58K232, O RING 10 Was NSS - D
14 Артикул: 25K30218, O RING 10 Was NSS - D
15 Артикул: 947088, RING, BACK-UP slipper - Was NSS - D
16 Артикул: 6803870, PISTON Was 6553912 - A
17 Артикул: 6810539, NUT Was 86D000018B - A
18 Артикул: 6587994, SEAL KIT Ref. 8, 9, & 11-14 - Was 6538280 - A

ЭКСКАВАТОР-ПОГРУЗЧИК (ЦИЛИНДР КОВША) (911B): Техника, которая работает на результат

ЭКСКАВАТОР-ПОГРУЗЧИК (ЦИЛИНДР КОВША) (911B) на bobcat экскаватор-погрузчик Bobcat ПОГРУЗЧИК 911B

Габаритные размеры

Габаритные размеры и схема ЭКСКАВАТОР-ПОГРУЗЧИК (ЦИЛИНДР КОВША) (911B)

Нажмите на схему для увеличения

Документация

Документация временно недоступна.

Похожая техника в категории: 914B ЭКСКАВАТОР-ПОГРУЗЧИК (Bobcat)

Спецтехника ЭКСКАВАТОР-ПОГРУЗЧИК (ГИДРАВЛИКА ВСПОМОГАТЕЛЬНОГО ОБОРУДОВАНИЯ, РАСПОЛОЖЕННОГО СЗАДИ) (2400) (2410 509212177 И ВЫШЕ)

ЭКСКАВАТОР-ПОГРУЗЧИК (ГИДРАВЛИКА ВСПОМОГАТЕЛЬНОГО ОБОРУДОВАНИЯ, РАСПОЛОЖЕННОГО СЗАДИ) (2400) (2410 509212177 И ВЫШЕ)

1Артикул: 653728...
2Артикул: 85D8, ...
3Артикул: 61D8, ...
Подробнее >
Спецтехника ЭКСКАВАТОР-ПОГРУЗЧИК (ГИДРАВЛИКА ВСПОМОГАТЕЛЬНОГО ОБОРУДОВАНИЯ, РАСПОЛОЖЕННОГО СЗАДИ) (2400) (2410 509212335 И ВЫШЕ)

ЭКСКАВАТОР-ПОГРУЗЧИК (ГИДРАВЛИКА ВСПОМОГАТЕЛЬНОГО ОБОРУДОВАНИЯ, РАСПОЛОЖЕННОГО СЗАДИ) (2400) (2410 509212335 И ВЫШЕ)

1Артикул: 665051...
2Артикул: 17K8, ...
3Артикул: 653212...
Подробнее >
Спецтехника ЭКСКАВАТОР-ПОГРУЗЧИК (ГИДРАВЛИКА ВСПОМОГАТЕЛЬНОГО ОБОРУДОВАНИЯ, РАСПОЛОЖЕННОГО СЗАДИ) (2400) (2410 509212001 - 12334)

ЭКСКАВАТОР-ПОГРУЗЧИК (ГИДРАВЛИКА ВСПОМОГАТЕЛЬНОГО ОБОРУДОВАНИЯ, РАСПОЛОЖЕННОГО СЗАДИ) (2400) (2410 509212001 - 12334)

1Артикул: 665051...
2Артикул: 77F8, ...
3Артикул: 653212...
Подробнее >
Спецтехника ЭКСКАВАТОР-ПОГРУЗЧИК (СЕКЦИЯ ЧЕРПАКА) (911B) (914B)

ЭКСКАВАТОР-ПОГРУЗЧИК (СЕКЦИЯ ЧЕРПАКА) (911B) (914B)

1Артикул: 664767...
2Артикул: 664770...
3Артикул: O-RING...
Подробнее >
Спецтехника ЭКСКАВАТОР-ПОГРУЗЧИК (РАМА ШАССИ) (914B)

ЭКСКАВАТОР-ПОГРУЗЧИК (РАМА ШАССИ) (914B)

1Артикул: CAP, C...
2Артикул: 31C122...
3Артикул: 659389...
Подробнее >
Спецтехника ЭКСКАВАТОР-ПОГРУЗЧИК (РЫЧАГ ИЗМЕНЕНИЯ РАССТОЯНИЯ, ПРОХОДИМОГО УПРУГИМ КОЛЕСОМ ЗА 1 ОБОРОТ, ПРИ ПЕРЕДАЧЕ ТЯГОВОГО МОМЕНТА) (911B)

ЭКСКАВАТОР-ПОГРУЗЧИК (РЫЧАГ ИЗМЕНЕНИЯ РАССТОЯНИЯ, ПРОХОДИМОГО УПРУГИМ КОЛЕСОМ ЗА 1 ОБОРОТ, ПРИ ПЕРЕДАЧЕ ТЯГОВОГО МОМЕНТА) (911B)

1Артикул: 663103...
2Артикул: 62D4, ...
3Артикул: 664649...
Подробнее >
Спецтехника ЭКСКАВАТОР-ПОГРУЗЧИК (РАМА ШАССИ) (911B)

ЭКСКАВАТОР-ПОГРУЗЧИК (РАМА ШАССИ) (911B)

1Артикул: CAP, C...
2Артикул: 31C122...
3Артикул: 659389...
Подробнее >
Спецтехника ЭКСКАВАТОР-ПОГРУЗЧИК (СТРЕЛА И РУКОЯТЬ СТРЕЛЫ ЧЕРПАКА) (911B)

ЭКСКАВАТОР-ПОГРУЗЧИК (СТРЕЛА И РУКОЯТЬ СТРЕЛЫ ЧЕРПАКА) (911B)

1Артикул: 22J24,...
2Артикул: 231924...
3Артикул: 656039...
Подробнее >
Спецтехника ЭКСКАВАТОР-ПОГРУЗЧИК (ИНДИКАТОР ПОЛОЖЕНИЯ ЦИЛИНДРОВОГО ЗАМКА) (KIT #6537285) (2400) (2410)

ЭКСКАВАТОР-ПОГРУЗЧИК (ИНДИКАТОР ПОЛОЖЕНИЯ ЦИЛИНДРОВОГО ЗАМКА) (KIT #6537285) (2400) (2410)

1Артикул: 661051...
2Артикул: 14D6, ...
3Артикул: 12E6, ...
Подробнее >
Спецтехника ЭКСКАВАТОР-ПОГРУЗЧИК (ЦИЛИНДР СТРЕЛЫ) (914B)

ЭКСКАВАТОР-ПОГРУЗЧИК (ЦИЛИНДР СТРЕЛЫ) (914B)

1Артикул: 652970...
2Артикул: 652969...
3Артикул: 659310...
Подробнее >
Спецтехника ЭКСКАВАТОР-ПОГРУЗЧИК (СЕКЦИЯ ВСПОМОГАТЕЛЬНОГО ОБОРУДОВАНИЯ ЗАДНЕЙ ЧАСТИ) (ВСПОМОГАТЕЛЬНЫЙ КЛАПАН ЗАДНЕЙ ЧАСТИ)

ЭКСКАВАТОР-ПОГРУЗЧИК (СЕКЦИЯ ВСПОМОГАТЕЛЬНОГО ОБОРУДОВАНИЯ ЗАДНЕЙ ЧАСТИ) (ВСПОМОГАТЕЛЬНЫЙ КЛАПАН ЗАДНЕЙ ЧАСТИ)

1Артикул: 664770...
2Артикул: 664768...
3Артикул: 664768...
Подробнее >
Спецтехника ЭКСКАВАТОР-ПОГРУЗЧИК (ГИДРАВЛИКА ВСПОМОГАТЕЛЬНОГО ОБОРУДОВАНИЯ, РАСПОЛОЖЕННОГО СЗАДИ) (2400) (2410 509212001 - 12176)

ЭКСКАВАТОР-ПОГРУЗЧИК (ГИДРАВЛИКА ВСПОМОГАТЕЛЬНОГО ОБОРУДОВАНИЯ, РАСПОЛОЖЕННОГО СЗАДИ) (2400) (2410 509212001 - 12176)

1Артикул: KIT, K...
2Артикул: 85D8, ...
3Артикул: 61D8, ...
Подробнее >