+7 (701) 588 50 05 Телефон для связи
RU

WhatsApp

Позвонить

КОМПЛЕКТ СИГНАЛА ЗАДНЕГО ХОДА — Продажа в Казахстане Цены от официального дилера с доставкой в Алматы, Астану и регионы

Техника доступна в:
Полный спектр услуг:
Для Вашего удобства:
Характеристики и описание
Габариты, схема
Техническая документация
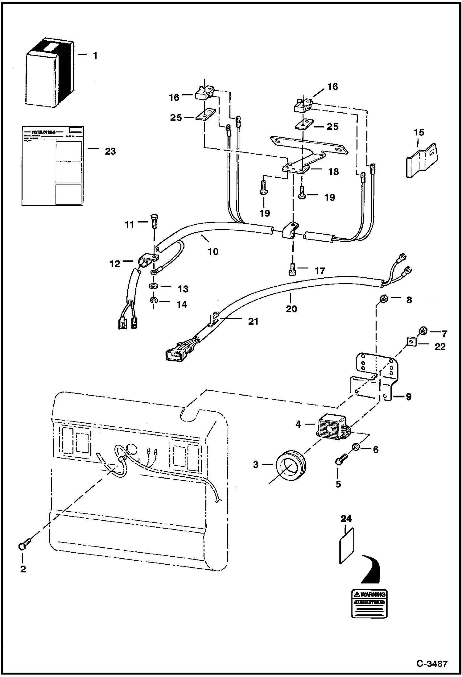
1 Артикул: 6718822, KIT back-up alarm - Ref. 2-24
2 Артикул: 10C512, BOLT Was 37C000512B - B
3 Артикул: 6577545, GROMMET
4 Артикул: 6651512, ALARM, BACK-UP Was 6599931 - A
5 Артикул: 6668879, DECAL
6 Артикул: 17C410, BOLT 10 grade 8
7 Артикул: 35C410, BOLT 5 grade 5 flanged head
8 Артикул: 25E13, WASHER 5 Use W/Ref. 5 (17C410 bolt)
9 Артикул: 57D5, NUT Was 61D000005B - B
10 Артикул: 83D4, NUT 10 grade 8 flanged locknut
11 Артикул: 97D4, NUT grade 5 flanged locknut
12 Артикул: 6733970, MOUNT
13 Артикул: 6718820, HARNESS
14 Артикул: 17C412, BOLT 5 not in kit
15 Артикул: 30H19, CLIP insulated
16 Артикул: 6E4, WASHER 10 not in kit
17 Артикул: 61D4, NUT 5 not in kit
18 Артикул: 6713793, BRACKET switch
19 Артикул: 6646781, SWITCH alarm
20 Артикул: 84G3112, BOLT 5
21 Артикул: 7100153, MOUNT switch - Was 6713792 - A
22 Артикул: 59G616, SCREW 10
23 Артикул: 6715659, HARNESS Use on machines W/O rear lights - W/Ref. 21
24 Артикул: 6672492, RETAINER
25 Артикул: 774220, NUT
26 Артикул: 6900857, INSTRUCTIONS
27 Артикул: 6737189, DECAL, WARNING backup alarm
28 Артикул: 6702593, SPACER

КОМПЛЕКТ СИГНАЛА ЗАДНЕГО ХОДА: Техника, которая работает на результат

КОМПЛЕКТ СИГНАЛА ЗАДНЕГО ХОДА на Bobcat 800s Bobcat 864 516811001 - 516814999, 516815001 И ВЫШЕ, 517511001 - 517514999, 517515001 И ВЫШЕ, 518911001 - 518914999, 518915001 И ВЫШЕ

Габаритные размеры

Габаритные размеры и схема КОМПЛЕКТ СИГНАЛА ЗАДНЕГО ХОДА

Нажмите на схему для увеличения

Документация

Документация временно недоступна.

Похожая техника в категории: АКСЕСCУАРЫ И ОПЦИИ (Bobcat)

Спецтехника ПОБЛЕСКОВЫЙ МАЯЧОК

ПОБЛЕСКОВЫЙ МАЯЧОК

1Артикул: 671985...
2Артикул: 671887...
3Артикул: 666531...
Подробнее >
Спецтехника РЕМЕНЬ БЕЗОПАСНОСТИ (3-- ШИРОКИЙ)

РЕМЕНЬ БЕЗОПАСНОСТИ (3-- ШИРОКИЙ)

1Артикул: 670364...
2Артикул: 670370...
3Артикул: 663020...
Подробнее >
Спецтехника ЗАДНИЙ ВСПОМОГАТЕЛЬНЫЙ КЛАПАН

ЗАДНИЙ ВСПОМОГАТЕЛЬНЫЙ КЛАПАН

1Артикул: 666557...
2Артикул: 667615...
3Артикул: BODY, ...
Подробнее >
Спецтехника ОЧИСТНОЕ УСТРОЙСТВО

ОЧИСТНОЕ УСТРОЙСТВО

1Артикул: 667382...
2-
3-
Подробнее >
Спецтехника НАКЛЕЙКИ НАРУЖНИЕ

НАКЛЕЙКИ НАРУЖНИЕ

1Артикул: DECAL,...
2Артикул: 716803...
3-
Подробнее >
Спецтехника ОБОГРЕВАТЕЛЬ И КОНДИЦИОНЕР (КОМЛЕКТ КОНДИЦИОНЕРА)

ОБОГРЕВАТЕЛЬ И КОНДИЦИОНЕР (КОМЛЕКТ КОНДИЦИОНЕРА)

1Артикул: 672649...
2Артикул: 655783...
3Артикул: 662428...
Подробнее >
Спецтехника СТЕКЛООЧИСТИТЕЛЬ ЗАДНЕГО СТЕКЛА

СТЕКЛООЧИСТИТЕЛЬ ЗАДНЕГО СТЕКЛА

1Артикул: 672665...
2Артикул: HOSE, ...
3Артикул: 671931...
Подробнее >
Спецтехника ФУНКЦИЯ ШУМОПОГЛОЩЕНИЯ (МЕСТНЫЙ) (85 ДБ)

ФУНКЦИЯ ШУМОПОГЛОЩЕНИЯ (МЕСТНЫЙ) (85 ДБ)

1Артикул: 656261...
2Артикул: 656261...
3Артикул: 657939...
Подробнее >
Спецтехника КОМПЛЕКТ МЕХАНИЗМОВ ПОДЪЕМА

КОМПЛЕКТ МЕХАНИЗМОВ ПОДЪЕМА

1Артикул: 714200...
2Артикул: 653389...
3Артикул: 656783...
Подробнее >
Спецтехника КОМПЛЕКТ КЛАКСОНОВ

КОМПЛЕКТ КЛАКСОНОВ

1Артикул: HORN, ...
2Артикул: 672799...
3Артикул: 17C410...
Подробнее >
Спецтехника КОРПУС КАБИНЫ (ЧЕХОЛ)

КОРПУС КАБИНЫ (ЧЕХОЛ)

1Артикул: 667554...
2Артикул: 667559...
3Артикул: 667559...
Подробнее >
Спецтехника РЕМЕНЬ БЕЗОПАСНОСТИ (3 ИЗМЕНЯЕМЫХ ТОЧКИ КРЕПЛЕНИЯ)

РЕМЕНЬ БЕЗОПАСНОСТИ (3 ИЗМЕНЯЕМЫХ ТОЧКИ КРЕПЛЕНИЯ)

1Артикул: 673221...
2Артикул: 667440...
3Артикул: 667930...
Подробнее >